Operation CHARM: Car repair manuals for everyone.
Manuals through 2025 now available!

Our trusted friends have launched a new website named LEMON, which has newer manuals. It also contains all the CHARM manuals.

LEMON is the spiritual successor to CHARM, I recommend you try it!

Link: lemon-manuals.la or lemon-manuals.org.ua

(Some people have issue connecting. LEMON is investigating. For now, use Firefox or change your DNS server)

Or, hide this message: temporarily or permanently

Part 1

Cylinder Block








REMOVAL

NOTE: Before conducting this procedure, drain the engine oil completely.

1. Remove the V-belts.
2. Remove the crank pulley.
3. Remove the front chain cover.
4. Remove the timing chain assembly.
5. Remove the cam sprocket.
6. Remove the crank sprocket.
7. Remove the rear chain cover.
8. Remove the camshaft.
9. Remove the cylinder head.
10. Use the ST to lock the crankshaft, and remove the drive plate.
ST1 498497100 CRANKSHAFT STOPPER
ST2 499057000 TORX PLUS





11. Remove the crankshaft position sensor plate.





12. Remove the crankshaft position sensor bracket.





13. Rotate the engine to set oil pan upper.
14. Remove the bolts which secure oil pan lower to oil pan upper.





15. Insert an oil pan cutter blade between cylinder block-to-oil pan clearance and remove the oil pan.

CAUTION: Do not use a screwdriver or similar tools in place of oil pan cutter.

16. Remove the oil strainer.





17. Remove the bolts which install oil pan upper onto cylinder block.

NOTE: Installation bolt has five different sizes. To prevent the confusion in installation, keep these bolts on container individually.





18. Remove the service hole cover and service hole plugs using a hexagon wrench.





19. Rotate the crankshaft to bring #1 and #2 pistons to bottom dead center position, then, using the ST, remove the piston snap ring through service hole of #1 and #2 cylinders.
ST 18233AA000 PISTON PIN SNAP RING PLIERS





20. Draw out the piston pin from #1 and #2 pistons using ST.
ST 499097700 PISTON PIN REMOVER ASSY

NOTE: Be careful not to confuse the original combination of piston, piston pin and cylinder.





21. Similarly remove the piston pins from #3, #4, #5, and #6 pistons.
22. Remove the cylinder block connecting bolts.





23. Separate the cylinder block (LH.and (RH).

NOTE: When separating the cylinder block, do not allow the connecting rod to fall or damage the cylinder block.

24. Remove the rear oil seal.
25. Remove the crankshaft together with connecting rod.
26. Remove the crankshaft bearings from cylinder block using a hammer handle.

NOTE:
^ Be careful not to confuse the crankshaft bearing combination.
^ Press the bearing at the end opposite to locking lip.

27. Draw out each piston from cylinder block using wooden bar or hammer handle.

NOTE: Be careful not to confuse the original combination of piston and cylinder.

INSTALLATION
1. After setting the cylinder block to ST, install the crankshaft bearing.
ST 18232AA000 ENGINE STAND

NOTE: Remove oil on the mating surface of cylinder block before installation. Apply a coat of engine oil to the bearing and crankshaft journal.

2. Position the crankshaft on the cylinder block (RH).
3. Apply liquid gasket to the mating surfaces of cylinder block (RH), and position the cylinder block (LH).

NOTE:
^ Do not allow liquid gasket to run over to oil passages, bearing grooves, etc.
^ Install within 5 minutes after applying liquid gasket.

Liquid gasket: THREE BOND 1217G (Part No. K0877Y0100) or equivalent
Applying liquid gasket diameter. 1.0 ± 0.2 mm (0.039 ± 0.008 in)





4. Apply a coat of engine oil to the washer and bolt thread.
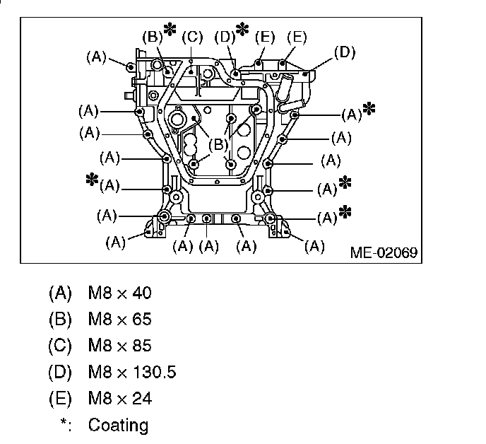
5. Tighten all bolts in the numerical order as shown in the figure.
Tightening torque:
(1) - (11), (13): 25 N-m 2.5 degrees, kgf-m, 18.4 ft-lb)
(12), (14): 20 N-m (2.0 kgf-m, 14.8 ft-lb)





6. Retighten all bolts in the numerical order as shown in the figure.
Tightening torque:
(1) - (11), (13): 25 N-m 2.5 degrees, kgf-m, 18.4 ft-lb)
(12), (14): 20 N-m (2.0 kgf-m, 14.8 ft-lb)





7. Tighten all bolts 90 degrees - 110 degrees in the numerical order as shown in the figure.





8. Install the upper bolt to cylinder block.
Tightening torque: 25 N-m 2.5 degrees, kgf-m, 18.4 ft-lb)

NOTE: After tightening the cylinder block connecting bolts, remove the liquid gasket which is running over to the sealing surface for rear chain cover and oil pan upper.





9. Apply a coat of engine oil to the oil seal periphery, then install the rear oil seal using ST1. and ST2.

NOTE: Use new rear oil seal.
ST1 499597100 CRANKSHAFT OIL SEAL GUIDE
ST2 499587200 CRANKSHAFT OIL SEAL INSTALLER





10. Position the top ring gap at (A) in the figure.
11. Position the second ring gap at (B).





12. Position the upper rail gap at (C) in the figure.
13. Position the expander gap at (D) in the figure.
14. Position the lower rail gap at (E) in the figure.





CAUTION:
^ Make sure ring gaps do not face the same direction.
^ Make sure ring gaps are not within the piston skirt area.
^ Assemble it so that R mark faces to top side of piston.


15. Install the snap ring.
Install the snap rings in the piston holes located opposite to the service holes in cylinder block when positioning all pistons in corresponding cylinders.

NOTE: Use new snap rings.





16. Installing piston:
1. Using ST1. turn the crankshaft so that #3 and #4 connecting rod small ends are set on the service hole (A).
ST1. 18252AA000 CRANKSHAFT SOCKET





2. Apply a thin coat of engine oil to piston and cylinder.
3. Using ST2, press-fit the piston into cylinder.
ST2 18254AA000 PISTON GUIDE





NOTE: Let the piston front mark (A) face towards the front of engine.





17. Installing piston pin:
1. Apply a coat of engine oil to ST3 before insertion, and then insert it into the service hole to align piston pin hole with connecting rod small end.
ST3 18253AA000 PISTON PIN GUIDE





2. Apply a coat of engine oil to piston pin, and insert the piston pin into piston and connecting rod through service hole.
3. Using ST4, install the snap ring.
ST4 18233AA000 PISTON PIN SNAP RING PLIERS

NOTE: Use new snap rings.





4. Similarly install the #1, #2, #5 and #6 pistons.
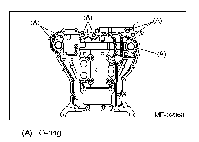
18. Install the service hole plug and O-ring.

NOTE: Use new O-rings.

19. Apply liquid gasket to the mating surface of oil pan upper.

NOTE: Install within 5 minutes after applying liquid gasket.

Liquid gasket: THREE BOND 1217G (Part No. K0877Y0100) or equivalent
Applying liquid gasket diameter.
Full line part 3.0 ± 1.0 mm (0.12 ± 0.04 in)
Broken line part 1.0 mm (0.04 in)





NOTE: Use new O-rings.

20. Temporarily tighten the oil pan upper.

NOTE: Do not install the bolts in wrong place.





21. Tighten the oil pan upper installing bolts in the numerical order as shown in the figure.
Tightening torque: 18 N-m (1) 8 kgf-m, 13.3 ft-lb)





22. Install the oil strainer.
Tightening torque: 6.4 N-m (0.7 kgf-m, 4.7 ft-lb)

NOTE: Use new O-rings.





23. Apply liquid gasket to the matching surface of oil pan lower.

NOTE: Install within 5 minutes after applying liquid gasket.

Liquid gasket: THREE BOND 1217G (Part No. K0877Y0100) or equivalent
Applying liquid gasket diameter. 5.0 ± 4.0 mm (0.20 ± 0.04 in)





24. Tighten the oil pan lower installing bolts in the numerical order as shown in the figure.
Tightening torque: 6.4 N-m (0.7 kgf-m, 4.7 ft-lb)





25. Attach the crankshaft position sensor holder.
Tightening torque: 6.4 N-m (0.7 kgf-m, 4.7 ft-lb)





26. Install the crankshaft sensor plate.





27. Use the ST to lock the crankshaft, and install the drive plate.
ST1 498497100 CRANKSHAFT STOPPER
ST2 499057000 TORX PLUS
Tightening torque: 81 N-m (8.3 kgf-m, 59.7 ft-lb)





28. Install the cylinder head.
29. Install the camshaft.
30. Install the rear chain cover.
31. Install the crank sprocket.
32. Install the cam sprocket.
33. Install the timing chain assembly.
34. Install the front chain cover.
35. Install the crank pulley.
36. Install the V-belts.