Operation CHARM: Car repair manuals for everyone.
Manuals through 2025 now available!

Our trusted friends have launched a new website named LEMON, which has newer manuals. It also contains all the CHARM manuals.

LEMON is the spiritual successor to CHARM, I recommend you try it!

Link: lemon-manuals.la or lemon-manuals.org.ua

(Some people have issue connecting. LEMON is investigating. For now, use Firefox or change your DNS server)

Or, hide this message: temporarily or permanently

Cylinder Head Assembly: Service and Repair

Cylinder Head











REMOVAL

NOTE: When replacing the single part, perform the work with the engine installed to body. Refer to "Valve Clearance" for preparation procedures.

1. Remove the V-belts.
2. Remove the crank pulley.
3. Remove the front chain cover.
4. Remove the timing chain assembly.
5. Remove the cam sprocket.
6. Remove the crank sprocket.
7. Remove the rear chain cover.
8. Remove the camshaft.
9. Remove the cylinder head bolts in the numerical order as shown in the figure.
Leave bolts (2) and (4) engaged by three or four threads to prevent the cylinder head from falling.





10. While tapping the cylinder head with a plastic hammer, separate it from cylinder block.
11. Remove the bolts (2.and (4.to remove cylinder-head.





12. Remove the cylinder head gasket.

CAUTION: Be careful not to scratch the mating surface of cylinder head and cylinder block.

13. Similarly, remove the cylinder head (RH).

INSTALLATION
1. Install the cylinder head and gaskets on cylinder block.

CAUTION: Be careful not to scratch the mating surface of cylinder head and cylinder block.

NOTE: Use new cylinder head gaskets.

2. Tighten the cylinder head bolts.
1. Apply a thin coat of engine oil to washers and cylinder head bolt threads.
2. Mount the cylinder head onto the cylinder block, then tighten the bolts with a torque of 20 N-m (2.0 kgf-m, 14.8 ft-lb) in the order indicated in the figure.
3. Tighten the bolts with a torque of 50 N-m (5.1 kgf-m, 36.9 ft-lb) in the order indicated in the figure.
4. Loosen all the bolts by 180 degrees in the reverse order of installing, and loosen them further by 180 degrees
5. Tighten the bolts with a torque of 20 N-m (2.0 kgf-m, 14.8 ft-lb) in the order indicated in the figure.
6. Tighten the bolts (1) - (4) in the order indicated with a torque of 48 N-m (4.9 kgf-m, 35.4 ft-lb).
7. Tighten the bolts (5) - (8) in the order indicated with a torque of 44 N-m (4.5 kgf-m, 32.5 ft-lb).
8. Tighten all bolts 90 degrees in the numerical order as shown in the figure.
9. Tighten the bolt (1) - (4) by 45 degrees in the numerical order.





3. Install the camshaft.
4. Install the rear chain cover.
5. Install the crank sprocket.
6. Install the cam sprocket.
7. Install the timing chain assembly.
8. Install the front chain cover.
9. Install the crank pulley.
10. Install the V-belts.

DISASSEMBLY
1. Set the cylinder head on ST.
ST 18250AA010 CYLINDER HEAD TABLE
2. Remove the valve lifter.
3. Set the ST on valve spring retainer. Compress the valve spring and remove the valve spring retainer key. Remove each valve and valve spring.
ST 499718000 VALVE SPRING REMOVER

NOTE:
^ Mark each valve to prevent confusion.
^ Pay careful attention not to damage the lips of intake valve oil seals and exhaust valve oil seals.
^ Keep all the removed parts in order for re-installing in their original positions.
^ For removal and installation procedures of the valve guide, intake valve oil seal and exhaust valve oil seal, refer to "Inspection".





ASSEMBLY
1. Installation of valve spring and valve:
1. Set the cylinder head on ST.
ST 18250AA010 CYLINDER HEAD TABLE
2. Coat the stem of each valve with engine oil and insert the valve into the valve guide.

NOTE: When inserting the valve into valve guide, use special care not to damage the oil seal lip.

3. Install the valve spring and retainer.

NOTE:
^ Be sure to install the valve spring with its close coiled end facing the seat on cylinder head.
^ For the valve spring on intake side, install two of them (inner and outer).
^ Install the valve spring with the painted side facing to retainer.





4. Set the ST on valve spring.
ST 499718000 VALVE SPRING REMOVER





5. Compress the valve spring and fit the valve spring retainer key.
6. After installing, tap the valve spring retainers lightly with a plastic hammer for better seating.

2. Apply oil to the surface of valve lifter and valve shim.
3. Install the valve lifter and valve shim.

INSPECTION
CYLINDER HEAD
1. Check for cracks or damage. Use liquid penetrant tester on the important sections to check for fissures. Check that there are no marks of gas leaking or water leaking on gasket installing surface.
2. Set the cylinder head on ST.
ST 18250AA010 CYLINDER HEAD TABLE
3. Inspect the cylinder head surface that mates with cylinder block for warping by using a straight edge (A) and thickness gauge (B). If the warping exceeds the limit, replace the cylinder head.
Warping limit: 0.02 mm (0.0008 in)
Standard height of cylinder head. 124± 0.05 mm (4.88 ± 0.0020 in)

NOTE: Uneven torque for the cylinder head bolts can cause warping. When reinstalling, pay special attention to the torque so as to tighten evenly.





VALVE SEAT
Inspect the intake and exhaust valve seats. Correct the contact surfaces with a valve seat cutter if they are defective or when valve guides are replaced.
Valve seat width W:
Standard
Intake 1.0 mm (0.039 in)
Exhaust 1.5 mm (0.059 in)





VALVE GUIDE
1. Check the clearance between valve guide and stem. The clearance can be checked by measuring the valve stem outer diameter with a micrometer and valve guide inner diameter with a caliper gauge respectively.
Clearance between the valve guide and valve stem:
Standard
Intake 0.030 - 0.057 mm (0.0012 - 0.0022 in)
Exhaust 0.040 - 0.067 mm (0.0016 - 0.0026 in)
2. If the clearance between valve guide and stem exceeds the standard, replace the valve guide or valve itself whichever shows greater amount of wear or damaged and etc. See the following procedure for valve guide replacement.
Valve guide inner diameter. 5.500 - 5.512 mm (0.2165 - 0.2170 in)
Valve stem outer diameters:
Intake 5.455 - 5.470 mm (0.2148 - 0.2154 in)
Exhaust 5.445 - 5.460 mm (0.2144 - 0.2150 in)
1. Place the cylinder head on ST1. with the combustion chamber upward so that valve guides fit the holes in ST1.
2. Insert the ST2 into valve guide and press it down to remove the valve guide.
ST1. 18250AA010 CYLINDER HEAD TABLE
ST2 499765700 VALVE GUIDE REMOVER





3. Turn the cylinder head upside down and place the ST as shown in the figure.
ST 18251AA040 VALVE GUIDE ADJUSTER





4. Before installing a new valve guide, make sure that neither scratches nor damages exist on the inner surface of valve guide holes in cylinder head.
5. Put a new valve guide, coated with sufficient oil, in the cylinder head, and insert the ST1. into valve guide. Press in until the valve guide upper end is flush with the upper surface of ST2.
ST1. 499765700 VALVE GUIDE REMOVER
ST2 18251AA040 VALVE GUIDE ADJUSTER





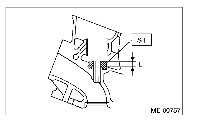
6. Check the valve guide protrusion.
Valve guide protrusion L: 11.4 - 11.8 mm (0.449 - 0.465 in)
7. Ream the inside of valve guide using ST. Put the ST in valve guide, and rotate the ST slowly clockwise while pushing it lightly. Bring the ST back while rotating it clockwise.
ST 499765900 VALVE GUIDE REAMER

NOTE:
^ Apply engine oil to the ST when reaming.
^ If the inner surface of valve guide is damaged, the edge of ST should be slightly ground with oil stone.
^ If the inner surface of valve guide becomes lustrous and the ST does not chip, use a new ST or remedy the ST.

8. After reaming, clean the valve guide to remove chips.
9. Recheck the contact condition between valve and valve seat after replacing the valve guide.

INTAKE AND EXHAUST VALVE
1. Inspect the flange and stem of the valve, and replace if damaged, worn, or deformed, or if "H" is outside of the standard.
Head edge thickness H.
Standard
Intake (A) 1.0 mm (0.039 in)
Exhaust (B) 1.2 mm (0. 047 in)





2. Put a small amount of grinding compound on the seat surface, and lap the valve and valve seat. Install a new valve oil seal after lapping.

NOTE: It is possible to differentiate between the intake valve and the exhaust valve by their overall length.

Valve overall length:
Intake 99.7 mm (3.925 in)
Exhaust 105.2 mm (4.142 in)

VALVE SPRING
1. Check the valve springs for damage, free length, and tension. Replace the valve spring if it is not within the standard value presented in the table.





2. To measure the squareness of the valve spring, stand the valve spring on a surface plate and measure its deflection at the top of the spring using a try square.





INTAKE AND EXHAUST VALVE OIL SEAL
1. For the following, replace the oil seal with a new part.
^ When the lip is damaged
^ When the spring is out of the specified position
^ When readjusting the surfaces of valve and valve seat
^ When replacing the valve guide
2. Set the cylinder head on ST1.
3. Using the ST2, press-fit the oil seal.
ST1. 18250AA010 CYLINDER HEAD TABLE
ST2 499585500 VALVE OIL SEAL GUIDE

NOTE:
^ Apply engine oil to oil seal before press-fitting.
^ When press-fitting the oil seal, do not use a hammer to strike in.





VALVE LIFTER
1. Check the valve lifter visually.
2. Measure the outer diameter of valve lifter.
Outer diameter. 32.959 - 32.975 mm (1.2976 - 1.2982 in)





3. Measure the inner diameter of valve lifter hole of cylinder head.
Inner diameter. 32.994 - 33.016 mm (1.2990 - 1.2998 in)





NOTE: If difference between outer diameter of valve lifter and inner diameter of valve lifter hole is out of the standard or offset wearing is emitted, replace the cylinder head.

Standard: 0.019 - 0.057 mm (0.0007 - 0.0022 in)