Operation CHARM: Car repair manuals for everyone.
Manuals through 2025 now available!

Our trusted friends have launched a new website named LEMON, which has newer manuals. It also contains all the CHARM manuals.

LEMON is the spiritual successor to CHARM, I recommend you try it!

Link: lemon-manuals.la or lemon-manuals.org.ua

(Some people have issue connecting. LEMON is investigating. For now, use Firefox or change your DNS server)

Or, hide this message: temporarily or permanently

Removal and Replacement

Intake Manifold

REMOVAL

1. Remove the collector cover.
2. Release the fuel pressure.
3. Open the fuel filler lid, and remove the fuel filler cap.
4. Disconnect the ground cable from battery.






5. Remove the air cleaner case and air intake chamber.
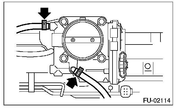
6. Disconnect the connector (A) from the throttle body.
7. Disconnect the engine harness connector (B).






8. Disconnect the engine coolant hoses from the throttle body.






9. Disconnect the PCV hose.






10. Disconnect the brake booster hose.






11. Disconnect the fuel hoses from the fuel pipe.
1. Disconnect the connector of fuel pipe by pushing the ST in the direction of arrow.
ST 42099AE000 QUICK CONNECTOR RELEASE
2. Remove the clip and disconnect the evaporation hose from the pipe.

CAUTION:
- Be careful not to spill fuel.
- Catch the fuel from hoses using a container or cloth.







12. Remove the EGR pipe from EGR valve.

NOTE: Be careful not to drop the gasket.






13. Remove the fuel pipe protector LH.






14. Remove the engine harness from the fuel injector pipe LH.
15. Remove the bolts which hold fuel injector pipe LH to cylinder head.






16. Remove the fuel pipe protector RH.






17. Remove the engine harness from the fuel injector pipe RH.
18. Remove the bolts which hold the fuel injector pipe RH to the cylinder head.






19. Remove the bolts which hold the intake manifold to the cylinder head.

- LH side






- RH side






20. Remove the intake manifold.

INSTALLATION

1. Install the intake manifold onto cylinder heads.

NOTE: Use new O-rings.

Tightening torque: 25 N.m (2.5 kgf.m, 18.4 ft.lb)

- LH side






- RH side






2. Install the bolts which hold fuel injector pipe RH to cylinder head.

NOTE: Use new O-rings.






3. Install the engine harness to fuel injector pipe RH.
4. Install the fuel pipe protector RH.






5. Install the bolts which hold fuel injector pipe LH to cylinder head.

NOTE: Use new O-rings.






6. Install the engine harness to fuel injector pipe LH.
7. Install the fuel pipe protector LH.






8. Install the EGR pipe to EGR valve.

NOTE: Use a new gasket.






9. Connect the fuel hoses to fuel pipe.






10. Connect the brake booster hose.






11. Connect the PCV hose.






12. Connect the engine coolant hoses to throttle body.






13. Connect the connector (A) to throttle body.
14. Connect the engine harness connector (B).






15. Install the air cleaner case and air intake chamber.
16. Install the fuse of fuel pump to the main fuse box.
17. Connect the ground cable to battery.






18. Install the collector cover.

INSPECTION

Make sure the fuel pipe and fuel hoses are not damaged and the connections are tightened firmly.