Operation CHARM: Car repair manuals for everyone.
Manuals through 2025 now available!

Our trusted friends have launched a new website named LEMON, which has newer manuals. It also contains all the CHARM manuals.

LEMON is the spiritual successor to CHARM, I recommend you try it!

Link: lemon-manuals.la or lemon-manuals.org.ua

(Some people have issue connecting. LEMON is investigating. For now, use Firefox or change your DNS server)

Or, hide this message: temporarily or permanently

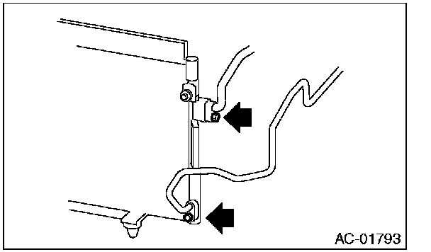
Condenser HVAC: Service and Repair

Condenser

REMOVAL

1. Using the refrigerant recovery system, discharge refrigerant.
Refrigerant Recovery Procedure.>
2. Disconnect the ground cable from battery.
3. Disconnect the pressure hose and pipe from the condenser.






4. Remove the radiator bracket.






5. Remove the front bumper face.
6. Remove two bolts. While lifting the condenser,pull out through space between the radiator and the radiator panel.

CAUTION:
- Be careful not to damage the condenser fins.If a damaged fin is found, repair it using a thin screwdriver.
- If the condenser is replaced, add an appropriate amount of compressor oil to the compressor.







INSTALLATION

CAUTION:
- Replace the O-rings on hoses or pipes with new parts, and then apply compressor oil.
- Confirm that lower guide (A) of condenser fits into holes on radiator panel.







1. Install in the reverse order of removal.
2. Charge refrigerant.

AIR CONDITIONING UNIT

Tightening torque: N.m (kgf.m, ft.lb)
T1: 7.5 (0.76, 5.5)
T2: 10 (1.0, 7.4)