Operation CHARM: Car repair manuals for everyone.
Manuals through 2025 now available!

Our trusted friends have launched a new website named LEMON, which has newer manuals. It also contains all the CHARM manuals.

LEMON is the spiritual successor to CHARM, I recommend you try it!

Link: lemon-manuals.la or lemon-manuals.org.ua

(Some people have issue connecting. LEMON is investigating. For now, use Firefox or change your DNS server)

Or, hide this message: temporarily or permanently

Removal

Pipe Assembly

REMOVAL

1) Disconnect the ground cable from battery.
2) Lift up the vehicle, and then remove the front crossmember support plate and jack-up plate.

^ Large type





^ Small type





3) Remove the one pipe joint at the center of the gearbox, and connect the vinyl hose to the pipe and the joint. Discharge the fluid by turning the steering wheel fully clockwise and counterclockwise. Discharge the fluid similarly from other pipes.





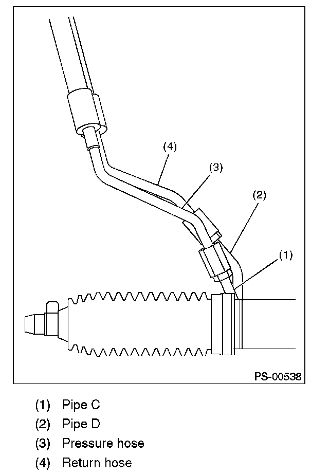
4) Remove the clamp E from return hose and pressure hose.





5) Disconnect the pipe D from return hose and pipe C from pressure hose.





6) Remove the air intake duct.
7) Disconnect the suction hose and pressure hose from oil pump.

^ Non-turbo model





^ Turbo model





8) Disconnect the suction hose and return hose from the reservoir tank.





9) Remove the hose bracket and take out the hose assembly from vehicle.