Operation CHARM: Car repair manuals for everyone.
Manuals through 2025 now available!

Our trusted friends have launched a new website named LEMON, which has newer manuals. It also contains all the CHARM manuals.

LEMON is the spiritual successor to CHARM, I recommend you try it!

Link: lemon-manuals.la or lemon-manuals.org.ua

(Some people have issue connecting. LEMON is investigating. For now, use Firefox or change your DNS server)

Or, hide this message: temporarily or permanently

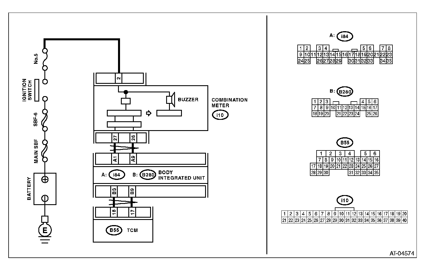
Check Sport Shift Indicator

CHECK SPORT SHIFT INDICATOR

DIAGNOSIS:

Output signal circuit of SPORT shift indicator is open or shorted.

TROUBLE SYMPTOM:

^ SPORT shift indicator does not display or remains displayed.
^ SPORT shift indicator display does not change.

WIRING DIAGRAM:

WIRING DIAGRAM:




Step 1-Step 5: