Operation CHARM: Car repair manuals for everyone.
Manuals through 2025 now available!

Our trusted friends have launched a new website named LEMON, which has newer manuals. It also contains all the CHARM manuals.

LEMON is the spiritual successor to CHARM, I recommend you try it!

Link: lemon-manuals.la or lemon-manuals.org.ua

(Some people have issue connecting. LEMON is investigating. For now, use Firefox or change your DNS server)

Or, hide this message: temporarily or permanently

Air Bag Systems: Service and Repair

Airbag Connector

PROCEDURE

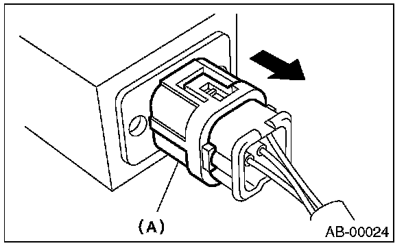
1. POWER SUPPLY
1. How to disconnect:

CAUTION: When pulling the slide lock or disconnecting connector, be sure to hold the connector, not the harness.

Press the lock (A), and then disconnect the connector.






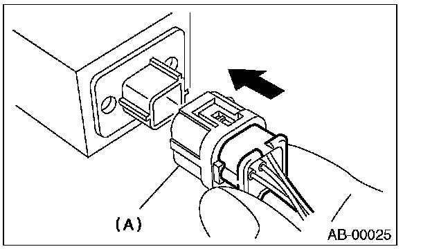
2. How to connect:

CAUTION: Be sure to insert the connector in until it is locked. Then pull it gently to make sure that it is locked.

Holding the connector, push it in securely until a clicking sound is heard.






2. AIRBAG CONTROL MODULE
1. How to disconnect:

CAUTION: When disconnecting connector, be sure to hold the connector, not the harness.

Press the lock lever plate (A) and pull out the lock lever.






2. How to connect:

CAUTION: Be sure to insert the connector in until it is locked. Then pull it gently to make sure that it is locked.

Insert the connector and push the lock lever in securely.

3. DRIVER'S AIRBAG (BETWEEN AIRBAG MAIN HARNESS AND ROLL CONNECTOR) AND PASSENGER'S AIRBAG

CAUTION: When pulling the slide lock or disconnecting connector, be sure to hold the connector, not the harness.

1. How to disconnect:

1. Push the slide lock (A) in the direction of arrow.






2. With the slide lock pushed, disconnect the connector.






2. How to connect:

CAUTION: Be sure to insert the connector in until it is locked. Then pull it gently to make sure that it is locked.

Holding the connector, push it in securely until a clicking sound is heard.






4. DRIVER'S AIRBAG MODULE, CURTAIN AIRBAG MODULE AND PRETENSIONER
1. How to disconnect:
1. Using a flat tip screwdriver, pry the push lock upward to unlock.






2. Pull the connector to disconnect from the driver's airbag module assembly or the retractor assembly.







2. How to connect:

CAUTION:
- Be sure to insert the connector in until it is locked.
- Press in the push lock securely. Then pull it gently to make sure that it is locked.


Connect the connector in the reverse order of disconnecting. At this time, be sure to insert until a clicking sound is heard.






5. SIDE AIRBAG SENSOR, CURTAIN AIRBAG SENSOR AND SATELLITE SAFING SENSOR

1. How to disconnect:

CAUTION: When pulling the slide lock or disconnecting connector, be sure to hold the connector, not the harness.

Holding outer part (A), pull it in the direction of arrow.






2. How to connect:

CAUTION:
- Outer side (A) moves back, and so do not touch the outer part.
- Be sure to insert the connector in until it is locked. Then pull it gently to make sure that it is locked.


Holding the connector, push it in securely until a clicking sound is heard.






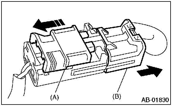
6. SIDE AIRBAG MODULE
1. How to disconnect:

CAUTION: When pulling the slide lock or disconnecting connector, be sure to hold the connector, not the harness.

1. Move the slide lock (A) in the direction of arrow and hold it.
2. While holding the slide lock (A), pull the connector (B) in the direction of arrow.






2. How to connect:

CAUTION: Be sure to insert the connector in until it is locked. Then pull it gently to make sure that it is locked.

Holding the connector, push it in securely until a clicking sound is heard.






7. BUCKLE SWITCH RH
1. How to disconnect:

CAUTION: When pulling the slide lock or disconnecting connector, be sure to hold the connector, not the harness.

1. Move the slide lock (A) in the direction of arrow and hold it.
2. While holding the slide lock (A), pull the connector (B) in the direction of arrow.






2. How to connect:

CAUTION: Be sure to insert the connector in until it is locked. Then pull it gently to make sure that it is locked.

Holding the connector, push it in securely until a clicking sound is heard.






8. FRONT SUB SENSOR
1. How to disconnect:

CAUTION: When pulling the slide lock or disconnecting connector, be sure to hold the connector, not the harness.

1. Push the lock arm.
2. Holding outer part, pull it one step in the direction of arrow.






3. Push the lock arm again.
4. Holding outer part, pull it in the direction of arrow to disconnect the connector.






2. How to connect:

CAUTION: Be sure to insert the connector in until it is locked. Then pull it gently to make sure that it is locked.

Holding the connector, push it in securely until a clicking sound is heard.






9. OCCUPANT DETECTION SYSTEM (BETWEEN AIRBAG REAR HARNESS AND SEAT HARNESS) AND BELT TENSION SENSOR

Refer to the occupant detection system. Airbag Connector