Operation CHARM: Car repair manuals for everyone.
Manuals through 2025 now available!

Our trusted friends have launched a new website named LEMON, which has newer manuals. It also contains all the CHARM manuals.

LEMON is the spiritual successor to CHARM, I recommend you try it!

Link: lemon-manuals.la or lemon-manuals.org.ua

(Some people have issue connecting. LEMON is investigating. For now, use Firefox or change your DNS server)

Or, hide this message: temporarily or permanently

Overhaul

Wiper Blade

DISASSEMBLY

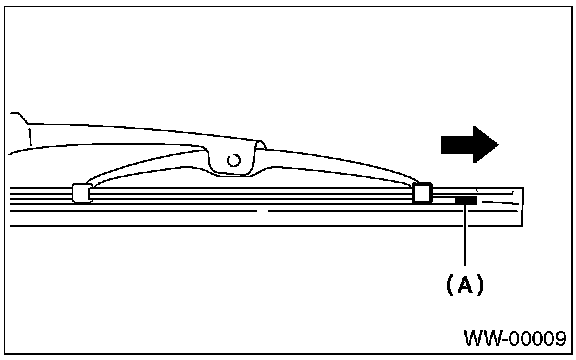
1. FRONT
Pull side (A) of the wiper rubber stopper and remove the rubber from the blade assembly.






2. REAR
Pull the wiper rubber top slightly from stopper (A) and pull out completely.






ASSEMBLY

1. FRONT
1. Insert the wiper rubber onto the blade so that the stopper is in the position shown in the figure.






2. Make sure the wiper rubber is securely fastened to the pull stopper (A).






2. REAR






1. Insert the wiper rubber into claw (B).






2. Insert the wiper rubber until its top end protrudes approx. 20 mm (0.79 in) from stopper (D).






3. Insert the wiper rubber into claw (A).