Operation CHARM: Car repair manuals for everyone.
Manuals through 2025 now available!

Our trusted friends have launched a new website named LEMON, which has newer manuals. It also contains all the CHARM manuals.

LEMON is the spiritual successor to CHARM, I recommend you try it!

Link: lemon-manuals.la or lemon-manuals.org.ua

(Some people have issue connecting. LEMON is investigating. For now, use Firefox or change your DNS server)

Or, hide this message: temporarily or permanently

Keyless Entry Transmitter Battery: Service and Repair

Transmitter

REMOVAL

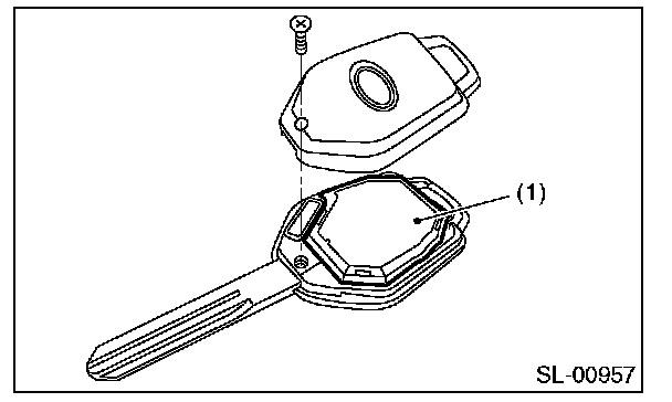
1. Disassemble the keyless transmitter, and take out the transmitter case (1).






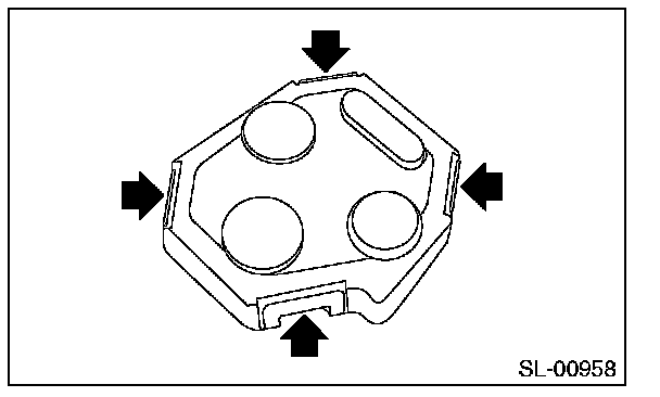
2. Remove the claw, and open the transmitter case.






3. Remove the battery (1) from the transmitter.

NOTE: To prevent static electricity damage to the transmitter printed circuit board, touch the steel area of building with hand to discharge static electricity carried on body or clothes before disassembling the transmitter.






INSTALLATION

Install in the reverse order of removal.