Manuals through 2025 now available!
Our trusted friends have launched a new website named LEMON, which has newer manuals. It also contains all the CHARM manuals.
LEMON is the spiritual successor to CHARM, I recommend you try it!
Link:
lemon-manuals.la or
lemon-manuals.org.ua
(Some people have issue connecting. LEMON is investigating. For now, use Firefox or change your DNS server)
Or, hide this message:
temporarily or
permanently
System Relay: Testing and Inspection
Relay and FuseINSPECTION -
A/C relay
-
Main fan relay 1, Front blower relay
-
Rear blower relay
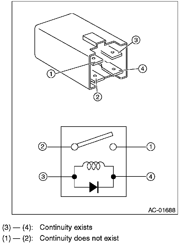
While applying battery voltage to the terminal between (3) and (4), check continuity between (1) and (2).
If no continuity exists, replace the relay with a new part.