Operation CHARM: Car repair manuals for everyone.
Manuals through 2025 now available!

Our trusted friends have launched a new website named LEMON, which has newer manuals. It also contains all the CHARM manuals.

LEMON is the spiritual successor to CHARM, I recommend you try it!

Link: lemon-manuals.la or lemon-manuals.org.ua

(Some people have issue connecting. LEMON is investigating. For now, use Firefox or change your DNS server)

Or, hide this message: temporarily or permanently

Overhaul

Starter

DISASSEMBLY

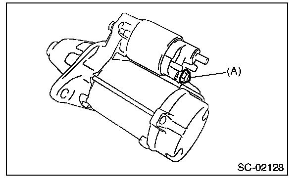
1. Loosen the nut which holds terminal M (A) of the magnet switch assembly, then disconnect the harness from the terminal.






2. Remove the nuts holding the magnet switch assembly, and remove the magnet switch assembly.






3. Remove the starter seal.






4. Remove the through bolts on both sides, and then remove the starter housing.






5. Remove the shift lever.






6. Remove the overrunning clutch, shock absorber bearing and shaft from the yoke as an assembly.






7. Remove the overrunning clutch from shaft assembly as follows:
1. Using a plastic hammer, remove the stopper from snap ring by lightly tapping the stopper with an appropriate tool (such as a fit socket wrench).






2. Remove the snap ring (A) from the shaft, and then remove the stopper (B).






3. Remove the overrunning clutch from the shaft.






8. Remove the shock absorber as follows:
1. Remove the starter plate.






2. Remove the planetary gear.






3. Remove the snap ring, and then remove the shaft.






4. Separate the shock absorber bearing (A) from the internal gear (B), and then remove the shock absorber (C).






9. Remove the screws, and remove the starter cover from the brush holder assembly.

NOTE: Hold with the screw so that the brush holder assembly will remain on the armature side, and separate.






10. Remove the brush holder assembly from the armature by hand.

NOTE: Spread the brushes with your fingers, being careful not to damage them.






11. Remove the armature from the yoke.






ASSEMBLY

1. Install the armature to yoke.






2. Install the brush holder assembly to the armature.

NOTE: Push the brushes against the springs by hand to avoid the damage to the brushes.






3. Install the starter cover, and then secure it to the brush holder assembly with the screws.






4. Assemble the shock absorber as follows:
1. Apply grease to the shock absorber (C), and install the internal gear (B) to the shock absorber bearing (A).

NOTE: Align with the claw position of internal gear to install shock absorber bearing.






2. Install the shaft to the internal gear.

NOTE: Apply grease to the sliding part for the shaft inside the internal gear.






3. Install the snap ring to shaft.

NOTE: Use new snap rings.






5. Install the planetary gear to the internal gear.
1. Apply grease to the installation part of the planetary gear.
2. Install the planetary gear to pin.
3. Apply grease to the planetary gear, internal gear and upper part of the pin.

NOTE:
- Apply grease so that it contacts each gear.
- Be careful not to allow dirt to get in.






4. Install the starter plate.






6. Assemble the overrunning clutch as follows:
1. Apply grease to the spline portion of the shaft.
2. Install the overrunning clutch to shaft.






3. Install the stopper (B) to the shaft, and install the snap ring (A).






4. Press-fit the stopper (B) to snap ring (A) using a press.






7. Assemble the overrunning clutch, shock absorber and shaft to the yoke as one unit.






8. Install the shift lever.

NOTE: Apply grease to the contact portion of the shift lever.






9. Install the starter housing, and tighten the through bolts on both sides.






10. Install the starter seal.






11. Install the magnet switch assembly to the starter housing, and tighten the nuts.

NOTE: Apply grease to the installation part of the shift lever.






12. Install the harness to the terminal M (A) of the magnet switch assembly, and tighten the nut.