Operation CHARM: Car repair manuals for everyone.
Manuals through 2025 now available!

Our trusted friends have launched a new website named LEMON, which has newer manuals. It also contains all the CHARM manuals.

LEMON is the spiritual successor to CHARM, I recommend you try it!

Link: lemon-manuals.la or lemon-manuals.org.ua

(Some people have issue connecting. LEMON is investigating. For now, use Firefox or change your DNS server)

Or, hide this message: temporarily or permanently

Part 3

Cylinder Block (Continued)

DISASSEMBLY

CYLINDER BLOCK

1) Remove the oil separator cover from cylinder block RH.





2) Remove the main gallery plug from cylinder block RH.





3) Remove the cylinder block plate from cylinder block LH.





4) Remove the main gallery plug from cylinder block LH.





PISTON AND CONNECTING ROD





NOTE:
To prevent confusion of various parts, mark each part.

1) Remove the connecting rod bearing from connecting rod and connecting rod cap.
2) Remove the piston rings using piston ring expander, and remove the oil ring by hand.

NOTE:
^ Arrange the piston rings and oil rings in order so that they can be installed in their original positions.
^ Be careful not to confuse the piston rings and oil rings.

3) Remove the circlip on one end from the piston using a flat tip screwdriver.

NOTE:
Be careful not damage the piston and piston pin, by wrapping the tip of flat tip screwdriver with tape.

4) Remove the piston pin from piston, and remove the connecting rod from piston.
5) Remove the circlip on other end from the piston using a flat tip screwdriver.

NOTE:
Be careful not damage the piston and piston pin, by wrapping the tip of flat tip screwdriver with tape.

ASSEMBLY

CYLINDER BLOCK

1) Install the oil separator cover to the cylinder block RH.
(1) Apply liquid gasket to the mating surfaces of oil separator cover.

NOTE:
^ Install within 5 min. after applying liquid gasket.
^ Use new oil separator cover.

Liquid gasket:
Mating surface
THREE BOND 1217G (Part No. K0877Y0100) or equivalent

Liquid gasket applying diameter:
4 ±1 mm (0.1772±0.0197 in)





(2) Install the oil separator cover to the cylinder block RH, and tighten the oil separator cover bolts in numerical order as shown in the figure.

Tightening torque:
6.4 Nm (0.7 kgf-m, 4.7 ft-lb)





2) Apply liquid gasket to the threaded portion of the main gallery plug, and install the main gallery plug to the cylinder block RH.

Liquid gasket:
THREE BOND 1105 (Part No. 004403010) or equivalent

Tightening torque:
37 Nm (3.8 kgf-m, 27.3 ft-lb)





3) Apply liquid gasket to the threaded portion of the main gallery plug, and install the main gallery plug to the cylinder block LH.

Liquid gasket:
THREE BOND 1105 (Part No. 004403010) or equivalent

Tightening torque:
37 Nm (3.8 kgf-m, 27.3 ft-lb)





4) Install the cylinder block plate onto cylinder block LH.

Tightening torque:
6.4 Nm (0.7 kgf-m, 4.7 ft-lb)





PISTON AND CONNECTING ROD





1) Install the connecting rod bearing to the connecting rod and connecting rod cap.
2) Install the circlip on one end of the piston using a flat tip screwdriver.

NOTE:
^ Be careful not damage the piston, by wrapping the tip of flat tip screwdriver with tape.
^ Make sure the circlip is firmly inserted into the circlip groove.
^ After circlip installation, turn the circlip so that the ends of circlip (A) and the cutout portion of circlip (B) do not match.





3) Set the piston to the connecting rod.

NOTE:
Align the front mark of piston and the connecting rod direction correctly as shown in the figure.





4) Apply engine oil to the piston pin, and attach the piston pin.
5) Install the circlip on the piston using a flat tip screwdriver.

NOTE:
^ Be careful not damage the piston and piston pin, by wrapping the tip of flat tip screwdriver with tape.
^ Make sure the circlip is firmly inserted into the circlip groove.
^ After circlip installation, turn the circlip so that the ends of circlip (A) and the cutout portion of circlip (B) do not match.





6) Install the oil ring upper rail, expander and lower rail by hand.

NOTE:
Oil ring consists of the upper rail, expander and lower rail.





7) Install the second ring and top ring using piston ring expander.

NOTE:
Install so that the piston ring mark faces the top side of the piston.

INSPECTION

CYLINDER BLOCK

1) Visually inspect to make sure that there are no cracks, scratches or other damage.
2) Use liquid penetrant tester on the important sections to check for fissures.
3) Check that there are no traces of gas leaking or water leaking on the gasket attachment surface.
4) Check the oil passages for clogging.
5) Check for warpage of mating surfaces of the cylinder block that contacts cylinder head using a straight edge and thickness gauge. If it exceeds the limit, correct the surface by grinding it with a surface grinder or replace the cylinder block.

Warping limit:
0.025 mm (0.00098 in)

Grinding limit:
0.1 mm (0.004 in)

Standard height of cylinder block:
205.0 mm (8.07 in)

CYLINDER AND PISTON

1) Using a cylinder bore gauge, check the inner diameter of cylinder liner, cylindricality, out-of-roundness. If it is not within the standard, perform boring and honing, or replace the cylinder block and piston as a set. For boring and honing procedure, refer to step 3).

NOTE:
^ Measurement should be performed at a temperature of 20°C (68°F).
^ Measure the inner diameter of each cylinder liner in both the thrust and piston pin directions at the heights as shown in the figure.
^ The cylinder bore size is stamped on the upper face of the cylinder block.





Inner diameter of cylinder liner:
Standard
A: 94.005 - 94.015 mm (3.7010 - 3.7014 in)
B: 93.995 - 94.005 mm (3.7006 - 3.7010 in)

Cylindricality:
Standard
0.015 mm (0.0006 in)

Out-of-roundness:
Standard
0.010 mm (0.0004 in)





2) Check the clearance between cylinder liner and piston. Check the clearance between cylinder liner and piston by measuring respectively the inner diameter of cylinder liner and the outer diameter of piston.

NOTE:
For the measurement of the inner diameter of cylinder liner, refer to step 1).

(1) Check the outer diameter of piston with a micrometer. If it is not within the standard, replace the piston.

NOTE:
^ Measurement should be performed at a temperature of 20°C (68°F).
^ Measure the outer diameter of each piston in thrust direction at the height as shown in the figure.
^ Standard sized pistons are classified into two grades, "A" and "B". These grades should be used as guide lines in selecting a standard piston.
^ If the piston is replaced, check the clearance between cylinder liner and piston in the step (2), and select a suitable sized piston.

Piston grade point H:
13.3 mm (0.52 in)

Piston outer diameter:
Standard size
Standard
A: 93.980 - 93.990 mm (3.7000 - 3.7004 in)
B: 93.970 - 93.980 mm (3.6996 - 3.7000 in)
0.25 mm (0.0098 in) oversize
Standard
94.220 - 94.240 mm (3.7094 - 3.7102 in)
0.50 mm (0.0197 in) oversize
Standard
94.470 - 94.490 mm (3.7193 - 3.7201 in)





(2) Calculate the clearance between cylinder liner and piston. If it is not within the standard, perform boring and honing, or replace the cylinder block and piston as a set. For boring and honing procedure, refer to step 3).

Clearance between cylinder liner and piston at 20°C (68°F):
Standard
0.015 - 0.035 mm (0.00059 - 0.00138 in)

3) Boring and honing
(1) If any of the inner diameter, cylindricality, out-of-roundness or cylinder-to-piston clearance is out of standard or if there is any damage on the cylinder liner, rebore it to replace with an oversize piston.

CAUTION:
When any of the cylinder liner needs reboring, all other cylinder liners must be bored at the same time, and replaced with oversize pistons.

(2) If the inner diameter of cylinder liner exceeds the limit after boring and honing, replace the cylinder block and piston as a set.

NOTE:
^ Immediately after reboring, the inner diameter of cylinder liner may differ from its real diameter due to temperature rise. Thus, when measuring the inner diameter of cylinder liner, wait until it has cooled to normal temperature.
^ For the measurement of the inner diameter of cylinder liner, refer to step 1).

Inner diameter of cylinder liner boring limit (diameter):
To 94.505 mm (3.7207 in)

PISTON AND PISTON PIN

1) Check the piston and piston pin for wear or crack.
2) Check the snap ring for distortion or wear.
3) Check the piston ring groove for damage.
4) Check the circlip groove (A) for burr.

NOTE:
If the burr is found, remove the burr from groove.





5) Check that the piston pin can be inserted into the piston pin hole with a thumb at 20°C (68°F).
6) Check the clearance between piston pin hole and piston pin. Check the clearance between piston pin hole and piston pin by measuring respectively the inner diameter of piston pin hole and the outer diameter of piston pin.
(1) Using a caliper gauge, measure the inner diameter of piston pin hole.

NOTE:
^ Measurement should be performed at a temperature of 20°C (68°F).
^ Record the measured value.





(2) Measure the outer diameter of piston pin with a micrometer.

NOTE:
^ Measurement should be performed at a temperature of 20°C (68°F).
^ Record the measured value.





(3) Calculate the clearance between piston pin hole and piston pin. If it is not within the standard, replace the piston and piston pin as a set.

Clearance between piston pin hole and piston pin:
Standard
0.004 - 0.008 mm (0.0002 - 0.0003 in)

PISTON RING

1) Make sure the piston ring is not broken or damaged.
2) Using a cylindrical guide, insert the piston ring and oil ring into the cylinder liner so that they are perpendicular to the cylinder wall, and check the piston ring gap using a thickness gauge. If it is not within the standard, replace the piston ring or oil ring.

NOTE:
Use piston ring with same size as piston when replacing piston ring.

Piston ring gap:
Standard
Top ring
0.20 - 0.30 mm (0.0079 - 0.0118 in)
Second ring
0.30 - 0.45 mm (0.0118 - 0.0177 in)
Oil ring rail
0.20 - 0.50 mm (0.0079 - 0.0197 in)





3) Fit the piston ring straight into the piston ring groove, then check the clearance between piston ring and piston ring groove with a thickness gauge. If it is not within the standard, replace the piston ring or oil ring.

NOTE:
^ Before measuring the clearance, clean the piston ring groove and piston ring.
^ Use piston ring with same size as piston when replacing piston ring.

Clearance between piston ring and piston ring groove:
Standard
Top ring
0.040 - 0.080 mm (0.0016 - 0.0031 in)
Second ring
0.030 - 0.070 mm (0.0012 - 0.0028 in)





CONNECTING ROD

1) Check that the large or small end thrust surface is not damaged.
2) Install the connecting rod to the crankshaft, and check the thrust clearance using a thickness gauge. If it is not within the standard, replace the connecting rod.

NOTE:
^ Do not forget to install the connecting rod bearing and the connecting rod cap bearing, when installing the connecting rod to the crankshaft.
^ Measurement should be performed at a temperature of 20°C (68°F).
^ Measure the thrust clearance of each connecting rod at several points, and replace the connecting rod if there is uneven wear.

Connecting rod thrust clearance:
Standard
0.070 - 0.330 mm (0.0028 - 0.0130 in)





3) Check for bend or twist using a connecting rod aligner. If it exceeds the limit, replace the connecting rod.

Limit of bend or twist per 100 mm (3.94 in) in length:
0.10 mm (0.0039 in)





4) Inspect the connecting rod bearing for scar, peeling, seizure, melting or wear, etc.
5) Check the oil clearance on each connecting rod bearing using plastigauge. If it is not within the standard, replace the connecting rod bearing.

NOTE:
^ Measurement should be performed at a temperature of 20°C (68°F).
^ Measure the outer diameter of crank pin using micrometer, and select the suitable size connecting rod bearing when replacing the connecting rod bearing.





Connecting rod oil clearance:
Standard
0.017 - 0.047 mm (0.0007 - 0.0019 in)

6) Check the bushing at connecting rod small end for damage.
7) Check the clearance between piston pin and bushing at connecting rod small end. Check the clearance between the piston pin and bushing at connecting rod small end by measuring respectively the outer diameter of piston pin and the inner diameter of bushing at connecting rod small end.
(1) Measure the outer diameter of piston pin with a micrometer.

NOTE:
^ Measurement should be performed at a temperature of 20°C (68°F).
^ Record the measured value.





(2) Using a caliper gauge, measure the inner diameter of bushing at connecting rod small end.

NOTE:
^ Measurement should be performed at a temperature of 20°C (68°F).
^ Record the measured value.





(3) Calculate the clearance between piston pin and bushing at connecting rod small end.

Clearance between piston pin hole and piston pin:
Standard
0.004 - 0.008 mm (0.0002 - 0.0003 in)

8) If the clearance between piston pin and bushing at connecting rod small end exceeds the standard, replace the piston pin and bushing at connecting rod small end as a set. For replacement procedure of bushing at connecting rod small end, refer to the following.
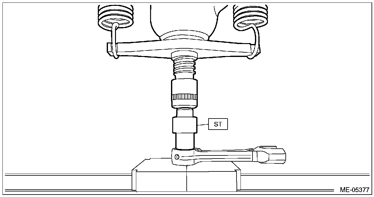
(1) Remove the bushing from connecting rod with ST and press.
(2) Press the bushing with ST and the press, after applying engine oil on the periphery of bushing.
ST 18350AA000 CONNECTING ROD BUSHING REMOVER AND INSTALLER





(3) Make two 3 mm (0.12 in) holes in the pressed bushing to match the pre-manufactured holes on the connecting rod, then ream the inside of the bushing.
(4) After completion of reaming, clean the bushing to remove chips.

CRANKSHAFT AND CRANKSHAFT BEARING

1) Clean the crankshaft completely, and check it for cracks using liquid penetrant tester.
2) Using a dial gauge, check the crankshaft bend. If it exceeds the limit, grind to correct or replace the crankshaft.

NOTE:
^ If a suitable V-block is not available, using just the #1 and #5 crankshaft bearings on cylinder block, position the crankshaft on cylinder block. Then, measure the crankshaft bend using a dial gauge.
^ Measurement should be performed at a temperature of 20°C (68°F).
^ When grinding to correct the crankshaft, refer to step 3).

Crankshaft bend limit:
0.035 mm (0.0014 in)





3) Using micrometer, check the outer diameter of crank journal and crank pin, cylindricality, out-of-roundness. If it is not within the standard, replace the connecting rod bearing or crankshaft bearing, and grind to correct or replace the crankshaft as required.
^ Measurement should be performed at a temperature of 20°C (68°F).
^ Select the suitable size connecting rod bearing or crankshaft bearing when replacing the connecting rod bearing or crankshaft bearing.
^ When grinding to correct the crank journal or crank pin, finish them to the suitable dimensions as shown in the table below according to the undersize bearing to be used.





Crank pin and crank journal:
Out-of-roundness
Standard
0.005 mm (0.0002 in)
Cylindricality
Standard
0.006 mm (0.0002 in)
Grinding limit (dia.)
Crank pin: To 47.750 mm (1.8799 in)
Crank journal: To 67.759 mm (2.6677 in)





4) Inspect the crankshaft bearing for scar, peeling, seizure, melting or wear, etc.
5) Use a thickness gauge to check the thrust clearance of crankshaft at #5 crankshaft bearing. If it is not within the standard, replace the #5 crankshaft bearing.
^ Measurement should be performed at a temperature of 20°C (68°F).
^ Select the suitable size by referring to step 3) when replacing #5 crankshaft bearing.

Crankshaft thrust clearance:
Standard
0.130 - 0.308 mm (0.00512 - 0.01213 in)





6) Check the oil clearance on each crankshaft bearing using plastigauge. If it is not within the standard, replace the crankshaft bearing, and grind to correct or replace the crankshaft as required.
^ Measurement should be performed at a temperature of 20°C (68°F).
^ Select the suitable size by referring to step 3) when replacing crankshaft bearing.
^ When grinding to correct the crank journal, finish it to the suitable dimensions by referring to step 3) according to the undersize bearing to be used.

Crankshaft oil clearance:
Standard
0.013 - 0.031 mm (0.00051 - 0.00122 in)