Operation CHARM: Car repair manuals for everyone.
Manuals through 2025 now available!

Our trusted friends have launched a new website named LEMON, which has newer manuals. It also contains all the CHARM manuals.

LEMON is the spiritual successor to CHARM, I recommend you try it!

Link: lemon-manuals.la or lemon-manuals.org.ua

(Some people have issue connecting. LEMON is investigating. For now, use Firefox or change your DNS server)

Or, hide this message: temporarily or permanently

Part 2

Cylinder Head (Continued)

DISASSEMBLY

1) Remove the chain cover securing bolt from the cylinder head LH.





2) Remove the stud bolts from the cylinder head.





3) Compress the valve spring using ST, and remove the valve collet, valve, valve spring retainer, valve spring and valve seat.

CAUTION:
During work, place a waste cloth, etc. to avoid scratching the mating surface of the cylinder head.

ST 0920287002000 REMOVER AND REPLACER

NOTE:
^ Mark each part to prevent confusion.
^ Pay careful attention not to damage the lips of intake valve oil seals and exhaust valve oil seals.
^ Keep all the disassembled parts in order for re-installing in their original positions.





4) Remove all valves, valve collets, valve spring retainers, valve springs and valve seats in the same manner.

ASSEMBLY





1) Install the valves, valve collets, valve spring retainers, valve spring and valve seat.

CAUTION:
During work, place a waste cloth, etc. to avoid scratching the mating surface of the cylinder head.

(1) Set the valve seat, valve spring and retainer onto the cylinder head.

NOTE:
Be sure to install the valve spring with its close-coiled end facing the cylinder head side.

(2) Coat the valve stem of each valve with engine oil and insert the valve into valve guide.

NOTE:
When inserting the valve into valve guide, use special care not to damage the oil seal lip.

(3) Compress the valve spring and install the valve collet using ST.
ST 0920287002000 REMOVER AND REPLACER





2) Install all valves, valve collets, valve spring retainers, valve spring and valve seat in the same manner.
3) Lightly tap the valve spring retainer with a plastic hammer, and make sure that the valve collet is securely attached.
4) Install the stud bolts onto cylinder heads.

Tightening torque:
T1: 6.4 Nm (0.7 kgf-m, 4.7 ft-lb)
T2: 18 Nm (1.8 kgf-m, 13.3 ft-lb)





5) Install the chain cover securing bolt to the cylinder head LH.

Tightening torque:
6.4 Nm (0.7 kgf-m, 4.7 ft-lb)





INSPECTION

CYLINDER HEAD

1) Visually inspect to make sure that there are no cracks, scratches or other damage.
2) Use liquid penetrant tester on the important sections to check for fissures.
3) Check that there are no marks of gas leaking or water leaking on gasket attachment surface.
4) Check the warping of the cylinder head mating surface that mates with cylinder block using a straight edge (A) and thickness gauge (B) at the locations shown in the figure. If it exceeds the limit, correct the surface by grinding it with a surface grinder or replace the cylinder head.

NOTE:
Measurement should be performed at a temperature of 20°C (68°F).

Warping limit:
0.035 mm (0.0014 in)

Grinding limit:
0.1 mm (0.004 in)

Standard height of cylinder head:
98.5 mm (3.878 in)

NOTE:
If the cylinder head bolt tightening torques and angle tightening is uneven, warpage of the cylinder head may occur. During installation work, make sure that tightening torque and angle tightening work is performed precisely so that it is tightened evenly.





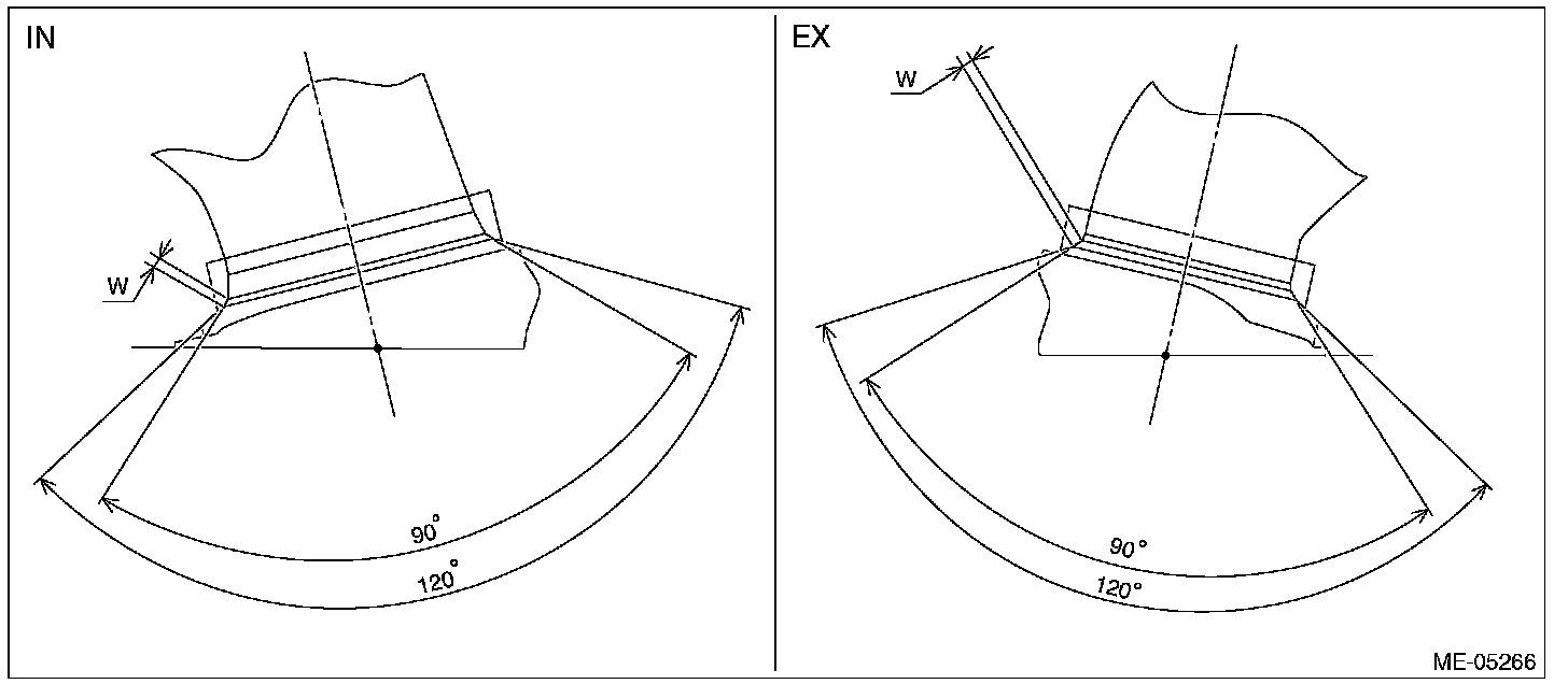
VALVE SEAT

Inspect the intake and exhaust valve seats of cylinder head, and correct the contact surfaces with a valve seat cutter if they are defective or when valve guides are replaced.

Contacting width W between valve and valve seat:
Standard
Intake
0.8 - 1.6 mm (0.031 - 0.063 in)
Exhaust
1.1 - 1.7 mm (0.043 - 0.067 in)








VALVE GUIDE

1) Check the clearance between valve guide and valve stem. Check the clearance between valve guide and valve stem by measuring respectively the outer diameter of valve stem and the inner diameter of valve guide.
(1) Measure the outer diameter of valve stem with a micrometer. If it is not within the standard, replace the valve.

NOTE:
^ Measurement should be performed at a temperature of 20°C (68°F).
^ Measure the outer diameter of the valve stem at the three places as shown in the figure, and take the value of most worn location.
^ If the valve is replaced, put a small amount of grinding compound on the valve seat surface of cylinder head, and lap the valve and valve seat surfaces. Replace with a new valve oil seal after lapping.

Valve stem outer diameters:
Standard
Intake
5.455 - 5.470 mm (0.2148 - 0.2154 in)
Exhaust
5.445 - 5.460 mm (0.2144 - 0.2150 in)





(2) Using a caliper gauge, measure the inner diameter of valve guide. If it is not within the standard, replace the valve guide. For replacement procedure, refer to step 2).

NOTE:
Measurement should be performed at a temperature of 20°C (68°F).

Valve guide inner diameter:
Standard
5.500 - 5.512 mm (0.2165 - 0.2170 in)





(3) Calculate the clearance between valve guide and valve stem.
Clearance between the valve guide and valve stem:
Standard
Intake
0.030 - 0.057 mm (0.0012 - 0.0022 in)
Exhaust
0.040 - 0.067 mm (0.0016 - 0.0026 in)





2) If the clearance between valve guide and valve stem exceeds the standard, replace the valve guide or valve, whichever shows the greater amount of wear or damage. For replacement procedure of valve guide, refer to the following.

NOTE:
If the valve is replaced, put a small amount of grinding compound on the valve seat surface of cylinder head, and lap the valve and valve seat surfaces. Replace with a new valve oil seal after lapping.

(1) Insert ST into the valve guide with the combustion chamber upward and remove the valve guide using plastic hammer.

CAUTION:
^ Place a wood board wrapped with a waste cloth to stabilize the cylinder head before work.
^ Use special care not to damage the cylinder head during work.


ST 499765700 VALVE GUIDE REMOVER AND INSTALLER





(2) Before installing the valve guide, make sure that neither scratches nor damages exist on the inner surface of valve guide holes in cylinder head.
(3) Draw a reference line (A) for insert on the valve guide using a marker as shown in the figure.

NOTE:
^ Use a new valve guide.
^ A reference line for insert is used as a guide when tapping-in the valve guide.

Valve guide inserting reference line position L:
15 mm (0.5906 in)





(4) Apply a enough coat of engine oil to the valve guide, and set the valve guide on the cylinder head with the combustion chamber downward.
(5) Insert the ST into the valve guide, and tap-in the valve guide to the reference line (A) for insert using plastic hammer.

CAUTION:
^ During work, place a waste cloth, etc. to avoid scratching the mating surface of the cylinder head.
^ Use special care not to damage the cylinder head during work.


ST 499765700 VALVE GUIDE REMOVER AND INSTALLER





(6) Measure the valve guide protrusion amount "L" as shown in the figure using a caliper gauge. Insert the ST into the valve guide again, and tap-in the valve guide so that it is positioned within standard by referring to the measured value using plastic hammer.

CAUTION:
^ During work, place a waste cloth, etc. to avoid scratching the mating surface of the cylinder head.
^ Use special care not to damage the cylinder head during work.


NOTE:
Be careful not to tap-in excessively by repeating the steps of Tapping-in --> Measurement --> Tapping-in --> Measurement...when installing the valve guide.

ST 499765700 VALVE GUIDE REMOVER AND INSTALLER

Valve guide protrusion amount L:
Standard
11.4 - 11.8 mm (0.449 - 0.465 in)





(7) Ream the inside of valve guide with the combustion chamber upward using ST. Put the ST in valve guide, and rotate the ST slowly clockwise while pushing it lightly. Bring the ST back while rotating it clockwise.

CAUTION:
^ Place a wood board wrapped with a waste cloth to stabilize the cylinder head before work.
^ Use special care not to damage the cylinder head during work.


NOTE:
^ Apply engine oil to the ST when reaming.
^ If the inner surface of valve guide is damaged, the edge of ST should be slightly ground with oil stone.
^ If the inner surface of valve guide becomes lustrous and the ST does not chip, use a new ST or remedy the ST.

ST 499765900 VALVE GUIDE REAMER





(8) After reaming, clean the valve guide to remove chips.
(9) Recheck the contact condition between valve and valve seat after replacing the valve guide.

INTAKE VALVE AND EXHAUST VALVE

1) Check the valve flange and valve stem for damage, wear or deformation.
2) Check the height "H" in the figure using a caliper gauge. If it is not within the standard, replace the valve.

NOTE:
^ It is possible to differentiate between the intake valve and the exhaust valve by their overall length.

Valve overall length:
Intake
103.8 mm (4.087 in)
Exhaust
94.1 mm (3.705 in)

^ If the valve is replaced, put a small amount of grinding compound on the valve seat surface of cylinder head, and lap the valve and valve seat surfaces. Replace with a new valve oil seal after lapping.

Head edge thickness H:
Standard
Intake (A)
0.8 - 1.2 mm (0.031 - 0.047 in)
Exhaust (B)
1.0 - 1.4 mm (0.039 - 0.055 in)





VALVE SPRING

1) Check the valve spring for damage and deformation.
2) Check the valve spring free length, tension and squareness. If it is not within the standard, replace the valve spring.

NOTE:
To check the squareness of the valve spring, stand the valve spring on a surface plate and check its deflection at the top of the valve spring using a try square.





Free length:
Standard
41.06 mm (1.617 in)

Tension/spring height:
Standard
Set
182 - 210 N (18.56 - 21.41 kgf, 40.92 - 47.22 lbf)/33.0 mm (1.299 in)
Lift
552 - 610 N (56.29 - 62.20 kgf, 124.11 - 137.15 lbf)/22.0 mm (0.866 in)

Squareness:
Standard
2.5°, 2.1 mm (0.083 in) or less

INTAKE VALVE OIL SEAL AND EXHAUST VALVE OIL SEAL

1) For the following, replace the oil seal with a new part. For replacement procedure, refer to the following.
^ When the lip is damaged.
^ When the spring is out of the specified position.
^ When readjusting the surfaces of valve and valve seat.
^ When replacing the valve guide.
2) Remove the valve oil seal from the valve guide.

CAUTION:
^ During work, place a waste cloth, etc. to avoid scratching the mating surface of the cylinder head.
^ Use special care not to damage the cylinder head and guide during work.






3) Using the ST, insert the valve oil seal.

CAUTION:
^ During work, place a waste cloth, etc. to avoid scratching the mating surface of the cylinder head.
^ Use special care not to damage the cylinder head and guide during work.


NOTE:
^ Apply engine oil to valve oil seal before inserting.
^ The valve oil seal can be inserted by pressing ST with hand. Do not use a plastic hammer to strike in.
^ The intake valve oil seals and exhaust valve oil seals are distinguished by their colors.

Color of rubber part:
Intake [Gray]
Exhaust [Green]

ST 18261AA010 VALVE OIL SEAL GUIDE





VALVE SHIM

1) Visually check the valve shim for damage.
2) Check the clearance between valve shim and valve stem end. Check the clearance between valve shim and valve stem end by measuring respectively the inner diameter of valve shim and the outer diameter of valve stem end.
(1) Using a caliper gauge, measure the inner diameter of valve shim. If it is not within the standard, replace the valve shim.

NOTE:
^ Measurement should be performed at a temperature of 20°C (68°F).
^ If the valve shim has to be replaced, check the cam clearance and replace with the suitable valve shim. Testing and Inspection

Valve shim inner diameter:
Standard
5.500 - 5.560 mm (0.2165 - 0.2189 in)





(2) Measure the outer diameter of valve stem end with a micrometer. If it is not within the standard, replace the valve.

NOTE:
^ Measurement should be performed at a temperature of 20°C (68°F).
^ If the valve is replaced, put a small amount of grinding compound on the valve seat surface of cylinder head, and lap the valve and valve seat surfaces. Replace with a new valve oil seal after lapping.

Valve stem end outer diameter:
Standard
5.455 - 5.470 mm (0.2148 - 0.2154 in)





(3) Calculate the clearance between valve shim and valve stem end. If the clearance exceeds the standard, replace the valve shim or valve, whichever shows the greater amount of wear or damage.

NOTE:
^ If the valve is replaced, put a small amount of grinding compound on the valve seat surface of cylinder head, and lap the valve and valve seat surfaces. Replace with a new valve oil seal after lapping.
If the valve shim has to be replaced, check the cam clearance and replace with the suitable valve shim.

Clearance between the valve shim and valve stem end:
Standard
0.030 - 0.105 mm (0.0012 - 0.0041 in)