Operation CHARM: Car repair manuals for everyone.
Manuals through 2025 now available!

Our trusted friends have launched a new website named LEMON, which has newer manuals. It also contains all the CHARM manuals.

LEMON is the spiritual successor to CHARM, I recommend you try it!

Link: lemon-manuals.la or lemon-manuals.org.ua

(Some people have issue connecting. LEMON is investigating. For now, use Firefox or change your DNS server)

Or, hide this message: temporarily or permanently

Overhaul

Intake Manifold

DISASSEMBLY

1. Remove the throttle body.
2. Remove the purge control solenoid valve.
3. Remove the manifold absolute pressure sensor.
4. Remove the EGR pipe.






5. Remove the fuel delivery pipes.

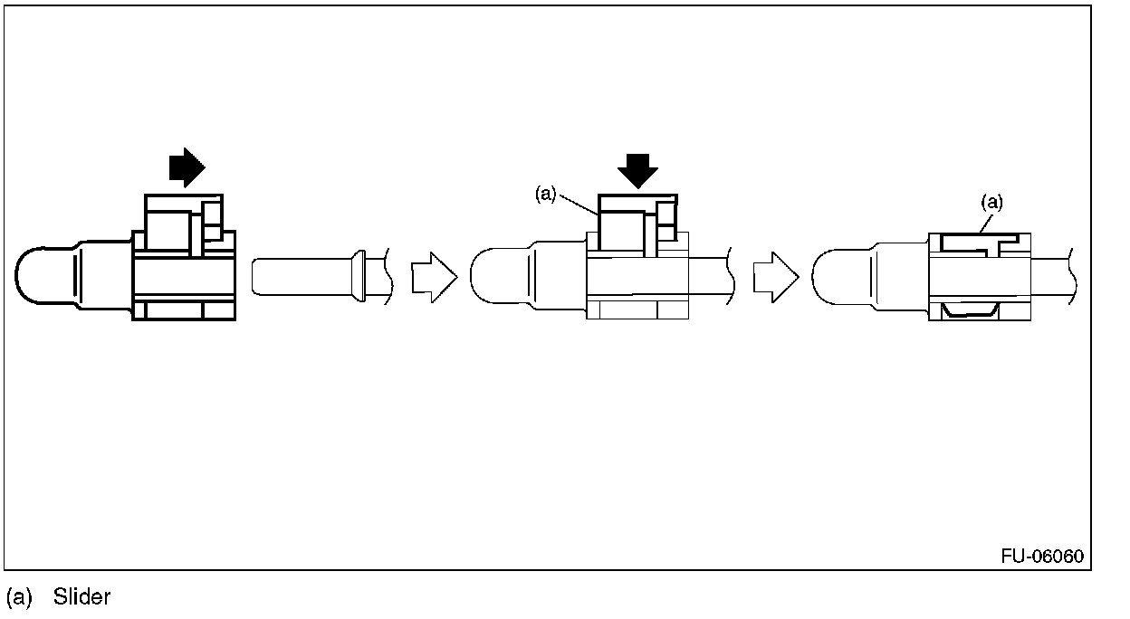
NOTE: Disconnect the quick connector as shown in the figure.









6. Remove the fuel pipe and cap.






ASSEMBLY
Assemble in the reverse order of disassembly.

NOTE: Use a new gasket.

Tightening torque: 6.4 N.m (0.7 kgf.m, 4.7 ft.lb)






- Connect the quick connector as shown in the figure.

CAUTION:
- Check that there is no damage or dust on the quick connector. If necessary, clean the seal surface of the pipe.
- When connecting the quick connector, make sure to insert the pipe all the way in before locking the slider.
- When it is difficult to lock the slider, check that the pipe is fully inserted.
- Make sure that the quick connector is securely connected.









NOTE:
Temporarily install the EGR pipe, and tighten it when installing the intake manifold.