Operation CHARM: Car repair manuals for everyone.
Manuals through 2025 now available!

Our trusted friends have launched a new website named LEMON, which has newer manuals. It also contains all the CHARM manuals.

LEMON is the spiritual successor to CHARM, I recommend you try it!

Link: lemon-manuals.la or lemon-manuals.org.ua

(Some people have issue connecting. LEMON is investigating. For now, use Firefox or change your DNS server)

Or, hide this message: temporarily or permanently

Removal and Replacement

Intake Manifold

REMOVAL

1. Release the fuel pressure.
2. Disconnect the ground cable from battery.






3. Open the fuel filler lid and remove the fuel filler cap.
4. Lift up the vehicle.
5. Remove the under cover RH.
6. Drain approximately 3.0 l (3.2 US qt, 2.6 Imp qt) of coolant.
7. Remove the air intake boot.
8. Disconnect the preheater hose from throttle body.






9. Disconnect the connector (A) from the purge control solenoid valve.
10. Disconnect the clip (B) which holds the PCV hose.
11. Remove the nut (C) which holds EGR pipe from the water pipe assembly.
12. Loosen the bolt (D) which secures the EGR pipe to the intake manifold.






13. Disconnect the vacuum hose (A) from intake manifold.
14. Disconnect the connector (B) from manifold absolute pressure sensor.
15. Disconnect the connector (C) from the throttle position sensor.






16. Disconnect the brake booster vacuum hose from the intake manifold.






17. Disconnect the connector (A) from the mass air flow and intake air temperature sensor, and remove the clip (B) which holds the mass air flow and intake air temperature sensor harness.
18. Remove the suction hose (C) from the air cleaner case (rear).






19. Remove the air cleaner case (rear).






20. Remove the intake manifold protector RH.






21. Disconnect the fuel delivery pipe from the fuel pipe RH.

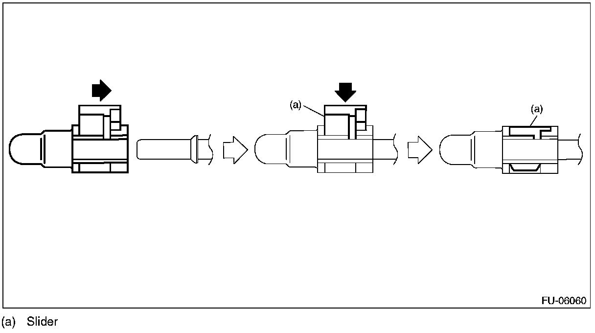
NOTE: Disconnect the quick connector as shown in the figure.









22. Remove the intake manifold protector LH.






23. Disconnect the fuel delivery pipe from the fuel pipe LH.

NOTE: Disconnect the quick connector as shown in the figure.









24. Disconnect the fuel delivery hose (A) and evaporation hose (B).

CAUTION:
- Be careful not to spill fuel.
- Catch the fuel from hoses using a container or cloth.


1. Attach ST to the fuel delivery pipe and push ST in the direction of arrow mark to disconnect the quick connector of the fuel delivery hose (A).
ST 42099AE000 QUICK CONNECTOR RELEASE
2. Remove the clip and disconnect the evaporation hose (B) from the evaporation pipe.






25. Remove the intake manifold from the tumble generator valve assembly.






26. Disconnect the connector from the engine, and then remove the engine harness.

NOTE: Refer to "COMPONENT" of "General Description" for how to disconnect the engine harness connectors.






INSTALLATION

1. Connect the connectors to the engine, and install the engine harness.

NOTE: Refer to "COMPONENT" of "General Description" for how to connect the engine harness connectors.

Tightening torque: 6.4 N.m (0.7 kgf.m, 4.7 ft.lb)






2. Install the intake manifold to the tumble generator valve assembly.

NOTE: Use a new gasket.

Tightening torque: 8.3 N.m (0.8 kgf.m, 6.1 ft.lb)






3. Connect the fuel delivery hose (A) and evaporation hose (B).






4. Connect the fuel delivery pipe to the fuel pipe LH.
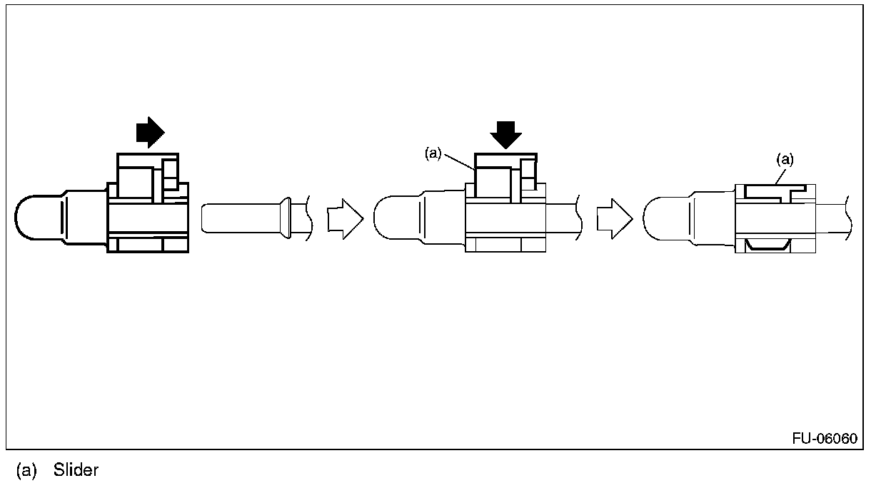
- Connect the quick connector as shown in the figure.

CAUTION:
- Check that there is no damage or dust on the quick connector. If necessary, clean the seal surface of the pipe.
- When connecting the quick connector, make sure to insert the pipe all the way in before locking the slider.
- When it is difficult to lock the slider, check that the pipe is fully inserted.
- Make sure that the quick connector is securely connected.










5. Install the intake manifold protector LH.

Tightening torque: 6.4 N.m (0.7 kgf.m, 4.7 ft.lb)






6. Connect the fuel delivery pipe to the fuel pipe RH.
- Connect the quick connector as shown in the figure.

CAUTION:
- Check that there is no damage or dust on the quick connector. If necessary, clean the seal surface of the pipe.
- When connecting the quick connector, make sure to insert the pipe all the way in before locking the slider.
- When it is difficult to lock the slider, check that the pipe is fully inserted.
- Make sure that the quick connector is securely connected.










7. Install the intake manifold protector RH.

Tightening torque: 6.4 N.m (0.7 kgf.m, 4.7 ft.lb)






8. Install the air intake case (rear).






9. Install the clip (B) which secures the air flow and intake air temperature sensor harness, and connect the connector (A) to the air flow and intake air temperature sensor.
10 Install the suction hose (C) to the air cleaner case (rear).






11. Connect the brake booster vacuum hose to the intake manifold.






12. Connect the vacuum hose (A) to the intake manifold.
13. Connect the connector (B) to the manifold absolute pressure sensor.
14. Connect the connector (C) to the throttle position sensor.






15. Connect the connector (A) to the purge control solenoid valve.
16. Hold the PCV hose assembly with clip (B).
17. Tighten the nut (C) and bolt (D) which hold EGR pipe to the water pipe assembly.

NOTE:
- Use a new gasket.
- Always tighten the EGR pipe at (C) first, and then (D).

Tightening torque: 6.4 N.m (0.7 kgf.m, 4.7 ft.lb)






18. Install the preheater hose.






19. Install the air intake boot.
20. Lift up the vehicle.
21. Install the under cover RH.
22. Lower the vehicle.
23. Connect the battery ground terminal.






24. Fill engine coolant.