Operation CHARM: Car repair manuals for everyone.
Manuals through 2025 now available!

Our trusted friends have launched a new website named LEMON, which has newer manuals. It also contains all the CHARM manuals.

LEMON is the spiritual successor to CHARM, I recommend you try it!

Link: lemon-manuals.la or lemon-manuals.org.ua

(Some people have issue connecting. LEMON is investigating. For now, use Firefox or change your DNS server)

Or, hide this message: temporarily or permanently

Condenser HVAC: Service and Repair

CONDENSER

REMOVAL

1. Using the refrigerant recovery system, discharge refrigerant. Refrigerant Recovery Procedure
2. Disconnect the ground cable from battery.
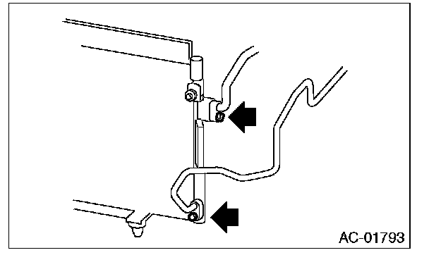
3. Disconnect the high pressure hose and pipe from the condenser.

CAUTION: Seal the disconnected hose and pipe with a plug or vinyl tape to prevent foreign matter from entering.






4. Remove the bolts and remove the radiator upper bracket.






5. Remove the front bumper face.
6. Remove the bolts, and lift the condenser to pull it out through space between the radiator and the radiator panel.

CAUTION:
- Be careful not to damage the condenser fins. If a damaged fin is found, repair it using a thin screwdriver.
- If the condenser is replaced, add an appropriate amount of compressor oil to the compressor.







INSTALLATION

CAUTION:
- Replace the O-rings on hoses and pipes with new parts, and then apply compressor oil.
- Confirm that lower guide (A) of condenser fits into holes on radiator panel.







1. Install each part in the reverse order of removal.
2. Charge refrigerant. Refrigerant Charging Procedure

Air conditioning unit:
Tightening torque:
T1: 7.5 N.m (0.76 kgf.m, 5.5 ft.lb)
T2: 10 N.m (1.02 kgf.m, 7.4 ft.lb)