Operation CHARM: Car repair manuals for everyone.
Manuals through 2025 now available!

Our trusted friends have launched a new website named LEMON, which has newer manuals. It also contains all the CHARM manuals.

LEMON is the spiritual successor to CHARM, I recommend you try it!

Link: lemon-manuals.la or lemon-manuals.org.ua

(Some people have issue connecting. LEMON is investigating. For now, use Firefox or change your DNS server)

Or, hide this message: temporarily or permanently

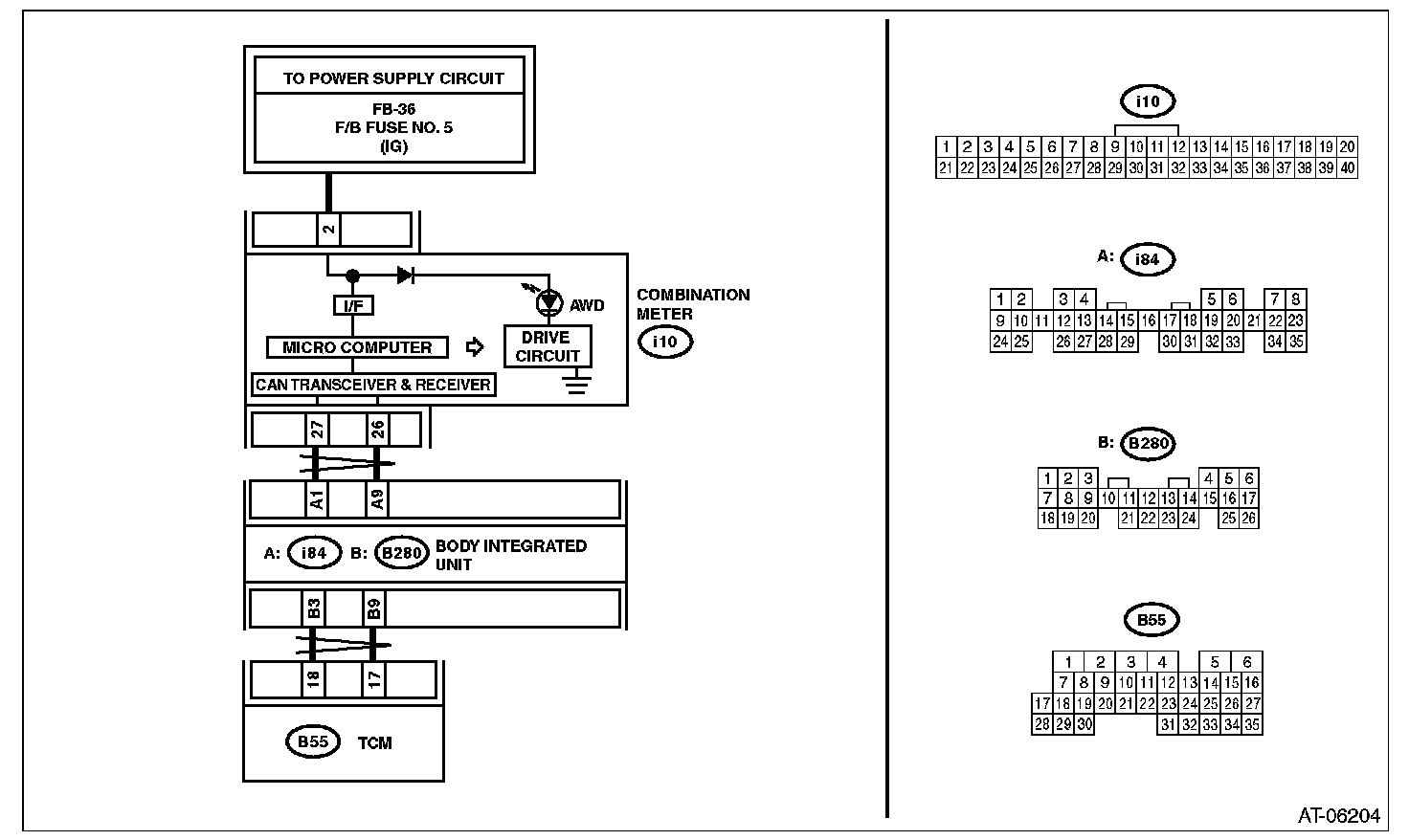
AWD Warning Light Display

AWD Warning Light Display

OPERATION

AWD warning light illuminates or blinks at start, or when AWD is faulty.
^ If normal
AWD light always illuminates when the ignition switch is ON (engine OFF). Light goes off after two seconds from engine ON.
^ Faulty
AWD warning light blinks at 2 Hz, when tires with different diameters are installed, or when the vehicle is driven with air pressure of any of the four tires significantly low.
^ When AWD is released
AWD warning light always illuminates when the fuse is installed on the FWD fuse holder and the AWD is released.





If the AWD light does not illuminate, or illumination patterns are not as above, check the AWD light circuit.

INSPECTION

DIAGNOSIS:
^ AWD light circuit is open or shorted.
^ Combination meter malfunction
^ TCM malfunction

TROUBLE SYMPTOM:
^ When the ignition switch is turned to ON, the AWD light does not illuminate.
^ AWD light remains lit after engine start.

WIRING DIAGRAM: