Operation CHARM: Car repair manuals for everyone.
Manuals through 2025 now available!

Our trusted friends have launched a new website named LEMON, which has newer manuals. It also contains all the CHARM manuals.

LEMON is the spiritual successor to CHARM, I recommend you try it!

Link: lemon-manuals.la or lemon-manuals.org.ua

(Some people have issue connecting. LEMON is investigating. For now, use Firefox or change your DNS server)

Or, hide this message: temporarily or permanently

Air Bag Systems: Service and Repair

AIRBAG CONNECTOR

PROCEDURE


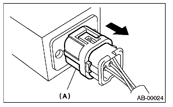
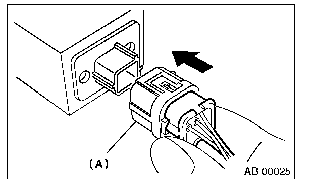
1. POWER SUPPLY
1. How to disconnect:

CAUTION: When pulling the slide lock or disconnecting connector, be sure to hold the connector, not the harness.

Press the lock (A), and then disconnect the connector.






2. How to connect:

CAUTION: Be sure to insert the connector in until it is locked. Then pull it gently to make sure that it is locked.






2. AIRBAG CONTROL MODULE

1. How to disconnect:
Press the lock lever plate (A) and pull out the lock lever.





2. How to connect:

CAUTION: Be sure to insert the connector in until it is locked. Then pull it gently to make sure that it is locked.

Insert the connector and push the lock lever in securely.

3. DRIVER'S AIRBAG MODULE (BETWEEN AIRBAG MAIN HARNESS AND ROLL CONNECTOR) AND PASSENGER'S AIRBAG MODULE

1. How to disconnect:

CAUTION: When pulling the slide lock or disconnecting connector, be sure to hold the connector, not the harness.

1. Push the slide lock (A) in the direction of arrow.





2. With the slide lock pushed, disconnect the connector.






2. How to connect:

CAUTION: Be sure to insert the connector in until it is locked. Then pull it gently to make sure that it is locked.

Holding the connector, push it in securely until a clicking sound is heard.






4. DRIVER'S AIRBAG MODULE, CURTAIN AIRBAG MODULE AND PRETENSIONER

1. How to disconnect:
1. Using a flat tip screwdriver, pry the push lock upward to unlock.






2. Pull the connector to disconnect from the driver's airbag module assembly or the retractor assembly.






2. How to connect:

CAUTION:
- Be sure to insert the connector in until it is locked.
- Be sure to push the push lock in securely. Then pull it gently to make sure that it is locked.







Connect the connector in the reverse order of disconnecting. At this time, be sure to insert until a clicking sound is heard.

5. SIDE AIRBAG SENSOR AND CURTAIN AIRBAG SENSOR

1. How to disconnect:

CAUTION: When pulling the slide lock or disconnecting connector, be sure to hold the connector, not the harness.

1. Push the lock arm.
2. Holding outer part, pull it one step in the direction of arrow.






3. Push the lock arm again.
4. Holding outer part, pull it in the direction of arrow to disconnect the connector.






2. How to connect:

CAUTION: Be sure to insert the connector in until it is locked. Then pull it gently to make sure that it is locked.

Holding the connector, push it in securely until a clicking sound is heard.






6. SATELLITE SAFING SENSOR

1. How to disconnect:

CAUTION: When pulling the slide lock or disconnecting connector, be sure to hold the connector, not the harness.

Holding outer part (A), pull it in the direction of arrow.






2. How to connect:

CAUTION:
- Do not touch the outer side section or else the outer side (A) will move back.
- Be sure to insert the connector in until it is locked. Then pull it gently to make sure that it is locked.

Holding the connector, push it in securely until a clicking sound is heard.






7. SIDE AIRBAG MODULE


1. How to disconnect:

CAUTION: When pulling the slide lock or disconnecting connector, be sure to hold the connector, not the harness.

1. Move the slide lock (A) in the direction of arrow and hold it.
2. With the slide lock (A) moved, pull the connector (B) in the direction of arrow.






2. How to connect:

CAUTION: Be sure to insert the connector in until it is locked. Then pull it gently to make sure that it is locked.

Holding the connector, push it in securely until a clicking sound is heard.






8. BUCKLE SWITCH RH

1. How to disconnect:

CAUTION: When pulling the slide lock or disconnecting connector, be sure to hold the connector, not the harness.

1. Move the slide lock (A) in the direction of arrow and hold it.
2. With the slide lock (A) moved, pull the connector (B) in the direction of arrow.






2. How to connect:

CAUTION: Be sure to insert the connector in until it is locked. Then pull it gently to make sure that it is locked.

Holding the connector, push it in securely until a clicking sound is heard.






9. FRONT SUB SENSOR

1. How to disconnect:

CAUTION: When pulling the slide lock or disconnecting connector, be sure to hold the connector, not the harness.

1. Push the lock arm.
2. Holding outer part, pull it for one level in the direction of arrow.






3. Push the lock arm again.
4. Holding outer part, pull it in the direction of arrow to separate the connector.





2. How to connect:

CAUTION: Be sure to insert the connector in until it is locked. Then pull it gently to make sure that it is locked.

Holding the connector, push it in securely until a clicking sound is heard.