Operation CHARM: Car repair manuals for everyone.
Manuals through 2025 now available!

Our trusted friends have launched a new website named LEMON, which has newer manuals. It also contains all the CHARM manuals.

LEMON is the spiritual successor to CHARM, I recommend you try it!

Link: lemon-manuals.la or lemon-manuals.org.ua

(Some people have issue connecting. LEMON is investigating. For now, use Firefox or change your DNS server)

Or, hide this message: temporarily or permanently

General Precautions

PRECAUTION

CAUTION

Please clearly understand and adhere to the following. They must be strictly followed to avoid minor or serious injury to the person doing the work or people in the area.

1. VEHICLE DYNAMICS CONTROL (VDC)
Handle the VDC as a total system. Do not disassemble or attempt to repair individual parts. Follow the directions in this manual when performing maintenance on the VDCCM&H/U. When parts other than those specified are disassembled, it is possible that the VDC system will not operate when needed or cause it to operate incorrectly and result in injury.

2. BRAKE FLUID
If brake fluid gets in your eyes or on your skin, do the following:
- Wash eyes and seek immediate medical attention.
- Wash your skin with soap and then rinse thoroughly with water.

3. RADIATOR FAN
The radiator fan may rotate without warning, even when the engine is not ON. Do not place your hand, cloth, tools or other items near the fan at any time.

4. ROAD TEST
Always conduct road tests in accordance with traffic rules and regulations to avoid bodily injury and interrupting traffic.

5. AIRBAG
To prevent bodily injury from unexpected deployment of airbags and unnecessary maintenance, follow the instructions in this manual when performing maintenance on the airbag components or nearby, around front of the vehicle (radiator panel, front wheel apron, front side frame, front bumper, front hood, front fender), around side of the vehicle (front door, rear door, center pillar, rear fender, side sill, rear wheel apron), around rear of the vehicle (rear seat cushion, rear floor, rear crossmember) and the airbag wiring harnesses or nearby. To prevent unexpected deployment, turn the ignition switch to OFF and disconnect the ground cable from battery, then wait at least 60 seconds to discharge backup power supply before starting work.

6. AIRBAG MODULE AND SEAT BELT PRETENSIONER DISPOSAL
To prevent bodily injury from unexpected airbag deployment, do not dispose the airbag modules and seat belt pretensioner in the same way as other waste. Follow all government regulations concerning disposal of refuse.

7. AIRBAG MODULE
Adhere to the following when handing and storing the airbag module to prevent bodily injury from unexpected deployment:
- Do not hold the harnesses or connectors to carry the module.
- Do not face the bag in the direction that it opens towards yourself or other people.
- Do not face the bag in the direction that it opens towards the floor or walls.

8. AIRBAG SPECIAL TOOL
To prevent unexpected deployment, only use special tools.

9. WINDOW
Always wear safety glasses when working around any glass to prevent glass fragments from damaging your eyes.

10. WINDOW ADHESIVE
Always use the recommended or equivalent adhesive when attaching glass to prevent it from coming loose and falling, resulting in accidents and injury.

11. OIL
When handling oil, adhere to the following to prevent unexpected accident.
- Prepare a container and cloth to prevent scattering of oil when performing work where oil can be spilled. If the fuel spills, wipe it off immediately to prevent from penetrating into floor or flowing out for environmental protection.
- Follow all government and local regulations concerning disposal of refuse when disposing.

12. FUEL
When handling and storing fuel, adhere to the following to prevent from unexpected accident.
- Be careful with fire.
- Prepare a container and cloth to prevent scattering of fuels when performing work where fuels can be spilled. If the fuel spills, wipe it off immediately to prevent from penetrating into floor or flowing out for environmental protection.
- Follow all government and local regulations concerning disposal of refuse when disposing.

13. ENGINE COOLANT
When handling engine coolant, adhere to the following to prevent from unexpected accident.
- Never remove the radiator cap since engine coolant may blow out when it is hot.
- Prepare a container and cloth to prevent scattering of engine coolant when performing work where engine coolant can be spilled. If the fuel spills, wipe it off immediately to prevent from penetrating into floor or flowing out for environmental protection.
- Follow all government and local regulations concerning disposal of refuse when disposing.

14. AIR CONDITIONER REFRIGERANT
In order to prevent from global warming, avoid releasing air conditioner refrigerant into the atmosphere. Using a refrigerant recovery system, discharge and recycle it.

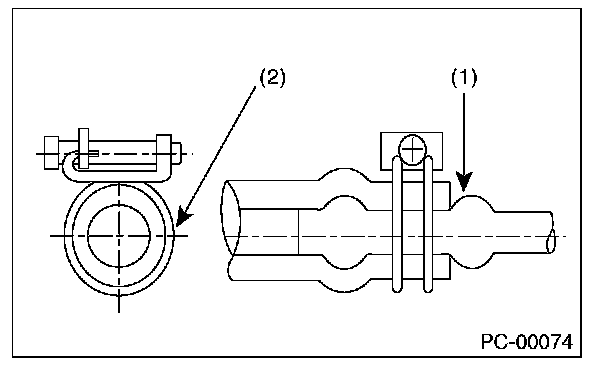
15. REMOVAL AND INSTALLATION OPERATION OF HOSES, ETC.
1. Before the removal and installation operation of hoses, etc.
- If you keep using the damaged or deformed hose, it results bleeds or leakage of the fat adheres or disconnection of the hose. Be careful not to spill fat adheres on exhaust pipes, etc. during maintenance to prevent emitting smoke or causing fires.
- Perform the operation with the hose removed. If the operation is performed without removing the hose, it may damage inner surface of the hose.

2. Removal and installation operation of hoses, etc. during the inspection

- Follow the instructions below when removing hose.
- Do not use a pointed hose remover (hose plucker) when using a general hose remover. It may damage the pipe surface or the hose.






- When draining hose using pliers, be sure to cover the hose with cloth and rotate the hose slightly to extract straight.

- If you keep using the hose, perform the inspection below and replace the hose with a new part if faulty.
- Replace the hose with a new part if it rides over the stay or spool.











- Check if the surface and the inner surface of the hose are damaged, cracked, bend, hardened, softened, swelled, peeled or deformed due to the adherence or the entry of the foreign matter by bending the hose. Replace with the new part if faulty.

- Follow the instructions below during installation.
- Check carefully for assembling position.
- Never use lubricants.
- Insert the hose to the specified position (stopper or spool) securely.











- Check if the position, direction and hose layout of the hose clamp are correct. (Check if the position, direction, length and the gap around are correct, or if it is different from the condition before the work)
- After the installation, check that the hose is installed securely and there is no leakage. (Check if it is fixed securely with the clamp)

- For hose clips and hose clamps, perform the inspection below and replace them with a new part if faulty.
- Check for deformation, rust, damage or foreign matters.
- For hose clip, check if it works and has clamping force.
- For hose clamp, check if it can tighten screw, not ovalized or the screw is not damaged.

- For hose pipes, perform the inspection below and replace with a new part if faulty.
Check if the pipe is not damaged, rusted, peeled (peeled plates included), covered with foreign matter, bent, compressed or cracked.

- For the parts below, replaces with a new part when the hose is removed or the installation position is changed.
ATF cooler hose, power steering suction hose, power steering return hose, fuel hose (delivery/ return)