Operation CHARM: Car repair manuals for everyone.
Manuals through 2025 now available!

Our trusted friends have launched a new website named LEMON, which has newer manuals. It also contains all the CHARM manuals.

LEMON is the spiritual successor to CHARM, I recommend you try it!

Link: lemon-manuals.la or lemon-manuals.org.ua

(Some people have issue connecting. LEMON is investigating. For now, use Firefox or change your DNS server)

Or, hide this message: temporarily or permanently

Fuel Tank Pressure Sensor: Testing and Inspection

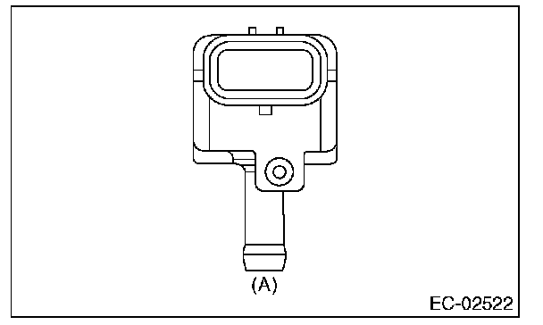
Fuel Tank Pressure Sensor

INSPECTION

1. FUEL TANK PRESSURE SENSOR
1. Check that the fuel tank pressure sensor has no deformation, cracks or other damages.
2. Connect dry-cell battery positive terminal to terminal No. 3 and dry-cell battery ground terminal to terminal No. 2, circuit tester positive terminal to terminal No. 1 and the circuit tester negative terminal to terminal No. 2.

NOTE:
- Use new dry-cell batteries.
- Using circuit tester, check the voltage of a single dry-cell battery is 1.6 V or more. And also check the voltage of three batteries in series is between 4.8 V and 5.2 V.






3. Connect the Mighty Vac to the pressure port (A) of fuel tank pressure sensor.






4. Check the voltage when generating vacuum and positive pressure using Mighty Vac.

CAUTION: Do not apply pressure out of the range of -10 - 20 kPa (-0.1 - 0.2 kgf/sq.cm, -1.45 - 2.90 psi). Doing so may damage the fuel tank pressure sensor.






2. OTHER INSPECTIONS

Check that the hose has no cracks, damage or loose part.