Operation CHARM: Car repair manuals for everyone.
Manuals through 2025 now available!

Our trusted friends have launched a new website named LEMON, which has newer manuals. It also contains all the CHARM manuals.

LEMON is the spiritual successor to CHARM, I recommend you try it!

Link: lemon-manuals.la or lemon-manuals.org.ua

(Some people have issue connecting. LEMON is investigating. For now, use Firefox or change your DNS server)

Or, hide this message: temporarily or permanently

Cylinder Head Assembly

Cylinder Head
Warping limit (Mating surface with cylinder block) mm (in) 0.035 (0.0014)
Grinding limit mm (in) 0.3 (0.012)
Standard height mm (in) 127.5 (5.02)

Cylinder Head bolts





Clean the bolt threads and the bolt holes in the cylinder block.

CAUTION:
To avoid erroneous tightening of the bolts, clean out the bolt holes sufficiently by blowing with compressed air to eliminate engine coolant etc.

Apply a sufficient coat of engine oil to the washer and bolt thread.
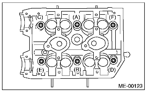
Tighten all bolts to 40 Nm (4.1 kgf-m, 29.5 ft-lb) in alphabetical order.
Tighten all bolts to 95 Nm (9.7 kgf-m, 70.1 ft-lb) in alphabetical order.

CAUTION:
If the bolt makes stick-slip noise (squeaking sound) during tightening, repeat the procedure from step (1). In this case, the cylinder head gasket can be reused.

Loosen all the bolts by 180° in the reverse order of installing, and loosen them further by 180°.
Tighten all bolts to 10 Nm (1.0 kgf-m, 7.4 ft-lb) in alphabetical order.
Tighten all bolts to 30 Nm (3.1 kgf-m, 22.1 ft-lb) in alphabetical order.
Tighten all bolts to 70 Nm (7.1 kgf-m, 51.6 ft-lb) in alphabetical order.
Tighten all bolts by 80 - 90° in alphabetical order.
Tighten all bolts by 40 - 45° in alphabetical order. Caution: Do not exceed 45°
Tighten bolts (A) and (B) by 40 - 45°. Caution: Do not exceed 45°

CAUTION:
Make sure the total "tightening angle" of steps does not exceed 90°.

Camshaft Cap bolts





Tightening torque:
T1: 9.75 Nm (1.0 kgf-m, 7.2 ft-lb)
T2: 20 Nm (2.0 kgf-m, 14.8 ft-lb)

After tightening the camshaft cap, ensure the camshaft rotates only slightly while holding it at base circle.

Camshaft Sprocket Bolt
Tightening torque:
Tighten to 30 Nm (3.1 kgf-m, 22.1 ft-lb)
Then tighten further by 45°.