Operation CHARM: Car repair manuals for everyone.
Manuals through 2025 now available!

Our trusted friends have launched a new website named LEMON, which has newer manuals. It also contains all the CHARM manuals.

LEMON is the spiritual successor to CHARM, I recommend you try it!

Link: lemon-manuals.la or lemon-manuals.org.ua

(Some people have issue connecting. LEMON is investigating. For now, use Firefox or change your DNS server)

Or, hide this message: temporarily or permanently

Liftgate Window Glass: Service and Repair

Rear Gate Glass

REMOVAL

1. Remove the roof spoiler.
2. Remove the rear wiper motor.
3. Disconnect the connectors from rear defogger terminal.
4. Remove the rear gate glass in the same procedure as for windshield glass.

INSTALLATION

1. Apply the primer to the glass and body sides in the same procedure as for windshield glass.
2. Fabricate the cartridge nozzle tip as shown and set the sealant gun with the adhesive.







3. Install the molding.
4. Apply adhesive in the same procedure as for windshield glass.










5. Insert the glass locating pin into the hole on rear gate panel and push on the area around the locating pin to secure it.

NOTE: Insert the locating pin into the lower hole of the rear gate panel.







6. Push lightly all around the locating pin to seal it.
7. After completion of all work, allow the vehicle to stand for about 24 hours.

NOTE:
- When door is opened/closed after glass is bonded, always lower the door glass first, and then open/close it carefully.
- Move the vehicle slowly.
- For minimum drying time and vehicle standing time before driving after bonding, follow instructions or instruction manual from the adhesive manufacturer.

8. After curing of adhesive, pour the water on external surface of vehicle to check that there are no water leaks.

NOTE: When a vehicle is returned to the user, tell him or her that the vehicle should not be subjected to heavy impact for at least three days.

9. Connect the rear defogger terminals.
10. Install the rear wiper.
11. Install the rear spoiler.

REPLACEMENT

When replacing only the molding, perform work according to the following procedures. (when reusing the rear gate glass)

1. Remove the rear gate glass from the vehicle.
2. From the removed rear gate glass, completely remove the adhesive and molding.
3. Check the silver print (1) (2) (3) (4) of the rear gate glass on the passenger room side surface.







4. Degrease the rear gate glass (passenger room side) molding adhesive surface (A) with a primer.







5. Remove the backing paper of the molding, and match the silver print (1) and the end of the molding.







6. Match the corner of the molding to the corner of the glass end surface, and adhere the molding to be within the silver print (1) on both sides.

CAUTION:
- Apply the molding without pulling it, and while applying pressure.
- After applying, push on the molding lightly to affix securely.
- Temporarily mount the glass, and make sure that there are no gaps between the molding and the rear gate panel.


NOTE: When application of the molding is finished, if there is protrusion from the silver print (1) on the other side, cut with a razor blade so that it is will be between the silver print (1) and (2).

7. Degrease the rear gate glass seal adhesion surface (B) with primer.







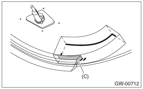
8. Remove the backing sheet of the sticker, and apply the sealer based on the positions of the silver print (3) and (4) of the rear gate glass (passenger room side).







CAUTION:
- Because the seal is applied on top of the molding, make sure to apply so that there is no gap at side face (C) of the molding.
- Apply so that the end of the seal does not protrude from the end of the glass. If it protrudes from the glass, reapply.