Operation CHARM: Car repair manuals for everyone.
Manuals through 2025 now available!

Our trusted friends have launched a new website named LEMON, which has newer manuals. It also contains all the CHARM manuals.

LEMON is the spiritual successor to CHARM, I recommend you try it!

Link: lemon-manuals.la or lemon-manuals.org.ua

(Some people have issue connecting. LEMON is investigating. For now, use Firefox or change your DNS server)

Or, hide this message: temporarily or permanently

Oil Pump: Service and Repair

Scavenge Pump

REMOVAL

CAUTION:
If engine oil is spilt onto the exhaust pipe, wipe it off with cloth to avoid emission of smoke or causing a fire.

NOTE:
Turbo model is equipped with scavenge pump.

1) Lift up the vehicle.
2) Remove the under cover.
3) Remove the union bolt (A) that holds the oil pipe (C) to the scavenge pump (E).
4) Remove the bolt (D) that holds the scavenge pump (E) to the cylinder head, and remove the scavenge pump using a flat tip screwdriver.

CAUTION:
Be careful not to damage the mating surface of the cylinder head and scavenge pump.





INSTALLATION

Install in the reverse order of removal.

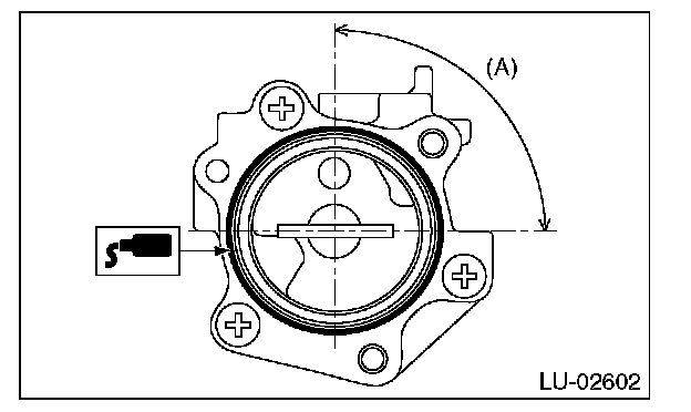
CAUTION:
Do not start applying liquid gasket from (A) as shown in the following figure.

NOTE:
^ Use a new gasket.
^ Install within 5 min. after applying liquid gasket.

Liquid gasket:
THREE BOND 1217G (Part No. K0877Y0100) or equivalent





Tightening torque:
T1: 6.4 Nm (0.7 kgf-m, 4.7 ft-lb)
T2: 29 Nm (3.0 kgf-m, 21.4 ft-lb)





INSPECTION

1) Check that the scavenge pump and oil pipe have no deformation, cracks and other damages.
2) Check that the scavenge pump has no cracks, damage or loose part.