Operation CHARM: Car repair manuals for everyone.
Manuals through 2025 now available!

Our trusted friends have launched a new website named LEMON, which has newer manuals. It also contains all the CHARM manuals.

LEMON is the spiritual successor to CHARM, I recommend you try it!

Link: lemon-manuals.la or lemon-manuals.org.ua

(Some people have issue connecting. LEMON is investigating. For now, use Firefox or change your DNS server)

Or, hide this message: temporarily or permanently

Drive Pinion Shaft Assembly

Drive Pinion Shaft Assembly

REMOVAL

1) Remove the transmission assembly from the vehicle.
2) Remove the air breather hose.
3) Remove the oil pan and control valve body.
4) Remove the transmission harness.
5) Remove the extension case.
6) Remove the rear drive shaft.
7) Remove the transfer clutch assembly.
8) Remove the transfer reduction driven gear assembly.
9) Remove the intermediate case.
10) Remove the forward clutch assembly.
11) Remove the transmission case.
12) Remove the primary pulley, secondary pulley and variator chain.
13) Using the ST, remove the drive pinion retainer and lubrication pipe.
ST 18270KA020 SOCKET (E20)





14) Remove the O-ring.





15) Remove the oil pump.





16) Remove the O-ring.





INSTALLATION

1) Clean the mating surface of drive pinion retainer and converter case.
2) Adjust the backlash and tooth contact between drive pinion shaft assembly and the front differential side gear.
3) Install the O-ring for oil pump to drive pinion retainer.

NOTE:
^ Use new O-rings.
^ Apply CVTF to the O-ring.





4) Install the oil pump.

NOTE:
Apply CVTF to the bolt.

Tightening torque:
8.5 Nm (0.9 kgf-m, 6.3 ft-lb)





5) Apply liquid gasket seamlessly to the mating surface of drive pinion retainer.

NOTE:
Be careful not to block the arrowed hole when applying liquid gasket.

Liquid gasket:
THREE BOND 1215 (Part No. 004403007) or equivalent





6) Install the O-ring to the lubrication pipe.

NOTE:
^ Use new O-rings.
^ Apply CVTF to the O-ring.





7) Install the drive pinion retainer and lubrication pipe to converter case and tighten the bolt using the ST.
ST 18270KA020 SOCKET (E20)

NOTE:
Do not confuse the three different-length bolts when installing.

Tightening torque:
43 Nm (4.4 kgf-m, 31.7 ft-lb)





8) Install the primary pulley, secondary pulley and variator chain.
9) Install the transmission case.
10) Install the forward clutch assembly.
11) Install the intermediate case.
12) Install the transfer reduction driven gear assembly.
13) Install the transfer clutch assembly.
14) Install the rear drive shaft.
15) Install the extension case.
16) Install the transmission harness.
17) Install the oil pan and control valve body.
18) Install the air breather hose.
19) Install the transmission assembly to the vehicle.

DISASSEMBLY

1) Remove the drive pinion assembly.





2) Flatten the tab of the lock nut.
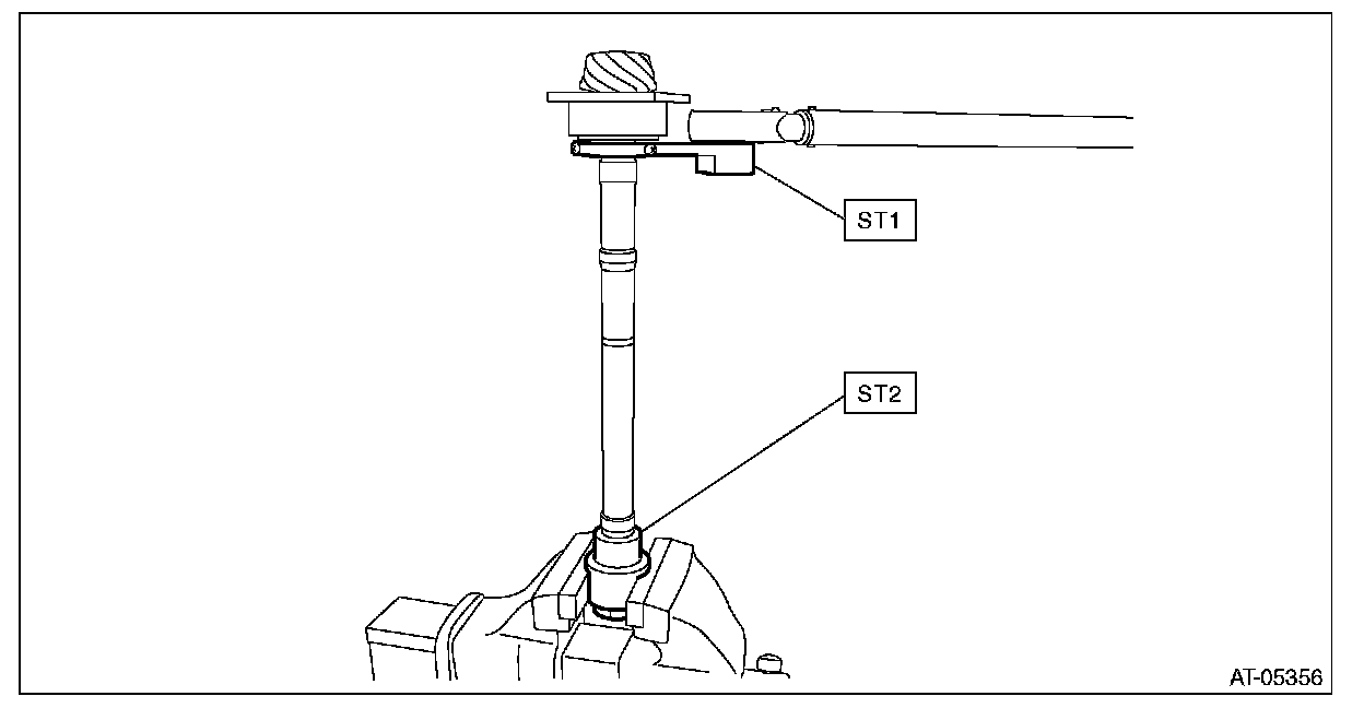
3) Using ST1 and ST2, fix at the spline portion of drive pinion shaft to remove the lock nut.
ST1 18620AA000 WRENCH
ST2 18667AA010 HOLDER





4) Remove the taper roller bearing and outer race from drive pinion shaft.





5) Separate the front roller bearing from the drive pinion shaft using the ST.
ST 498077000 REMOVER





6) Remove the two oil seals using a screwdriver wrapped with cloth etc.

CAUTION:
Do not damage the fitting surface of drive pinion bearing.





7) Remove the plug from drive pinion retainer.

ASSEMBLY

1) Install the O-ring to plug and install the plug to drive pinion retainer.

NOTE:
^ Use new O-rings.
^ Apply CVTF to the O-ring.

Tightening torque:
25 Nm (2.5 kgf-m, 18.4 ft-lb)

2) Using the ST, install the oil seal to drive pinion retainer.

NOTE:
^ Apply CVTF to the oil seal press-fitting surface and lip.
^ Install the oil seal in the correct direction.

Pulley side
ST 18657AA020 OIL SEAL INSTALLER





Front differential side
ST 499277100 INSTALLER





3) Measure the dimension "A" of drive pinion shaft.
ST 398643600 GAUGE





4) Press-fit the new inner bearing inner race using the ST.
ST 499277200 INSTALLER





5) Press-fit the new outer bearing outer race and inner bearing inner race.

CAUTION:
Damage may result if too much force is applied to the roller bearing.

NOTE:
Press in to a position where the bearing rotates smoothly without play.





6) Tighten a new lock nut using the ST. Using the following formula, calculate the torque for a torque wrench.
T2 = L2/(L1 + L2) � T1
T1: 130 Nm (13.3 kgf-m, 95.9 ft-lb)
[Required torque setting]
T2: Tightening torque
L1: ST1 length 0.1 m (3.94 in)
L2: Torque wrench length
Example:





ST1 18620AA000 WRENCH
ST2 18667AA010 HOLDER

NOTE:
Tighten the lock nut while directly aligning ST1 and torque wrench.





7) Apply differential gear oil to roller of bearing and rotate the bearing several times.
8) Measure the starting torque of the bearing. Make sure the starting torque is within the specified range. If the torque is not within specified range, replace the roller bearing.

Starting torque:
11.6 - 34.7 N (1.2 - 3.5 kgf, 2.6 - 7.8 lb)





9) Crimp the lock nut in 2 locations.
10) Measure the dimension "B" of the drive pinion shaft.
ST 398643600 GAUGE





11) Obtain thickness "t" mm (in) of the drive pinion shim.
t = 6.55±0.1225 - (B - A)
12) Select three or less shims from following table.





13) Install the shims selected for drive pinion retainer and drive pinion shaft assembly.

NOTE:
Be careful not to bend the shim.

Tightening torque:
70 Nm (7.1 kgf-m, 51.6 ft-lb)





INSPECTION

^ Make sure that all component parts are free of scratches, holes and other faults.
^ Check the tooth contact.
^ Check the bearing preload of drive pinion shaft.

CAUTION:
Before measuring, apply differential gear oil to roller of bearing and rotate the bearing several times.

Starting torque:
11.6 - 34.7 N (1.2 - 3.5 kgf, 2.6 - 7.8 lb)





ADJUSTMENT

1) Remove the liquid gasket from the mating surface completely.
2) Using the ST, install the drive pinion retainer to converter case.
ST1 18270KA020 SOCKET (E20)

NOTE:
Do not confuse the three different-length bolts when installing.

Tightening torque:
43 Nm (4.4 kgf-m, 31.7 ft-lb)





3) Rotate the drive pinion several times using ST1 and ST2.
ST1 18667AA010 HOLDER
ST2 499787700 WRENCH





4) Adjust the drive pinion and hypoid driven gear backlash.
5) Using the ST, remove the drive pinion retainer from converter case.
ST1 18270KA020 SOCKET (E20)
6) Apply lead-free red dye evenly on the both sides of three to four teeth of the hypoid driven gear. Then install the drive pinion retainer and rotate the drive pinion in both directions several times. Remove the drive pinion retainer and check the tooth contact pattern. If the teeth contact is inappropriate, adjust the backlash or thickness of the shim.

NOTE:
After correction, wipe off the lead-free red dye.

^ Correct tooth contact
Check item: Tooth contact surface is slightly shifted toward the toe side under a no-load condition. (When driving, it moves towards the heel side.)





^ Face contact
Check item: Backlash is too large.
Contact pattern





Corrective action: Increase thickness of pinion height adjusting washer according to the procedure for bringing drive pinion close to hypoid driven gear side.





^ Flank contact
Check item: Backlash is too small.
Contact pattern





Corrective action: Reduce the thickness of pinion height adjusting washer according to the procedure for bringing drive pinion away from hypoid driven gear.





^ Toe contact (inside contact)
Check item: Teeth contact area is too small.
Contact pattern





Corrective action: Reduce the thickness of pinion height adjusting washer according to the procedure for bringing drive pinion away from hypoid driven gear side.





^ Heel contact (outside end contact)
Check item: Teeth contact area is too small.
Contact pattern





Corrective action: Increase the thickness of the pinion height adjusting washer according to the procedures for moving the drive pinion closer to the hypoid driven gear.





7) If tooth contact is correct, mark the differential side retainer position and loosen. After fitting a new O-ring and oil seal, screw in the differential side retainer to the marked position.
8) Tighten the lock plate with specified torque.

Tightening torque:
25 Nm (2.5 kgf-m, 18.4 ft-lb)