Operation CHARM: Car repair manuals for everyone.
Manuals through 2025 now available!

Our trusted friends have launched a new website named LEMON, which has newer manuals. It also contains all the CHARM manuals.

LEMON is the spiritual successor to CHARM, I recommend you try it!

Link: lemon-manuals.la or lemon-manuals.org.ua

(Some people have issue connecting. LEMON is investigating. For now, use Firefox or change your DNS server)

Or, hide this message: temporarily or permanently

Front Reduction Drive Gear

Front Reduction Drive Gear

REMOVAL

1) Remove the transmission assembly from the vehicle.
2) Remove the air breather hose.
3) Remove the oil pan and control valve body.
4) Remove the transmission harness.
5) Remove the primary speed sensor.
6) Remove the extension case.
7) Remove the rear drive shaft.
8) Remove the transfer clutch assembly.
9) Remove the transfer reduction driven gear assembly.
10) Remove the intermediate case.
11) Remove the forward clutch assembly.
12) Remove the transmission case.
13) Remove the primary pulley, secondary pulley and variator chain.
14) Remove the drive pinion shaft assembly.
15) Remove the converter case cover.
16) Remove the front reduction drive gear and front reduction driven gear together.





17) Remove the seal ring.





INSTALLATION

1) Clean the mating surface of converter case cover and converter case.
2) Select the shim for front reduction drive gear.
3) Install the front reduction drive gear and front reduction driven gear together.





4) Install the converter case cover.
5) Install the drive pinion shaft assembly.
6) Install the primary pulley, secondary pulley and variator chain.
7) Install the transmission case.
8) Install the forward clutch assembly.
9) Install the intermediate case.
10) Install the transfer reduction driven gear assembly.
11) Install the transfer clutch assembly.
12) Install the rear drive shaft.
13) Install the extension case.
14) Install the primary speed sensor.
15) Install the transmission harness.
16) Install the control valve body and oil pan.
17) Install the air breather hose.
18) Install the transmission assembly to the vehicle.

DISASSEMBLY

1) Remove the seal ring and O-ring.





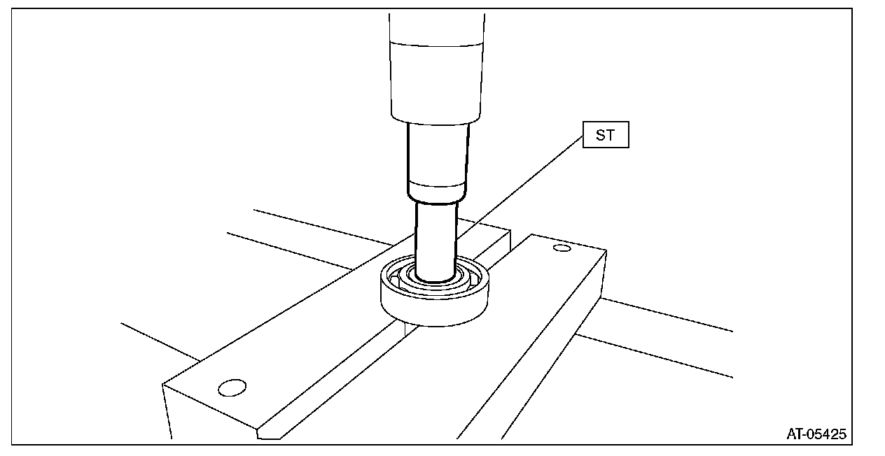
2) Using the ST, remove the ball bearing from front reduction drive gear.
ST 899864100 REMOVER





3) Using the ST, remove the ball bearing from front reduction drive gear.
ST 498077000 REMOVER





ASSEMBLY

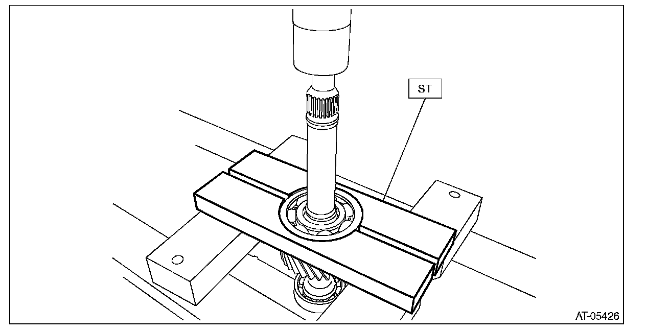
1) Using the ST, install the ball bearing to front reduction drive gear.

NOTE:
Use a new ball bearing.

ST 18651AA000 INSTALLER





2) Using ST1 and ST2, install the ball bearing to front reduction drive gear.

NOTE:
Use a new ball bearing.

ST1 499757002 PRESS SNAP RING
ST2 398177700 INSTALLER





3) Install the seal ring.

NOTE:
^ Use a new seal ring.
^ When installing the seal ring, do not expand the seal ring too much.
^ Install the O-ring when installing the torque converter assembly.





INSPECTION

^ Replace if its tooth surfaces are broken, damaged or excessively worn.
^ Check the bearing for seizure or wear.
^ Apply CVTF to bearing and rotate the bearing to check for noise or dragging etc.

ADJUSTMENT

1) Measure height "A" from the ST upper face to the bearing end face using the ST.
ST 398643600 GAUGE





2) Measure depth "B" from the converter case cover upper face to the bearing catch surface.





3) Using the ST, measure height "C" from the ST upper face to the converter case cover mating surface.
ST 398643600 GAUGE





4) Calculate clearance "T" using the following formula.
Calculation formula:
T mm = (A - 15) - ((C - 15) - B)
[T in = (A - 0.591) - ((C - 0.591) - B)]
T: Clearance
A: Depth from the ST upper face to the bearing end surface
B: Depth from the converter case cover upper face to the bearing catch surface
C: Height from the ST upper face to the converter case cover mating surface
15 mm (0.591 in): Thickness of ST