Operation CHARM: Car repair manuals for everyone.
Manuals through 2025 now available!

Our trusted friends have launched a new website named LEMON, which has newer manuals. It also contains all the CHARM manuals.

LEMON is the spiritual successor to CHARM, I recommend you try it!

Link: lemon-manuals.la or lemon-manuals.org.ua

(Some people have issue connecting. LEMON is investigating. For now, use Firefox or change your DNS server)

Or, hide this message: temporarily or permanently

Reduction Driven Gear

Reduction Driven Gear

REMOVAL

1) Remove the transmission from the vehicle.
2) Remove the extension case.
3) Remove the rear drive shaft.
4) Remove the transfer clutch assembly.
5) Remove the transfer reduction driven gear assembly.
6) Remove the intermediate case.
7) Remove the forward clutch assembly.
8) Remove the snap ring.





9) Remove the reduction driven gear assembly.





10) Remove the straight pin.





INSTALLATION

1) Install the straight pin to reduction driven gear assembly.





2) Fit the straight pin portion to the recess portion of transmission case and install the reduction driven gear and install the snap ring.





3) Select the snap ring.
4) Replace with the selected snap ring.

NOTE:
If the clearance measured in Step 3) is within standard, the snap ring replacement is not necessary.

5) Install the forward clutch assembly.
6) Install the intermediate case.
7) Install the transfer reduction driven gear assembly.
8) Install the transfer clutch assembly.
9) Install the rear drive shaft.
10) Install the extension case.
11) Install the transmission to vehicle.

DISASSEMBLY

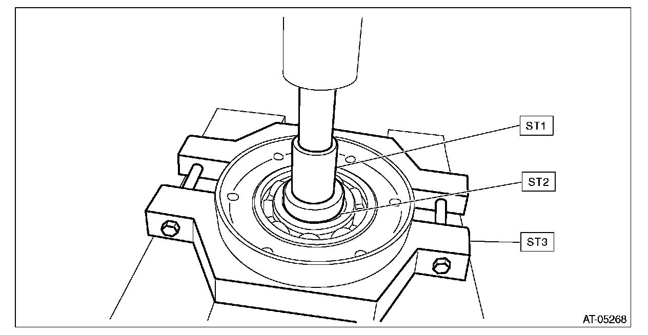
1) Remove the bearing retainer using ST1, ST2 and ST3.
ST1 899864100 REMOVER
ST2 398497701 SEAT
ST3 18767AA000 REMOVER





2) Remove the snap ring.





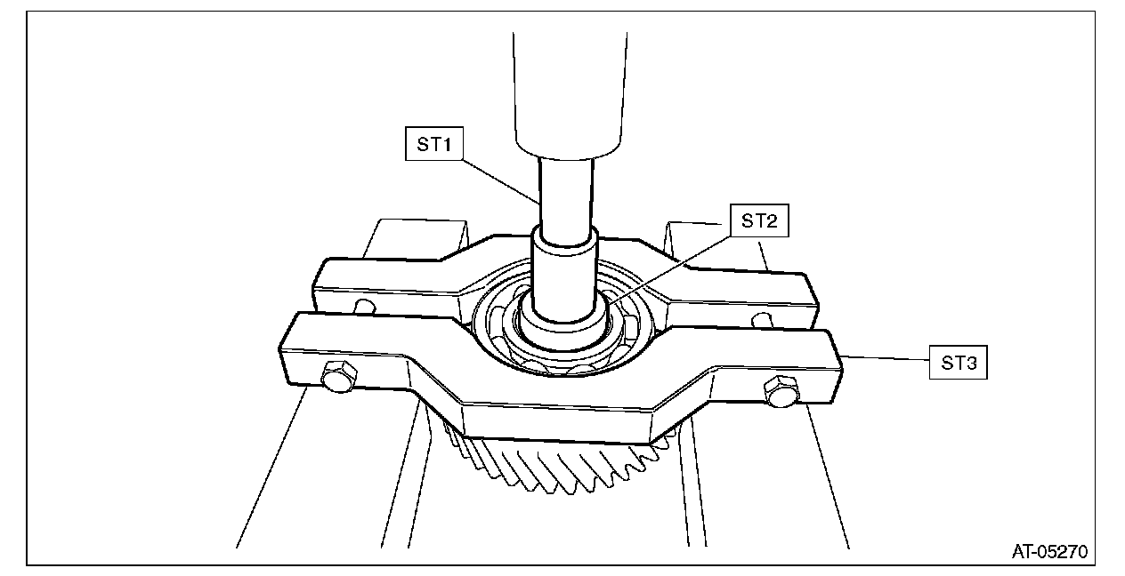
3) Remove the ball bearing using ST1, ST2 and ST3.
ST1 899864100 REMOVER
ST2 398497701 Seat
ST3 498077600 REMOVER





ASSEMBLY

1) Using the ST, install the ball bearing to bearing retainer.
ST 398177700 INSTALLER

NOTE:
^ Use a new ball bearing.
^ Make sure to install the ball bearing in the right direction.
^ Apply CVTF to the press-fitting area.





2) Using the ST, install the reduction driven gear.
ST 499277200 INSTALLER





INSPECTION

^ Check the ball bearing for smooth rotation.
^ Check the ball bearing for excessive looseness.
^ Check the reduction driven gear for breakage or damage.
^ Check the clearance between snap ring and transmission case and replace the snap ring as necessary.

ADJUSTMENT

1) Measure clearance "A" between snap ring and transmission case.

Specification:
0.05 - 0.25 mm (0.002 - 0.01 in)





2) If clearance "A" is out of standard, select the snap ring within standard.