Operation CHARM: Car repair manuals for everyone.
Manuals through 2025 now available!

Our trusted friends have launched a new website named LEMON, which has newer manuals. It also contains all the CHARM manuals.

LEMON is the spiritual successor to CHARM, I recommend you try it!

Link: lemon-manuals.la or lemon-manuals.org.ua

(Some people have issue connecting. LEMON is investigating. For now, use Firefox or change your DNS server)

Or, hide this message: temporarily or permanently

Transfer Clutch

Transfer Clutch

REMOVAL

1) Remove the transmission assembly from the vehicle.
2) Remove the extension case.
3) Remove the rear drive shaft.
4) Remove the thrust needle bearing and needle bearing.





5) Remove the transfer clutch assembly.





6) Remove the seal ring from transfer clutch assembly.





INSTALLATION

1) Apply Vaseline to the seal ring and attach it to the seal ring groove of transfer clutch assembly.

NOTE:
^ Use a new seal ring.
^ When installing the seal ring, do not expand the seal ring too much.





2) Install the transfer clutch assembly.





3) Select the thrust needle bearing.
4) Install the selected thrust needle bearing and needle bearing to transfer clutch assembly.

NOTE:
Install the thrust needle bearing in the correct direction.





5) Install the rear drive shaft.
6) Install the extension case.
7) Install the transmission assembly to the vehicle.

DISASSEMBLY

1) Remove the snap ring, and then remove the retaining plate, drive plate and driven plate.





2) Using the ST, remove the snap ring.
ST 18762AA000 COMPRESSOR SPECIAL TOOL





3) Remove the transfer clutch piston seal.
4) Remove the return spring.





5) Remove the transfer clutch piston by blowing compressed air through transfer clutch assembly hole.

NOTE:
Block the hole opposite to the one to be blown with compressed air by your finger.





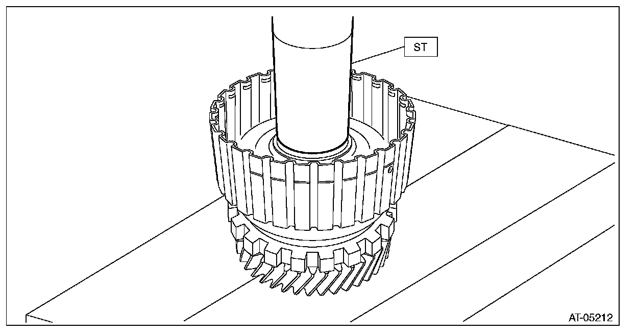
6) Using ST, remove transfer drive gear, parking gear and ball bearing.
ST 18767AA000 BEARING REMOVER

NOTE:
Let the ST sit on the parking gear.





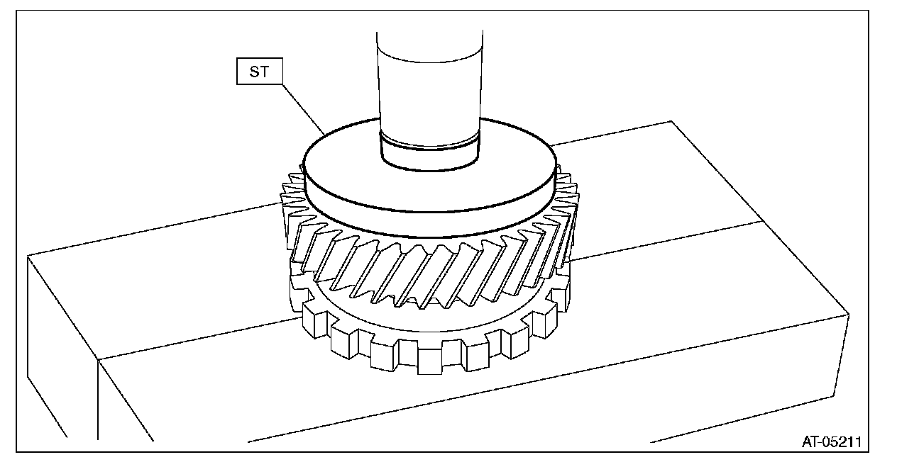
7) Remove the snap ring from transfer reduction drive gear.





8) Using the ST, remove the parking gear from transfer reduction drive gear.
ST1 499277100 BUSHING 1-2 INSTALLER
ST2 18767AA000 BEARING REMOVER





ASSEMBLY

1) Using the ST, install the parking gear to transfer reduction drive gear.
ST 398177700 INSTALLER





2) Install the snap ring to transfer reduction drive gear.





3) Using the ST, install the transfer reduction drive gear to transfer reduction drive gear shaft.
ST 499277100 BUSHING 1-2 INSTALLER





4) Using the ST, install the ball bearing.

NOTE:
Use a new ball bearing.

ST 499277100 BUSHING 1-2 INSTALLER





5) Attach the transfer clutch piston to the reduction drive gear shaft.

NOTE:
Apply CVTF to the transfer clutch piston lip.

6) Install the return spring.





7) Install the transfer clutch piston seal.
8) Using the ST, install the snap ring.
ST 18762AA000 COMPRESSOR SPECIAL TOOL





9) Install the pressure plate, driven plate, drive plate and snap ring.





10) Before measuring clearance "A", place same thickness shims on both sides to prevent the retaining plate from tilting.
11) When clearance "A" exceeds the limit for use, replace the drive plate and driven plate as a set, and select and adjust the pressure plate within the initial specified value.

Initial standard:
0.7 - 1.1 mm (0.028 - 0.043 in)

Limit thickness:
1.6 mm (0.063 in)








12) Check the clearance between the snap ring and retaining plate.

INSPECTION

^ Inspect the drive plate facing for wear and damage.
^ Driven plate for discoloration (burned color)
^ Make sure the snap ring is not worn and the return spring has no permanent distortion, damage, or deformation.
^ Check the lip seal for damage.
^ Inspect the extension end play, and adjust it to within the standard value.
1) Before measuring clearance "A" between snap ring and retaining plate, place same thickness shims on both sides to prevent the retaining plate from tilting.
2) When clearance "A" exceeds the limit for use, replace the drive plate and driven plate as a set, and select the pressure plate within the initial specified value.

Initial standard:
0.7 - 1.1 mm (0.028 - 0.043 in)

Limit thickness:
1.6 mm (0.063 in)





3) Check for tight corner braking phenomenon when the vehicle is moved forward with the steering fully turned. If tight corner braking occurs, perform the following procedures.
(1) With the steering wheel held at fully turned position, drive the vehicle in "D" range and with vehicle speed at approx. 5 km/h (3 MPH) in both clockwise and counterclockwise directions for approx. ten times each, while repeating acceleration and braking intermittently.
(2) If the tight corner braking phenomenon still persists, drive the vehicle again in a circle for several laps.

ADJUSTMENT

NOTE:
Refer to the Rear Drive Shaft.