Operation CHARM: Car repair manuals for everyone.
Manuals through 2025 now available!

Our trusted friends have launched a new website named LEMON, which has newer manuals. It also contains all the CHARM manuals.

LEMON is the spiritual successor to CHARM, I recommend you try it!

Link: lemon-manuals.la or lemon-manuals.org.ua

(Some people have issue connecting. LEMON is investigating. For now, use Firefox or change your DNS server)

Or, hide this message: temporarily or permanently

Cylinder Head Assembly: Service and Repair

CYLINDER HEAD AND CAMSHAFT








CYLINDER HEAD AND VALVE ASSEMBLY





Cylinder Head

REMOVAL

1) Remove the engine from vehicle.
2) Remove the crank pulley.
3) Remove the chain cover.
4) Remove the timing chain assembly.
5) Remove the cam sprocket.
6) Remove the crank sprocket.
7) Remove the camshaft.
8) Remove the seal bolt shown in the figure.





9) Remove the cylinder head bolts in the numerical order as shown in the figure.

NOTE:
Leave bolts (2) and (4) engaged by three or four threads to prevent the cylinder head from falling.





10) While tapping the cylinder head with a plastic hammer, separate it from cylinder block.
11) Remove the bolts (2) and (4) to remove cylinder head.
12) Remove the cylinder head gasket.

CAUTION:
Be careful not to scratch the mating surface of cylinder head and cylinder block.

13) Similarly, remove the cylinder head (RH).

INSTALLATION

1) Apply liquid gasket to the mating surface of cylinder block shown in the figure.

NOTE:
^ Install within 5 min. after applying liquid gasket.
^ Do not apply liquid gasket excessively. If too much is applied, remove any liquid gasket that is squeezed out.

Liquid gasket:
THREE BOND 1217G (Part No. K0877Y0100) or equivalent

Liquid gasket applying diameter:
3.5±1.0 mm (0.138±0.039 in)

^ LH side





^ RH side





2) Install the cylinder head gaskets LH and RH onto the cylinder block.

NOTE:
Use a new cylinder head gasket.

3) Apply liquid gasket to the mating surface of cylinder head gasket shown in the figure.

NOTE:
^ Install within 5 min. after applying liquid gasket.
^ Do not apply liquid gasket excessively. If too much is applied, remove any liquid gasket that is squeezed out.

Liquid gasket:
THREE BOND 1217G (Part No. K0877Y0100) or equivalent

Liquid gasket applying diameter:
3.5±1.0 mm (0.138±0.039 in)

^ LH side





^ RH side





4) Attach the cylinder head to the cylinder block.

CAUTION:
Be careful not to scratch the mating surface of cylinder head and cylinder block.

5) Tighten the cylinder head bolts.
(1) Apply a thin coat of engine oil to washers and cylinder head bolt threads.
(2) Mount the cylinder head onto the cylinder block, then tighten the bolts with a torque of 20 Nm (2.0 kgf-m, 14.8 ft-lb) in the order indicated in the figure.
(3) Tighten the bolts with a torque of 50 Nm (5.1 kgf-m, 36.9 ft-lb) in the order indicated in the figure.
(4) Loosen all the bolts by 180° in the reverse order of installing, and loosen them further by 180°.
(5) Tighten the bolts with torque of 20 Nm (2.0 kgf-m, 14.8 ft-lb) in numerical sequence as shown in the figure.
(6) Tighten the bolts (1) - (4) in the order indicated with a torque of 48 Nm (4.9 kgf-m, 35.4 ft-lb).
(7) Tighten the bolts (5) - (8) in the order indicated with a torque of 44 Nm (4.5 kgf-m, 32.5 ft-lb).
(8) Tighten all bolts 90° in the numerical order as shown in the figure.
(9) Tighten the bolt (1) - (4) by 45° in the numerical order.





6) Install the seal bolt shown in the figure.

NOTE:
Before installing seal bolts, apply a sealing material to bolt threads.

Seal material:
THREE BOND 1324 (Part No. 004403042) or equivalent

Tightening torque:
6.4 Nm (0.7 kgf-m, 4.7 ft-lb)





7) Install the camshaft.
8) Install the crank sprocket.
9) Install the cam sprocket.
10) Install the timing chain assembly.
11) Install the chain cover.
12) Install the crank pulley.
13) Install the engine to the vehicle.

DISASSEMBLY

1) Set the cylinder head on ST.
ST 18250AA010 CYLINDER HEAD TABLE
2) Remove the valve lifter.
3) Compress the valve spring using ST, and remove the valve spring retainer key, each valve and valve spring.
ST 499718000 VALVE SPRING REMOVER

NOTE:
^ Mark each valve to prevent confusion.
^ Pay careful attention not to damage the lips of intake valve oil seals and exhaust valve oil seals.
^ Keep all the removed parts in order for re-installing in their original positions.
^ For removal and installation procedures of the valve guide, intake valve oil seal and exhaust valve oil seal, refer to "INSPECTION".





4) Remove the plug and filter from the front camshaft cap as necessary.





ASSEMBLY

1) Install the valve spring and valve.
(1) Set the cylinder head on ST.
ST 18250AA010 CYLINDER HEAD TABLE
(2) Coat the stem of each valve with engine oil and insert the valve into valve guide.

NOTE:
When inserting the valve into valve guide, use special care not to damage the oil seal lip.

(3) Install the valve spring and retainer.

NOTE:
^ Be sure to install the valve spring with its close-coiled end facing the seat on cylinder head.
^ Install the valve spring with the painted side facing to retainer.





(4) Set the ST on valve spring.
ST 499718000 VALVE SPRING REMOVER





(5) Compress the valve spring and fit the valve spring retainer key.
(6) After installing, tap the valve spring retainers lightly with a wooden hammer for better seating.
2) Apply oil to the surface of valve lifter.
3) Install the valve lifter.
4) Install the plug and filter to the front camshaft cap as necessary.

Tightening torque:
T1: 9 Nm (0.9 kgf-m, 6.6 ft-lb)
T2: 17 Nm (1.7 kgf-m, 12.5 ft-lb)
T3: 23 Nm (2.3 kgf-m, 17.0 ft-lb)





INSPECTION

CYLINDER HEAD

1) Make sure that there are no cracks or other damages. Perform visual check, and use liquid penetrant tester on the important sections. Check that there are no marks of gas leaking or water leaking on gasket installing surface.
2) Set the cylinder head on ST.
ST 18250AA010 CYLINDER HEAD TABLE
3) Check for warpage at mating surface between the cylinder block and cylinder head using a straight edge (A) and thickness gauge (B). If the warpage exceeds limit, replace the cylinder head.

Warping limit:
0.020 mm (0.0008 in)

Standard height of cylinder head:
124±0.05 mm (4.88±0.0020 in)

NOTE:
Uneven torque for the cylinder head bolts can cause warpage. When reinstalling, pay special attention to the torque so as to tighten evenly.





VALVE SEAT

Inspect the intake and exhaust valve seats, and correct the contact surfaces with a valve seat cutter if they are defective or when valve guides are replaced.

Contacting width of valve seat W:

Standard
Intake
1.0 mm (0.039 in)
Exhaust
1.5 mm (0.059 in)





VALVE GUIDE

1) Check the clearance between valve guide and valve stem. The clearance can be checked by measuring respectively the outer diameter of valve stem with a micrometer and the inner diameter of valve guide with a caliper gauge.

Clearance between the valve guide and valve stem:

Standard
Intake
0.030 - 0.057 mm (0.0012 - 0.0022 in)
Exhaust
0.040 - 0.067 mm (0.0016 - 0.0026 in)

2) If the clearance between valve guide and valve stem exceeds the standard, replace the valve guide or valve itself, whichever shows the greater amount of wear or damage. See the following procedure for valve guide replacement.

Valve guide inner diameter:
5.500 - 5.512 mm (0.2165 - 0.2170 in)

Valve stem outer diameters:
Intake
5.455 - 5.470 mm (0.2148 - 0.2154 in)
Exhaust
5.445 - 5.460 mm (0.2144 - 0.2150 in)

(1) Place the cylinder head on ST1 with the combustion chamber upward so that valve guides fit the holes in ST1.
(2) Insert the ST2 into valve guide and press it down to remove the valve guide.
ST1 18250AA010 CYLINDER HEAD TABLE
ST2 499765700 VALVE GUIDE REMOVER





(3) Turn the cylinder head upside down and place the ST as shown in the figure.
ST 18251AA050 VALVE GUIDE ADJUSTER (INTAKE SIDE)
ST 18251AA060 VALVE GUIDE ADJUSTER (EXHAUST SIDE)





(4) Before installing a new valve guide, make sure that neither scratches nor damages exist on the inner surface of valve guide holes in cylinder head.
(5) Put a new valve guide, coated with sufficient oil, in the cylinder head, and insert the ST1 into valve guide. Press in until the valve guide upper end is flush with the upper surface of ST2.
ST1 499765700 VALVE GUIDE REMOVER
ST2 18251AA050 VALVE GUIDE ADJUSTER (INTAKE SIDE)
ST2 18251AA060 VALVE GUIDE ADJUSTER (EXHAUST SIDE)





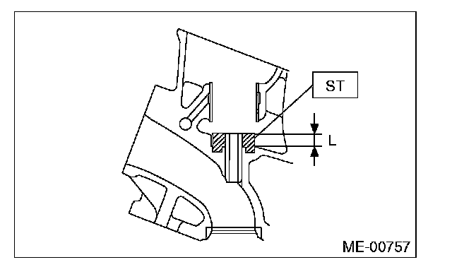
(6) Check the valve guide protrusion amount "L".

Valve guide protrusion amount L:
Intake
8.6 - 9.0 mm (0.3386 - 0.3543 in)
Exhaust
10.7 - 11.1 mm (0.4213 - 0.4370 in)

(7) Ream the inside of valve guide using ST. Put the ST in valve guide, and rotate the ST slowly clockwise while pushing it lightly. Bring the ST back while rotating it clockwise.
ST 499765900 VALVE GUIDE REAMER

NOTE:
^ Apply engine oil to the ST when reaming.
^ If the inner surface of valve guide is damaged, the edge of ST should be slightly ground with oil stone.
^ If the inner surface of valve guide becomes lustrous and the ST does not chip, use a new ST or remedy the ST.

(8) After reaming, clean the valve guide to remove chips.
(9) Recheck the contact condition between valve and valve seat after replacing the valve guide.

INTAKE AND EXHAUST VALVE

1) Check the flange and stem of the valve, and replace the valve with new one if damaged, worn, or deformed, "H" exceeds the standard, or if there is uneven wear.

Head edge thickness H:

Standard
Intake (A)
1.0 mm (0.039 in)
Exhaust (B)
1.2 mm (0.047 in)





2) Put a small amount of grinding compound on the valve seat surface, and lap the valve and valve seat surface. Install a new valve oil seal after lapping.

NOTE:
It is possible to differentiate between the intake valve and the exhaust valve by their overall length.

Valve overall length:
Intake
103.5 mm (4.075 in)
Exhaust
103.2 mm (4.063 in)

VALVE SPRING

1) Check the valve springs for damage, free length, and tension. Replace the valve spring if it is not within the standard value presented in the table.
2) To measure the squareness of the valve spring, stand the valve spring on a surface plate and measure its deflection at the top of the spring using a try square.








INTAKE AND EXHAUST VALVE OIL SEAL

1) For the following, replace the oil seal with a new part.
^ When the lip is damaged.
^ When the spring is out of the specified position.
^ When readjusting the surfaces of valve and valve seat.
^ When replacing the valve guide.
2) Set the cylinder head on ST1.
3) Using the ST2, press in the oil seal.
ST1 18250AA010 CYLINDER HEAD TABLE
ST2 18261AA010 VALVE OIL SEAL GUIDE

NOTE:
^ Apply engine oil to oil seal before press-fitting.
^ When press-fitting the oil seal, do not use a hammer to strike in.





VALVE LIFTER

1) Check the valve lifter visually.
2) Measure the outer diameter of valve lifter.

Outer diameter of valve lifter:
32.959 - 32.975 mm (1.2976 - 1.2982 in)





3) Measure the inner diameter of valve lifter mating surface on cylinder head.

Inner diameter of valve lifter mating surface:
32.994 - 33.016 mm (1.2990 - 1.2998 in)





4) Check the clearance between valve lifter and valve lifter mating surface. The clearance can be checked by measuring the outer diameter of valve lifter and the inner diameter of valve lifter. If it exceeds the standard or offset wear occurs, replace the cylinder head.

Valve lifter and valve lifter mating surface clearance:
Standard
0.019 - 0.057 mm (0.0007 - 0.0022 in)