Operation CHARM: Car repair manuals for everyone.
Manuals through 2025 now available!

Our trusted friends have launched a new website named LEMON, which has newer manuals. It also contains all the CHARM manuals.

LEMON is the spiritual successor to CHARM, I recommend you try it!

Link: lemon-manuals.la or lemon-manuals.org.ua

(Some people have issue connecting. LEMON is investigating. For now, use Firefox or change your DNS server)

Or, hide this message: temporarily or permanently

Oil Pump: Service and Repair

COMPONENT

OIL PAN UPPER, OIL COOLER, AND OIL FILTER








OIL PUMP





REMOVAL

1) Remove the collector cover.

NOTE:
Follow the steps below when removing the collector cover.

(1) Lift up (A) in two positions at the rear.
(2) Moving (B) in two positions at the front toward the vehicle, lift them up.





2) Disconnect the ground cable from battery.
3) Lift up the vehicle.
4) Remove the under cover.
5) Drain the engine oil.
6) Drain engine coolant.
7) Lower the vehicle.
8) Remove the radiator.
9) Remove the V-belts.
10) Remove the crank pulley.
11) Remove the chain cover.
12) Remove the timing chain.
13) Remove the oil pan lower.
14) Remove the stiffener and the oil pump.





15) Remove the strainer from the oil pump.
16) Remove the O-ring from oil pan upper.





INSTALLATION

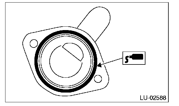
1) Apply engine oil to the O-ring and attach it to the oil pan upper.

NOTE:
Use new O-rings.





2) Apply liquid gasket to the mating surfaces of strainer.

Liquid gasket:
THREE BOND 1217G (Part No. K0877Y0100) or equivalent

Liquid gasket applying diameter:
2.0±1.0 mm (0.079±0.039 in)

NOTE:
^ Install within 5 min. after applying liquid gasket.
^ After installing the strainer, remove any liquid gasket that is squeezed out.





3) Install the strainer to the oil pump.

Tightening torque:
6.4 Nm (0.7 kgf-m, 4.7 ft-lb)

4) Install the stiffener and the oil pump.

Tightening torque:
T1: 13 Nm (1.3 kgf-m, 9.6 ft-lb)
T2: 24 Nm (2.4 kgf-m, 17.7 ft-lb)





5) Install the oil pan lower.
6) Install the timing chain.
7) Install the chain cover.
8) Install the crank pulley.
9) Install the V-belts.
10) Install the radiator.
11) Lift up the vehicle.
12) Install the under cover.
13) Lower the vehicle.
14) Fill the ATF.
15) Refill the engine oil.
16) Check the engine oil level.

INSPECTION

^ Visually check the oil pump for breakage.
^ Visually check the strainer portion for clogging.