Operation CHARM: Car repair manuals for everyone.
Manuals through 2025 now available!

Our trusted friends have launched a new website named LEMON, which has newer manuals. It also contains all the CHARM manuals.

LEMON is the spiritual successor to CHARM, I recommend you try it!

Link: lemon-manuals.la or lemon-manuals.org.ua

(Some people have issue connecting. LEMON is investigating. For now, use Firefox or change your DNS server)

Or, hide this message: temporarily or permanently

Timing Chain Cover

Chain Cover

REMOVAL

1) Drain the engine oil.
2) Lift up the vehicle.
3) Remove the under cover.
4) Drain engine coolant.
5) Remove the front exhaust pipe.
6) Lower the vehicle.
7) Change the bolt mounting position from (A) to (B), and completely open the front hood.

Tightening torque:
20 Nm (2.0 kgf-m, 14.8 ft-lb)





8) Remove the air intake duct.
9) Remove the air intake boot assembly.
10) Disconnect the engine harness connector.





11) Disconnect the connector from the throttle body.





12) Remove the engine harness connector from the engine hanger bracket.





13) Remove the engine hanger bracket.





14) Remove the throttle body from the intake manifold.

NOTE:
Do not disconnect the inlet and outlet hoses of engine coolant.

15) Attach the ST.
ST 18360AA020 HANGER

Tightening torque:
19 Nm (1.9 kgf-m, 14.0 ft-lb)





16) Remove the V-belts.
17) Remove the crank pulley.
18) Remove the grille bracket.

NOTE:
Remove ten clips when removing the grille bracket.





19) Remove the reservoir tank.
20) Remove the radiator main fan & fan motor and radiator sub fan & fan motor.
21) Remove the radiator.
22) Support the engine with a lifting device and wire ropes.
23) Remove the front mount from the chain cover.





24) Remove the front mounting bracket from the cradle.





25) Remove the oil cooler pipe from the chain cover.





26) Remove the chain cover.

NOTE:
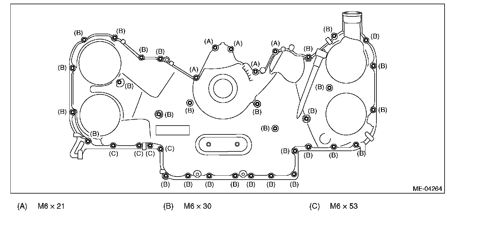
Chain cover installation bolt has three different sizes. To prevent the confusion in installation, keep these bolts on container individually.





INSTALLATION

1) Apply liquid gasket to the mating surfaces of the cylinder block, cylinder head and oil pan upper as shown in the figure.

Liquid gasket:
THREE BOND 1217G (Part No. K0877Y0100) or equivalent





2) Apply liquid gasket to the mating surface of the chain cover.

NOTE:
Install within 5 min. after applying liquid gasket.

Liquid gasket:
THREE BOND 1217G (Part No. K0877Y0100) or equivalent

Liquid gasket applying diameter:
3.5±0.5 mm (0.138±0.020 in)





3) Attach the chain cover and temporarily tighten the chain cover installation bolts.

CAUTION:
Do not install the chain cover installation bolts in wrong place.





4) Tighten the chain cover installing bolts in the numerical order as shown in the figure.

Tightening torque:
10 Nm (1.0 kgf-m, 7.4 ft-lb)





5) Install the oil cooler pipe to the chain cover.

Tightening torque:
6.4 Nm (0.7 kgf-m, 4.7 ft-lb)





6) Install front mounting bracket to the cradle.

Tightening torque:
60 Nm (6.1 kgf-m, 44.3 ft-lb)





7) Install the front mount.

Tightening torque:
T1: 25 Nm (2.5 kgf-m, 18.4 ft-lb)
T2: 45 Nm (4.6 kgf-m, 33.2 ft-lb)





8) Remove the lifting device and wire ropes.
9) Install the radiator.
10) Install the radiator main & fan motor and radiator sub fan & fan motor.
11) Install the reservoir tank.
12) Attach the grille bracket.





13) Install the crank pulley.
14) Install the V-belts.
15) Install the throttle body to intake manifold.

NOTE:
Use a new gasket.

Tightening torque:
8 Nm (0.8 kgf-m, 5.9 ft-lb)

16) Remove the ST (HANGER) and install the engine hanger bracket.

Tightening torque:
19 Nm (1.9 kgf-m, 14.0 ft-lb)





17) Install the engine harness connector to the engine hanger bracket.





18) Connect the connector to the throttle body.





19) Connect the engine harness connector.





20) Install the V-belts.
21) Install the air intake boot assembly.
22) Install the air intake duct.
23) Install the front exhaust pipe.
24) Fill engine coolant.
25) Fill engine oil.
26) Make sure there is no oil leaks in the chain cover mating surface.
27) Install the under cover.
28) Install the collector cover.
29) Change the bolt mounting position from (B) to (A), and completely close the front hood.

Tightening torque:
20 Nm (2.0 kgf-m, 14.8 ft-lb)





INSPECTION

1) Check the chain cover surface for scratches or dents.
2) Check for oil leakage on the chain cover mating surface and installation part of crank pulley. If there is an oil leak from the oil seal, perform replacement with a new oil seal.
ST 499585700 OIL SEAL GUIDE

Oil seal press-fit position:
Chain cover end face - Position -1 mm (-0.039 in) from the chain cover end face.