Operation CHARM: Car repair manuals for everyone.
Manuals through 2025 now available!

Our trusted friends have launched a new website named LEMON, which has newer manuals. It also contains all the CHARM manuals.

LEMON is the spiritual successor to CHARM, I recommend you try it!

Link: lemon-manuals.la or lemon-manuals.org.ua

(Some people have issue connecting. LEMON is investigating. For now, use Firefox or change your DNS server)

Or, hide this message: temporarily or permanently

A/T Main Case

AT Main Case

REMOVAL

1) Remove the transmission assembly from the vehicle.
2) Pull out the torque converter assembly.
3) Remove the transmission harness connector from stay.
4) Remove the ATF cooler inlet pipe and outlet pipe.
5) Remove the extension case.
6) Remove the center differential carrier.
7) Remove the reduction driven gear.
8) Separate the converter case from the transmission case.
9) Remove the control valve body.
10) Remove the oil pump cover.

NOTE:
The input clutch pack assembly and front sun gear assembly are also removed together.





11) Remove the needle bearing of the middle carrier assembly.





12) Remove the middle carrier assembly.





13) Remove the rear carrier assembly.





14) Remove the middle & rear sun gear assembly.





15) Remove the thrust needle bearing of high & low reverse clutch.





16) Remove the high & low reverse clutch assembly.





17) Remove the direct clutch assembly.





18) Remove the snap ring of reverse brake.





19) Remove the retaining plate.
20) Remove the leaf spring.





21) Take out the drive plate, driven plate and dish plate.
22) Remove the snap ring of the reverse brake spring retainer.
ST1 18762AA000 COMPRESSOR SPECIAL TOOL
ST2 18765AA000 COMPRESSOR SUPPORT
ST3 18763AA000 COMPRESSOR SHAFT





23) Remove the spring retainer.





24) Remove the return spring.





25) Apply compressed air.





26) Remove the reverse brake piston.





27) Remove the thrust bearing and seal ring.





INSTALLATION

1) Apply ATF to the new seal ring.
2) Install the thrust bearing and new seal ring to the drum support.





3) Install the reverse brake piston.

NOTE:
Apply ATF onto the piston sliding surface.

ST1 18762AA000 COMPRESSOR SPECIAL TOOL
ST2 18765AA000 COMPRESSOR SUPPORT
ST3 18763AA000 COMPRESSOR SHAFT
4) Install the return spring.





5) Install the spring retainer and snap ring.
ST1 18762AA000 COMPRESSOR SPECIAL TOOL
ST2 18765AA000 COMPRESSOR SUPPORT
ST3 18763AA000 COMPRESSOR SHAFT





6) Install the dish plate.

NOTE:
When installing, make sure that the identification mark is facing the rear side of transmission.

7) Install the drive plate and driven plate.

NOTE:
When the reverse brake is disassembled, use a new drive plate and driven plate set.

8) Install the leaf spring.





9) Install the retaining plate.
10) Install the snap ring of the reverse brake.





11) Apply compressed air intermittently to check for operation.





12) Check the piston stroke.
(1) Check the amount of drive plate compression "A" described in the wave clutch set of repair parts.





(2) Measure the clearance "B" between the retaining plate and snap ring using a thickness gauge.

NOTE:
^ Set shims of the same thickness on both sides so that the retaining plate will not tilt.
^ Do not push the shim down with force to a point where the waves on the drive plate will become crushed.





(3) Select and install a retaining plate so that the value calculated from the dimension A and B is within the standard.
T = A + B
T: Piston stroke
A: Amount of drive plate compression
B: Clearance between retaining plate and snap ring

Initial standard:
2.0 - 2.4 mm (0.08 - 0.09 in)





13) Install the direct clutch assembly.





14) Install the high & low reverse clutch assembly.





15) Install the thrust needle bearing of the high & low reverse clutch.





16) Install the middle & rear sun gear assembly.





17) Install the rear carrier assembly.





18) Install the middle carrier assembly.





19) Install the thrust needle bearing of middle carrier assembly.





20) Measure the total end play, and select the bearing.
21) Install the input clutch pack assembly to oil pump cover.





22) Turn the transmission sideways.
23) Install the oil pump cover.
(1) Apply ATF to the O-ring of input clutch shaft.
(2) Install the oil pump cover to AT main case while supporting the input clutch shaft and oil pump housing with your hand.





(3) Make sure the rear end of drive pinion shaft is engaged to the spline of reduction driven gear.





(4) Protect the input clutch shaft with a cloth, and rotate to engage the spline of the input clutch and rear carrier using pliers.

NOTE:
Work with pressing the oil pump cover.





(5) Combine the oil pump cover with transmission main case.

Tightening torque:
41 Nm (4.2 kgf-m, 30.2 ft-lb)





24) Install the center differential carrier.
25) Install the reduction driven gear.
26) Install the extension case.
27) Install the control valve body.
28) Install the converter case assembly to the transmission case assembly.
29) Install the ATF cooler pipe.
30) Install the torque converter assembly.
31) Install the transmission assembly to the vehicle.
32) Perform Clear Memory 2 operation. Clear Memory Mode
33) Perform the diagnosis again. Programming and Relearning
34) Perform the inspection at the end of repair work, and make sure there is no faulty as below;
^ Excessive shift shock
^ Oil leakage from the transmission body, etc.
^ Occurrence of noise caused by interference etc.

DISASSEMBLY

INPUT CLUTCH PACK ASSEMBLY

1) Remove the front sun gear.





2) Remove the thrust bearing.
3) Remove the snap ring, and then remove the front carrier.





4) Remove the input clutch assembly from rear internal gear.





ASSEMBLY

INPUT CLUTCH PACK ASSEMBLY

1) Assemble the input clutch assembly to rear internal gear.





2) Install the front carrier, and then install the snap ring.





3) Install the thrust bearing.
4) Install the front sun gear.





INSPECTION

FRONT, MIDDLE & REAR PLANETARY CARRIER ASSEMBLY

Check the following items.
^ Visually inspect the tooth surface of planetary gear, and replace with new part if damaged, broken or excessively worn.
^ Inspect the planetary carrier body for damage or breakage.

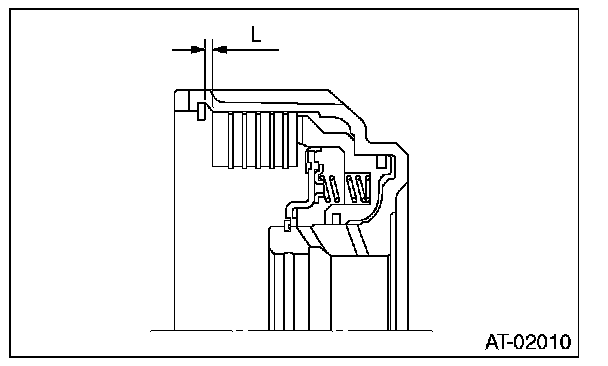
INPUT CLUTCH

^ Check the clearance of the input clutch. Measure the clearance "L" between snap ring and retaining plate using a thickness gauge. If it is out of specification, replace the entire input clutch assembly.
^ Check for damage on the drive plate, driven plate and snap ring, and replace the entire input clutch assembly if damaged.

Standard:
0.7 - 1.1 mm (0.028 - 0.043 in)





HIGH & LOW REVERSE CLUTCH ASSEMBLY

^ Check the clearance of the high & low reverse clutch. Measure the clearance "L" between snap ring and retaining plate using a thickness gauge. If it is out of specification, replace the entire high & low reverse clutch assembly.
^ Check for damage on the drive plate, driven plate and snap ring, and replace the entire high & low reverse clutch assembly if damaged.

Standard:
1.8 - 2.2 mm (0.071 - 0.087 in)





DIRECT CLUTCH ASSEMBLY

^ Check the clearance of direct clutch. Measure the clearance "L" between snap ring and retaining plate using a thickness gauge. If it is out of specification, replace the entire direct clutch assembly.
^ Check for damage on the drive plate, driven plate and snap ring, and replace the entire direct clutch assembly if damaged.

Standard:
0.6 - 1.0 mm (0.024 - 0.039 in)





REVERSE BRAKE

Check the following items.
^ Snap ring for wear, return spring for breakage, and spring retainer for deformation
^ Lip seal and D-ring for damage
^ Piston operation
^ Piston stroke

ADJUSTMENT

1) Using the ST, measure the height "A" from the AT main case mating surface to convex surface of oil pump cover.
ST 499575400 GAUGE





2) Using the ST, measure the depth "B" from the convex surface of oil pump cover to thrust bearing transferring surface.
ST 499575400 GAUGE





3) Calculate the measured value from step 1) and 2), and then set the calculated value as "C".
Calculation formula: C = A - B
4) Using the ST, measure the depth "D" from the AT main case mating surface to thrust bearing transferring surface of front sun gear.
ST 499575400 GAUGE





5) Set the value as "E" which subtract the thickness of ST (499575400 GAUGE) from the measured value on step 4).
Calculation: E (mm) = D - 15
[E (in) = D - 0.59]
6) Calculation formula:
Select one thrust bearing from the table to adjust clearance within 0.25 - 0.55 mm (0.0098 - 0.0217 in).
When clearances are 0.25 mm (0.0098 in):
T (mm) = E - C + 0.03
[T (in) = E - C + 0.0012]
When clearances are 0.55 mm (0.0217 in):
T (mm) = E - C + 0.27
[T (in) = E - C + 0.0106]
T: Thrust bearing thickness
C: Distance from oil pump cover mating surface to rear end of oil pump cover
E: Depth from mating surface of AT main case to bearing surface of front sun gear

NOTE:
Calculation formula for "T" above is applied when measuring with the ST (499575400 GAUGE). In the calculation without using ST, substitute the thickness of collar used to calculate the value "E" on step 5).