Operation CHARM: Car repair manuals for everyone.
Manuals through 2025 now available!

Our trusted friends have launched a new website named LEMON, which has newer manuals. It also contains all the CHARM manuals.

LEMON is the spiritual successor to CHARM, I recommend you try it!

Link: lemon-manuals.la or lemon-manuals.org.ua

(Some people have issue connecting. LEMON is investigating. For now, use Firefox or change your DNS server)

Or, hide this message: temporarily or permanently

Cylinder Block Assembly: Service and Repair

CYLINDER BLOCK








Cylinder Block

REMOVAL

NOTE:
Before conducting this procedure, drain the engine oil completely.

1) Remove the engine from the vehicle.
2) Remove the intake manifold.
3) Remove the crank pulley.
4) Remove the timing belt cover.
5) Remove the timing belt.
6) Remove the crank sprocket.
7) Remove the generator and A/C compressor with their brackets.
8) Remove the cylinder head.
9) Remove the drive plate. (AT model)
10) Remove the clutch disc and cover. (MT model)
11) Remove the flywheel. (MT model)
12) Remove the oil separator cover.
13) Remove the water by-pass pipe for heater.
14) Remove the water pump.
15) Remove the bolts which secure oil pump to cylinder block.

NOTE:
When disassembling and checking the oil pump, loosen the relief valve plug before removing the oil pump.





16) Remove the oil pump from cylinder block using a flat tip screwdriver.

CAUTION:
Be careful not to scratch the mating surface of cylinder block and oil pump.





17) Remove the front oil seal from the oil pump.
18) Remove the oil pan.
(1) Set the part so that the cylinder block LH is on the upper side.
(2) Remove the bolts which secure oil pan to cylinder block.
(3) Insert an oil pan cutter blade between cylinder block-to-oil pan clearance and remove the oil pan.

CAUTION:
Do not use a screwdriver or similar tools in place of oil pan cutter.

19) Remove the oil strainer.
20) Remove the baffle plate.
21) Remove the oil filter.
22) Remove the water pipe assembly.








23) Remove the service hole plugs using a hexagon wrench [14 mm].





24) Remove the service hole cover.
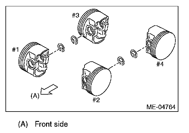
25) Rotate the crankshaft to bring #1 and #2 pistons to bottom dead center position, then remove the piston snap ring through service hole of #1 and #2 cylinders.





26) Draw out the piston pin from #1 and #2 pistons using ST.
ST 18320AA010 PISTON PIN REMOVER ASSY

NOTE:
^ PISTON PIN REMOVER ASSY (499097700) can also be used.
^ Be careful not to confuse the original combination of piston, piston pin and cylinder.





27) Similarly draw out the piston pins from #3 and #4 pistons.
28) Remove the cylinder block connecting bolt on the RH side.
29) Loosen the cylinder block connecting bolt on the LH side by 2 to 3 turns.
30) Set the part so that the cylinder block LH is on the upper side, and remove the cylinder block connecting bolt.
31) Separate the cylinder block LH and RH.

NOTE:
When separating the cylinder block, do not allow the connecting rod to fall or damage the cylinder block.





32) Remove the rear oil seal.
33) Remove the crankshaft together with connecting rod.
34) Remove the crankshaft bearings from cylinder block using a hammer handle.

NOTE:
^ Press the crankshaft bearing at the end opposite to locking lip to remove.
^ Be careful not to confuse the crankshaft bearing combination.

35) Remove each piston from the cylinder block using a wooden bar or hammer handle.

NOTE:
Be careful not to confuse the original combination of piston and cylinder.

INSTALLATION





1) Remove oil on the mating surface of cylinder block before installation. Apply a coat of engine oil to the bearing and crankshaft journal.
2) Position the crankshaft and O-ring on cylinder block RH.

NOTE:
Use new O-rings.

3) Apply liquid gasket to the mating surfaces of cylinder block RH, and position cylinder block LH.

NOTE:
^ Install within 5 min. after applying liquid gasket.
^ Do not allow liquid gasket to jut into O-ring grooves, oil passages, bearing grooves, etc.

Liquid gasket:
THREE BOND 1217G (Part No. K0877Y0100) or equivalent





4) Apply a coat of engine oil to the washer and bolt thread.

NOTE:
Use a new seal washer.

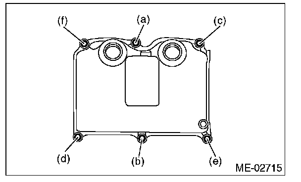
5) Tighten the 10 mm cylinder block connecting bolts on the LH side (A - D) in alphabetical order.

Tightening torque:
10 Nm (1.0 kgf-m, 7.4 ft-lb)





6) Tighten the 10 mm cylinder block connecting bolts on the RH side (E - J) in alphabetical order.

Tightening torque:
10 Nm (1.0 kgf-m, 7.4 ft-lb)





7) Tighten the LH side cylinder block connecting bolts (A - D) further in alphabetical order.

Tightening torque:
18 Nm (1.8 kgf-m, 13.3 ft-lb)





8) Tighten the RH side cylinder block connecting bolts (E - J) further in alphabetical order.

Tightening torque:
18 Nm (1.8 kgf-m, 13.3 ft-lb)





9) Tighten the LH side cylinder block connecting bolts (A - D) further in alphabetical order.
^ (A), (C): Angle tightening

Tightening angle:
90°
^ (B), (D): Torque tightening

Tightening torque:
40 Nm (4.1 kgf-m, 29.5 ft-lb)





10) Tighten the RH side cylinder block connecting bolts (E - J) further in alphabetical order.

Tightening angle:
90°





11) Tighten the 8 mm and 6 mm cylinder block connecting bolts on the LH side (A - H) in alphabetical order.

Tightening torque:
(A) - (G): 25 Nm (2.5 kgf-m, 18.4 ft-lb)
(H): 6.4 Nm (0.7 kgf-m, 4.7 ft-lb)





12) Apply a coat of engine oil to the oil seal inner periphery and outer periphery, and install the rear oil seal using ST1 and ST2.

NOTE:
Use a new rear oil seal.

ST1 499597100 CRANKSHAFT OIL SEAL GUIDE
ST2 499587200 CRANKSHAFT OIL SEAL INSTALLER





13) Position the top ring gap at (A) or (B) in the figure.
14) Position the second ring gap at 180° on the reverse side the top ring gap.





15) Position the upper rail gap at (C) in the figure.





16) Align the upper rail spin stopper (E) to the side hole (D) on the piston.





17) Position the expander gap at (F) on the 180° opposite direction of (C) in the figure.





18) Set the lower rail gap at position (G), located 120° clockwise from (C).





NOTE:
^ Make sure ring gaps do not face the same direction.
^ Make sure ring gaps are not within the piston skirt area.

19) Install the snap ring.
Before positioning the piston on the cylinder block, attach the snap ring in the service hole of the cylinder block, and the piston hole on the opposite side.

NOTE:
Use new snap rings.








20) Install the piston.
(1) Set the parts so that the #1 and #2 cylinders are on the upper side.
(2) Using the ST1, turn the crankshaft so that #1 and #2 connecting rods are set at bottom dead center.
ST1 499987500 CRANKSHAFT SOCKET
(3) Apply a coat of engine oil to the pistons and cylinders and insert pistons in their cylinders using ST2.
ST2 498747300 PISTON GUIDE





NOTE:
Face the piston front mark towards the front of the engine.





21) Install the piston pin.
(1) Apply a coat of engine oil to ST3.
(2) Insert ST3 into the service hole to align piston pin hole with connecting rod small end.
ST3 499017100 PISTON PIN GUIDE





(3) Apply a coat of engine oil to piston pin, and insert the piston pin into piston and connecting rod through service hole.
(4) Install the snap ring.

NOTE:
Use new snap rings.





(5) Apply liquid gasket to the threaded portion of the service hole plug.

Liquid gasket:
THREE BOND 1105 (Part No. 004403010) or equivalent





(6) Install the service hole plug and gasket.

NOTE:
Use a new gasket.

Tightening torque:
70 Nm (7.1 kgf-m, 51.6 ft-lb)








(7) Set the parts so that the #3 and #4 cylinders are on the upper side. Following the same procedures as used for #1 and #2 cylinders, install the pistons and piston pins.
(8) Install the service hole cover.

NOTE:
Use new O-rings.

Tightening torque:
6.4 Nm (0.7 kgf-m, 4.7 ft-lb)

22) Install the water pipe assembly.

NOTE:
Use new O-rings.

Tightening torque:
6.4 Nm (0.7 kgf-m, 4.7 ft-lb)





23) Install the baffle plate.

NOTE:
^ Use a new seal.
^ Make sure that the seals (A) are installed securely on the baffle plate in a direction as shown in the figure below.





Tightening torque:
6.4 Nm (0.7 kgf-m, 4.7 ft-lb)

24) Install the oil strainer.

NOTE:
Use new O-rings.

Tightening torque:
10 Nm (1.0 kgf-m, 7.4 ft-lb)

25) Tighten the oil strainer stay together with the baffle plate.

Tightening torque:
6.4 Nm (0.7 kgf-m, 4.7 ft-lb)

26) Apply liquid gasket to the mating surfaces of oil pan, and install the oil pan.

NOTE:
Install within 5 min. after applying liquid gasket.

Liquid gasket:
THREE BOND 1217G (Part No. K0877Y0100) or equivalent

Tightening torque:
5 Nm (0.5 kgf-m, 3.7 ft-lb)





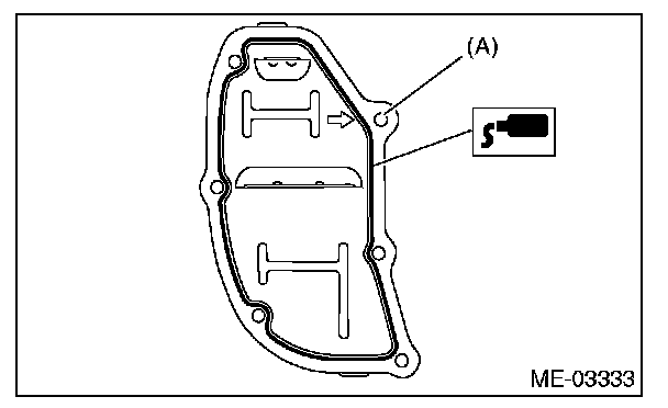
27) Apply liquid gasket to the mating surfaces of the oil separator cover and the threaded portion of bolt (A) shown in the figure (when reusing the bolt), and then install the oil separator cover.

NOTE:
^ Install within 5 min. after applying liquid gasket.
^ Use new oil separator cover.

Liquid gasket:
^ Mating surface
THREE BOND 1217G (Part No. K0877Y0100) or equivalent
^ (A) bolt thread (when reusing bolts)
THREE BOND 1324 (Part No. 004403042) or equivalent

Tightening torque:
6.4 Nm (0.7 kgf-m, 4.7 ft-lb)





28) Install the drive plate. (AT model)
29) Install the flywheel. (MT model)
30) Install the clutch disc and cover. (MT model)
31) Install the oil pump.
(1) Using the ST, install the front oil seal.
ST 499587100 OIL SEAL INSTALLER

NOTE:
Use a new front oil seal.





(2) Apply liquid gasket to the mating surfaces of oil pump.

NOTE:
Install within 5 min. after applying liquid gasket.

Liquid gasket:
THREE BOND 1217G (Part No. K0877Y0100) or equivalent





(3) Apply a coat of engine oil to the inside of oil seal.





(4) Install the oil pump to cylinder block.

CAUTION:
^ Be careful not to damage the front oil seal during installation.
^ Make sure the front oil seal lip is not folded.


NOTE:
^ Align the flat surface of oil pump's inner rotor with crankshaft before installation.
^ Use new O-rings.
^ Do not forget to assemble O-rings.

(5) Apply liquid gasket to the three bolts thread shown in figure. (when reusing bolts)

Liquid gasket:
THREE BOND 1324 (Part No. 004403042) or equivalent

Tightening torque:
6.4 Nm (0.7 kgf-m, 4.7 ft-lb)





32) Install the water pump and gasket.

NOTE:
^ When installing the water pump, tighten bolts in two stages in alphabetical order as shown in the figure.
^ Use a new gasket.

Tightening torque:
First: 12 Nm (1.2 kgf-m, 8.9 ft-lb)
Second: 12 Nm (1.2 kgf-m, 8.9 ft-lb)





33) Install the water by-pass pipe for heater.

Tightening torque:
6.4 Nm (0.7 kgf-m, 4.7 ft-lb)

34) Install the oil filter.
35) Install the cylinder head.
36) Install the generator and A/C compressor with their brackets.

Tightening torque:
36 Nm (3.7 kgf-m, 26.6 ft-lb)

37) Install the crank sprocket.
38) Install the timing belt.
39) Adjust the valve clearance.
40) Install the rocker cover.
(1) Install the rocker cover gasket to the rocker cover.

NOTE:
Use a new rocker cover gasket.

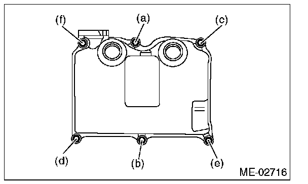
(2) Temporarily tighten the rocker cover bolts in alphabetical order shown in the figure, and then tighten to specified torque in alphabetical order in two steps.

Tightening torque:
1st
6.4 Nm (0.7 kgf-m, 4.7 ft-lb)
Second (only (a) and (b) are tightened)
6.4 Nm (0.7 kgf-m, 4.7 ft-lb)

RH side





LH side





41) Install the timing belt cover.
42) Install the crank pulley.
43) Install the intake manifold.
44) Install the engine to the vehicle.

DISASSEMBLY





1) Remove the connecting rod cap.
2) Remove the connecting rod bearing.

NOTE:
Keep the removed connecting rods, connecting rod caps and bearings in order so that they are kept in their original combinations/groups, and not mixed together.

3) Remove the piston rings using piston ring expander.
4) Remove the oil ring by hand.

NOTE:
Arrange the removed piston rings in proper order, to prevent confusion.

5) Remove the snap ring.

ASSEMBLY





1) Apply engine oil to the surface of the connecting rod bearings, and install the connecting rod bearings on connecting rods and connecting rod caps.
2) Position each connecting rod with the side with a side mark facing forward, and install it.
3) Attach the connecting rod cap, and tighten with connecting rod nut.
Make sure the arrow on connecting rod cap faces the front during installation.

NOTE:
^ Each connecting rod has its own mating cap. Make sure that they are assembled correctly by checking their matching number.
^ When tightening the connecting rod nuts, apply oil on the threads.

Tightening torque:
45 Nm (4.6 kgf-m, 33.2 ft-lb)

4) Install the oil ring upper rail, expander and lower rail by hand.
5) Install the second ring and top ring using piston ring expander.

NOTE:
Assemble so that the piston ring mark "R" faces the top side of the piston.

INSPECTION

CYLINDER BLOCK

1) Check for cracks or damage. Use liquid penetrant tester on the important sections to check for fissures. Check that there are no marks of gas leaking or water leaking on gasket installing surface.
2) Check the oil passages for clogging.
3) Inspect the cylinder head surface that mates with cylinder block for warping by using a straight edge, and correct by grinding if necessary.

Warping limit:
0.025 mm (0.00098 in)

Grinding limit:
0.1 mm (0.004 in)

Standard height of cylinder block:
201.0 mm (7.91 in)