Operation CHARM: Car repair manuals for everyone.
Manuals through 2025 now available!

Our trusted friends have launched a new website named LEMON, which has newer manuals. It also contains all the CHARM manuals.

LEMON is the spiritual successor to CHARM, I recommend you try it!

Link: lemon-manuals.la or lemon-manuals.org.ua

(Some people have issue connecting. LEMON is investigating. For now, use Firefox or change your DNS server)

Or, hide this message: temporarily or permanently

Cylinder Head Assembly





Cylinder Head Bot
Tighten all bolts to 40 Nm (4.1 kgf-m, 29.5 ft-lb) in alphabetical order.
Retighten all bolts to 95 Nm (9.7 kgf-m, 70.1 ft-lb) in alphabetical order.
Loosen all bolts 180°
(in the reverse order of installing)
Loosen them further by 180°.
Tighten all bolts to 10 Nm (1.0 kgf-m, 7.4 ft-lb) in alphabetical order.
Retighten all bolts to 30 Nm (3.1 kgf-m, 22.1 ft-lb) in alphabetical order.
Retighten all bolts to 60 Nm (6.1 kgf-m, 44.3 ft-lb) in alphabetical order.
Retighten all bolts by 80 - 90° in alphabetical order.
Retighten all bolts by 40 - 45° in alphabetical order.
Retighten bolts (a) and (b) by 40 - 45°.
Cylinder Head bolts: are reuseable

Cylinder Head
Warping limit (mating surface with cylinder block) 0.035 mm (0.0014 in)
Grinding limit 0.1 mm (0.004 in)
Standard height 97.5 mm (3.84 in)

Camshaft Sprocket bolt
Tightening torque: 78 Nm (8.0 kgf-m, 57.5 ft-lb)

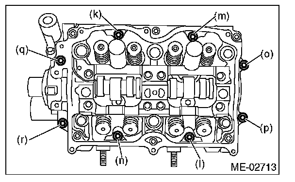
Camshaft Cap
Temporarily tighten the bolts (a) through (d) in alphabetical sequence.





Tighten the TORX(R) bolts (e) through (j) in alphabetical sequence
Tightening torque: 18 Nm (1.8 kgf-m, 13.3 ft-lb)





Tighten the bolts (k) through (r) in alphabetical sequence.
Tightening torque: 9.75 Nm (1.0 kgf-m, 7.2 ft-lb)





Tighten the bolts (s) and (t) in alphabetical sequence.
Tightening torque: 9.75 Nm (1.0 kgf-m, 7.2 ft-lb)