Operation CHARM: Car repair manuals for everyone.
Manuals through 2025 now available!

Our trusted friends have launched a new website named LEMON, which has newer manuals. It also contains all the CHARM manuals.

LEMON is the spiritual successor to CHARM, I recommend you try it!

Link: lemon-manuals.la or lemon-manuals.org.ua

(Some people have issue connecting. LEMON is investigating. For now, use Firefox or change your DNS server)

Or, hide this message: temporarily or permanently

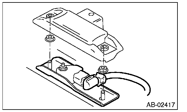
Safing Sensor: Service and Repair

Satellite Safing Sensor

REMOVAL

CAUTION: Do not separate the satellite safing sensor and bracket. Doing so will cause the airbag system malfunction. If the sensor is removed from the bracket, be sure to replace with a new part.

1. Turn the ignition switch to OFF.
2. Disconnect the ground cable from battery and wait for at least 60 seconds before starting work.
3. Remove the second row seats.
4. Remove the satellite safing sensor.
1. Remove the cover.
2. Disconnect the airbag connector.
3. Remove the nut, and remove the satellite safing sensor.






INSTALLATION

CAUTION:
- Do not reuse the bolt and nut.
- Always use new bolts and nuts for them.
- When installing the satellite safing sensor cover, push the cover securely until it contacts the floor panel.
- If the satellite safing sensor cover can be removed easily because the connection part with the satellite safing sensor has become loose, replace the cover with a new part.
- After installing the satellite safing sensor cover, make sure that the sensor harness is not caught.


Install in the reverse order of removal.

Tightening torque: 7.5 N.m (0.76 kgf.m, 5.5 ft.lb)