Operation CHARM: Car repair manuals for everyone.
Manuals through 2025 now available!

Our trusted friends have launched a new website named LEMON, which has newer manuals. It also contains all the CHARM manuals.

LEMON is the spiritual successor to CHARM, I recommend you try it!

Link: lemon-manuals.la or lemon-manuals.org.ua

(Some people have issue connecting. LEMON is investigating. For now, use Firefox or change your DNS server)

Or, hide this message: temporarily or permanently

Air Bag Systems: Service and Repair

Airbag Connector

PROCEDURE

1. BUCKLE SWITCH
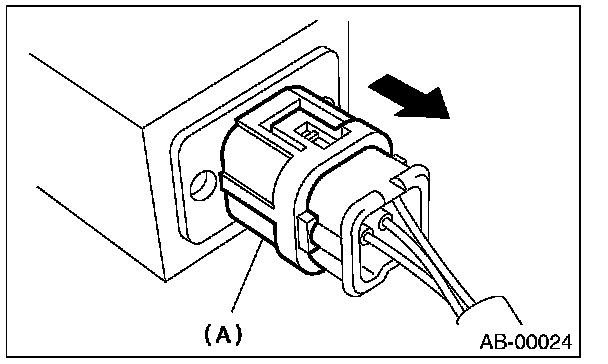
1. How to disconnect:
1. Move the slide lock (A) in the direction of arrow.
2. While holding the slide lock (A) in moved position, disconnect the connector.

CAUTION: When pulling the slide lock or disconnecting connector, be sure to hold the connector, not the harness.






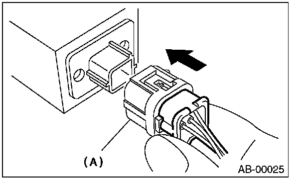
2. How to connect:
Holding the connector (A), and push it in carefully until a clicking sound is heard.

CAUTION: Be sure to insert the connector in until it is locked. Then pull it lightly to make sure that it is locked.






2. DRIVER'S AIRBAG MODULE, CURTAIN AIRBAG MODULE AND PRETENSIONER
1. How to disconnect:
1. Using a flat tip screwdriver, pry the push lock upward to unlock.






2. Pull and disconnect the connector from the driver's airbag module assembly or retractor assembly.






2. How to connect:
Connect the connector in the reverse order of disconnecting. At this time, be sure to insert the push lock until a clicking sound is heard.

CAUTION:
- Be sure to insert the connector in until it is locked. Then pull it gently to make sure that it is locked.
- Be sure to push the push lock in securely.







NOTE: The connector can not be connected when the push lock is in the lock position. To connect the connector, set the push lock to unlock position.

3. DRIVER'S AIRBAG (BETWEEN AIRBAG MAIN HARNESS AND ROLL CONNECTOR) AND PASSENGER'S AIRBAG
1. How to disconnect:
1. Push the slide lock (A) into the direction of arrow.






2. With the slide lock pushed, disconnect the connector.

CAUTION: When pulling the slide lock or disconnecting connector, be sure to hold the connector, not the harness.






2. How to connect:
Holding the connector, push it in securely until clicking sound is heard.

CAUTION: Be sure to insert the connector in until it is locked. Then pull it lightly to make sure that it is locked.






4. SIDE AIRBAG
1. How to disconnect:
1. Push the lock arm (A).
2. With the lock arm (A) pushed in, move the slide lock (B) in the direction of arrow.






3. While holding the slide lock in that position, release the lock arm (back to the original position), and disconnect the connector.

CAUTION: When pulling the slide lock or disconnecting connector, be sure to hold the connector, not the harness.






2. How to connect:
Holding the connector, push it in securely until a clicking sound is heard.

CAUTION: Be sure to insert the connector in until it is locked. Then pull it gently to make sure that it is locked.






5. FRONT SUB SENSOR, SIDE AIRBAG SENSOR, CURTAIN AIRBAG SENSOR SATELLITE SAFING SENSOR, AND SEAT POSITION SENSOR
1. How to disconnect:
Holding outer part (A), pull it in the direction of arrow.

CAUTION: When pulling the slide lock or disconnecting connector, be sure to hold the connector, not the harness.






2. How to connect:
Holding the connector, push it in securely until a clicking sound is heard.

CAUTION:
- Outer side (A) move back, and so do not put your hand on the outer part.
- Be sure to insert the connector in until it is locked. Then pull it gently to make sure that it is locked.







6. PASSENGER DETECTION SYSTEM (BETWEEN AIRBAG REAR HARNESS AND SEAT HARNESS) AND BELT TENSION SENSOR
1. How to disconnect:
Push lock arm (A), then disconnect the connector.

CAUTION: When pulling the slide lock or disconnecting connector, be sure to hold the connector, not the harness.






2. How to connect:
Holding the connector, push it in securely until a clicking sound is heard.

CAUTION: Be sure to insert the connector in until it is locked. Then pull it gently to make sure that it is locked.

7. AIRBAG CONTROL MODULE
1. How to disconnect:
Press the lock lever plate (A) and pull out the lock lever.






2. How to connect:
Insert the connector and push the lock lever in securely.

CAUTION: Be sure to insert the connector in until it is locked. Then pull it gently to make sure that it is locked.