Operation CHARM: Car repair manuals for everyone.
Manuals through 2025 now available!

Our trusted friends have launched a new website named LEMON, which has newer manuals. It also contains all the CHARM manuals.

LEMON is the spiritual successor to CHARM, I recommend you try it!

Link: lemon-manuals.la or lemon-manuals.org.ua

(Some people have issue connecting. LEMON is investigating. For now, use Firefox or change your DNS server)

Or, hide this message: temporarily or permanently

Crankshaft Main Bearing





Cylinder Block
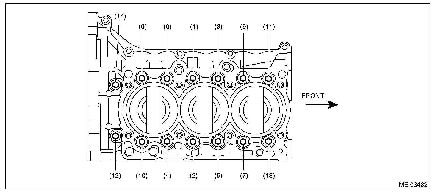
Tighten all bolts in the numerical order as shown in the figure.
Tightening torque: 12 Nm (1.2 kgf-m, 8.9 ft-lb)





Retighten all bolts in the numerical order as shown in the figure.
Tightening torque: 18 Nm (1.8 kgf-m, 13.3 ft-lb)





Tighten all bolts by 90°
In numerical order as shown in the figure.





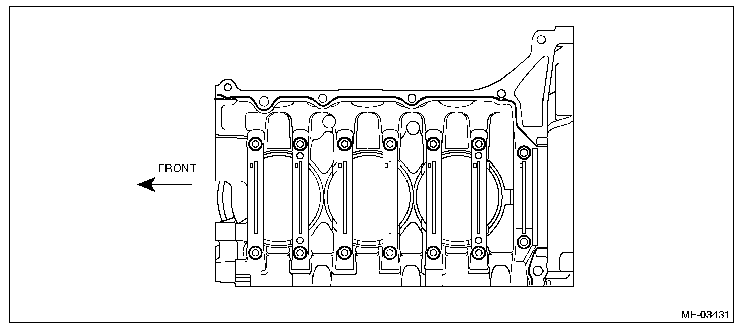
Install the upper bolt to cylinder block.
Tightening torque: 25 Nm (2.5 kgf-m, 18.4 ft-lb)

Bearing size (Thickness at center) mm (in)
#1, #3, #5
Standard 1.996 - 2.013 (0.0786 - 0.0793)
0.03 (0.0012) US 2.011 - 2.014 (0.0792 - 0.0793)
0.05 (0.0020) US 2.021 - 2.024 (0.0796 - 0.0797)
0.25 (0.0098) US 2.121 - 2.124 (0.0835 - 0.0836)

#2, #4, #6
Standard 1.996 - 2.013 (0.0786 - 0.0793)
0.03 (0.0012) US 2.015 - 2.018 (0.0793 - 0.0794)
0.05 (0.0020) US 2.025 - 2.028 (0.0797 - 0.0798)
0.25 (0.0098) US 2.125 - 2.128 (0.0837 - 0.0838)

#7
Standard 1.992 - 2.009 (0.0784 - 0.0791)
0.03 (0.0012) US 2.011 - 2.014 (0.0792 - 0.0793)
0.05 (0.0020) US 2.021 - 2.024 (0.0796 - 0.0797)
0.25 (0.0098) US 2.121 - 2.124 (0.0835 - 0.0836)

Thrust clearance mm (in) Standard 0.030 - 0.115 (0.0012 - 0.0045)
Oil clearance mm (in) Standard 0.010 - 0.030 (0.0004 - 0.0012)