Operation CHARM: Car repair manuals for everyone.
Manuals through 2025 now available!

Our trusted friends have launched a new website named LEMON, which has newer manuals. It also contains all the CHARM manuals.

LEMON is the spiritual successor to CHARM, I recommend you try it!

Link: lemon-manuals.la or lemon-manuals.org.ua

(Some people have issue connecting. LEMON is investigating. For now, use Firefox or change your DNS server)

Or, hide this message: temporarily or permanently

Transmission Control Device

Transmission Control Device

REMOVAL

1) Remove the transmission assembly from vehicle body.
2) Pull out the torque converter assembly.
3) Lift up the lever on the rear side of transmission harness connector, and then disconnect it from the stay.
4) Disconnect the air breather hose.
5) Wrap vinyl tape around the nipple attached to the air breather hose.
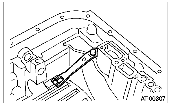
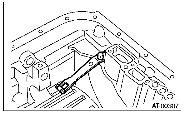
6) Remove the pitching stopper bracket.
7) Remove the control valve body assembly.
8) Pull out the straight pin of manual plate.





9) Remove the bolts securing range select lever, and then remove the select lever, manual plate and parking rod.

NOTE:
Be careful not to damage the lips of press-fitted oil seal in the case.





10) Remove the detent spring.





INSTALLATION

1) Install the detent spring to the transmission case.

Tightening torque:
7 Nm (0.7 kgf-m, 5.2 ft-lb)





2) Insert the select lever, and then tighten the bolt.

Tightening torque:
6 Nm (0.6 kgf-m, 4.4 ft-lb)





3) Insert the manual plate and parking rod.





4) Insert the spring pin to the manual plate.





5) Install the oil pan and the control valve body assembly.
6) Install the pitching stopper bracket.

Tightening torque:
41 Nm (4.2 kgf-m, 30.2 ft-lb)

7) Insert the transmission connector to the stay.
8) Install the air breather hose.
9) Install the torque converter assembly.
10) Install the transmission assembly to the vehicle.

INSPECTION

Make sure the manual lever and detent spring are not worn or otherwise damaged.