Operation CHARM: Car repair manuals for everyone.
Manuals through 2025 now available!

Our trusted friends have launched a new website named LEMON, which has newer manuals. It also contains all the CHARM manuals.

LEMON is the spiritual successor to CHARM, I recommend you try it!

Link: lemon-manuals.la or lemon-manuals.org.ua

(Some people have issue connecting. LEMON is investigating. For now, use Firefox or change your DNS server)

Or, hide this message: temporarily or permanently

Disassembly

Rear Differential (VA-type)

DISASSEMBLY

To detect the real cause of trouble, inspect the following items before disassembling.
^ Tooth contact and backlash between hypoid driven gear and drive pinion
^ Total preload of drive pinion

1) Remove the air breather hose.
2) Set the ST on vise and install the differential assembly to ST.
ST 398217700 ATTACHMENT SET





3) Remove the oil drain plug and filler plug.
4) Remove the rear differential oil temperature switch.
5) Remove the rear cover by removing retaining bolts.

NOTE:
Remove it by tapping with a plastic hammer.





6) Remove the lock plate RH and LH.





7) Remove the side retainer RH and LH with ST.
ST 18630AA010 WRENCH COMPL RETAINER

NOTE:
Never mix up the RH and LH retainers.





8) Pull out the differential case assembly from differential carrier.





NOTE:
Be careful not to hit the teeth of hypoid driven gear against the differential carrier.

9) Remove the bearing race from the side retainer RH and LH with the ST and a press.
ST 18758AA000 PULLER

NOTE:
^ Be sure to turn the bolt of puller manually.
^ Set the puller so that its claws catch the groove of side retainer.








10) Remove the oil seal from side retainer RH and LH using screwdriver.

NOTE:
Perform this operation only when changing oil seal.





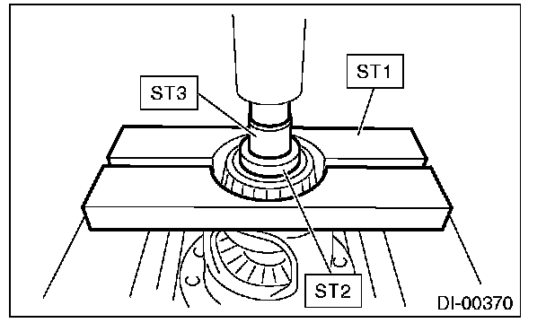
11) Extract the bearing cone with ST1, ST2 and ST3.

NOTE:
^ Do not attempt to disassemble the parts unless necessary.
^ Never mix up the RH and LH bearing races and cones.

ST1 498077000 REMOVER
ST2 399520105 SEAT
ST3 899864100 REMOVER





12) Using the ST, loosen the hypoid driven gear bolt and remove the hypoid driven gear.
ST 18270KA020 SOCKET (E20)





13) Remove the spring pin from hypoid driven gear side using ST.
ST 899904100 STRAIGHT PIN REMOVER





14) Draw out the pinion mate shaft and remove pinion mate gears, side gears and thrust washers.

NOTE:
The gears should be marked or kept separated right and left, and front and rear as well as thrust washers.





15) Remove the circlip from the side gear.





16) Remove the self-locking nut while holding the companion flange with ST.
ST 498427200 FLANGE WRENCH





17) Extract the companion flange with a puller.
ST 399703600 PULLER ASSY





18) Removes the drive pinion shaft.
19) Remove the rear bearing cone from drive pinion by supporting the cone with ST.

NOTE:
Place the replacer so that its center-recessed side faces the pinion gear.

ST 398517700 REPLACER





20) Remove the front oil seal from differential carrier using screwdriver.
21) Remove the pilot bearing, front bearing cone and spacer.





22) When replacing the bearings, use a brass bar to tap out the front bearing cup and rear bearing cup (in this order).