Operation CHARM: Car repair manuals for everyone.
Manuals through 2025 now available!

Our trusted friends have launched a new website named LEMON, which has newer manuals. It also contains all the CHARM manuals.

LEMON is the spiritual successor to CHARM, I recommend you try it!

Link: lemon-manuals.la or lemon-manuals.org.ua

(Some people have issue connecting. LEMON is investigating. For now, use Firefox or change your DNS server)

Or, hide this message: temporarily or permanently

Note

NOTE
This information will improve the efficiency of maintenance and assure the sound work.

1. FASTENERS NOTICE
Replace the nonreusable parts with new parts. Check the tightening torque and tighten to the specified torque.
Do not apply paint, lubricant, rust retardant or other substance to the surface around bolts, nuts, etc. Doing so will make it difficult to obtain the correct torque and result in looseness and other problem.

2. STATIC ELECTRICITY DAMAGE
Do not touch the control modules, connectors, logic boards and other such parts when there is a risk of static electricity. Always use a static electricity prevention cord or touch grounded metal for the elimination of static electricity before conducting work.

3. BATTERY
When removing the battery cables, always be sure to turn the ignition switch to OFF to prevent electrical damage to the control module from overcurrent.

4. SERVICE PARTS
Use genuine parts for maximum performance and maintenance when conducting repairs. Subaru/FHI will not be responsible for poor performance resulting from the use of parts except for genuine parts.

5. PROTECTING VEHICLE UNDER MAINTENANCE
Make sure to attach the fender cover, seat covers, etc. before work.

6. ENSURING SECURITY DURING WORK
When working in a group of two or more, perform the work with calling each other to ensure mutual safety.

7. LIFT AND JACK
When using a lift or shop jack to raise a vehicle or using rigid rack to support a vehicle, always follow instructions concerning jack-up points and weight limits to prevent the vehicle from falling, which could result in injury. Be especially careful that the vehicle is balanced before raising it. Be sure to set the wheel stoppers when jacking-up only the front or rear side of the vehicle.

CAUTION: Make sure to use the spacer or attachment and jack up at the jack-up point so that the lift does not contact the side sill spoiler.


NOTE:
- When using a lift, follow its operation manual.
- When using, insert the body flange to the attachment groove.
- When the side sill spoiler contacts the lift arm, use a lift attachment.
- Do not work or leave unattended while the vehicle is supported with jack, support it with rigid racks.
- Be sure to use the rigid racks with rubber attached to cradle to support the vehicle.
- When using a plate lift, use a rubber attachment.







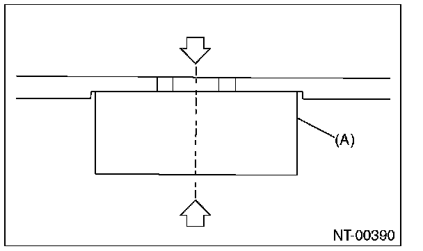
- When using an attachment, align the center of attachment (A) with the center of vehicle cutout portion (the center of spoiler cutout portion).






- Do not use the plate lift whose attachment does not reach the supporting locations.

SUPPORT LOCATIONS






PANTOGRAPH JACK






LIFT






RIGID RACK






PLATE LIFT






JACK-UP POINT

CAUTION: If jacking up the front side of the vehicle, make sure that the jack is attached at the center of the jackup plate not at the sides.






8. TIE-DOWNS
Tie-downs are used when transporting vehicles and when using the chassis dynamo. Attach tie-down only to the specified place on the vehicle.






- TIE-DOWN HOOK & EYE BOLT






- TIE-DOWN DIRECTION

CAUTION:
- Pull the front and rear of the vehicle in the opposite direction, and pull the left and right of the vehicle in the same direction.
- Directions except the followings (recommended) are not allowed.







- TIE-DOWN RANGE
For ground transportation

CAUTION: When the vehicle is tied down from vehicle inside, hook the hooks of tie-down chain on the rear tiedown hooks from vehicle inside. When the vehicle is tied down from vehicle outside, hook the hooks of tie-down chain on the rear tie-down hooks from vehicle outside.






For sea transportation

CAUTION: The eye bolts are exclusively used for towing and sea transportation tie-down, and do not use them for ground and freight transportation.






- VEHICLE SINKING VOLUME AT TIE-DOWN CONDITION

CAUTION: The vehicle sinking volume at tie-down condition should be less than 50 mm (1.97 in) and make sure to fix the vehicle securely. Check to see if the tensions of chains or belts at tie-down condition are appropriate in the following procedures.

1. Before tie-down, measure the distance between the highest tire point and highest arch point at the center of wheel.
2. After tie-down, measure the distance between the highest tire point and highest arch point at the center of wheel.
3. If the distance (A) between the measured value of 1) and 2) above, is less than 50 mm (1.97 in), it is judged as OK. If the distance is 50 mm (1.97 in) or more, it is judged as NG because the tension is too high.






- NOTES FOR THE USE OF TIE-DOWN HOOK
When the vehicle is tied down from the rear side, use the holes at the rear side, and when the vehicle is tied down from the front side, use the holes at the front side.
When the vehicle is tied down from vehicle inside, hook the hooks of tie-down chain from vehicle inside, and when the vehicle is tied down from vehicle outside, hook the hooks of tie-down chain from vehicle outside.







9. TOWING
Avoid towing vehicles except when the vehicle cannot be driven. For models with AWD or AT, use a loader instead of towing. When towing other vehicles, pay attention to the following to prevent hook or vehicle damage resulting from excessive weight.
- Do not tow other vehicles with a front tie-down hook.
- Make sure the vehicle towing is heavier than the vehicle being towed.
- When towing the vehicle, install the towing hook (eye bolt).

CAUTION: When tightening the eye bolt using a wheel wrench, be careful not to scratch the bumper.






- Precautions






- Place the shift lever in "N" position during towing.
- " Do not lift up the rear wheels to avoid unsteady rotation.
- Turn the ignition key to "ACC", then check the steering wheel moves freely.
- Release the parking brake to avoid tire dragging.
- Since the power steering does not work, be careful for the heavy steering effort. (When engine is stopped)
- Since the servo brake does not work, be careful that the brake is not applied effectively. (When engine is stopped)
- In case of the malfunction of internal transmission or drive system, lift up four wheels (on a trailer) for towing.
- Do not use towing hook (eye bolt) except when towing.
- Make sure to detach the towing hook (eye bolt) after towing. If it remains attached, airbag may not operate properly when receiving a shock. And it may also affect the crash performance of the vehicle.

10. CARRIER CAR
1. Before lowering the vehicle from the carrier car, perform the following operations.

CAUTION: Always perform the following operations before lowering the vehicle from the carrier car. Otherwise, the power unit will rotate reversely, which may cause the damage to the engine, vacuum pump, and transmission.

1. Start the engine.
2. Set the transmission shift position into driving direction of the vehicle. (When the vehicle drives forward, do not set the transmission into R range. When the vehicle drives rearward, do not set the transmission into 1 - 6 speed, or D range.)

CAUTION: Be sure to perform 2) mentioned above even if the engine cannot be started in some reasons.

11. FRONT HOOD DAMPER STAY INSTALLATION
1. Always perform works such as inspections and maintenance with both damper stays attached.

CAUTION: At the inspection and general maintenance, do not detach the damper stays.






2. When wider hood opening is necessary, set the damper stay below as shown in the figure.

CAUTION:
- Do not leave one side of damper stay removed.
- Always perform works such as inspections and maintenance with both damper stays attached.
- The hood cannot be closed with the damper stay on the full open side. When it is necessary to close, tie the hood striker and the radiator panel with a string etc. to fix them.
- After work, set the damper stays back to the normal position and tighten the bolts to the specified torque.








11. TRAINING
For an information about training, contact a dealer or agent.

12. GENERAL SCAN TOOL
Using general scan tools will greatly improve the efficiency of repairing engine electronic controls. Subaru Select Monitor can be used to diagnose the engine, VDC, air conditioner and other electrically controlled parts.