Operation CHARM: Car repair manuals for everyone.
Manuals through 2025 now available!

Our trusted friends have launched a new website named LEMON, which has newer manuals. It also contains all the CHARM manuals.

LEMON is the spiritual successor to CHARM, I recommend you try it!

Link: lemon-manuals.la or lemon-manuals.org.ua

(Some people have issue connecting. LEMON is investigating. For now, use Firefox or change your DNS server)

Or, hide this message: temporarily or permanently

Timing Cover: Service and Repair

Timing Belt Cover

REMOVAL

NOTE:
When replacing a single part, perform the work with the engine assembly installed to body.

1) Remove the secondary air pump.
2) Remove the crank pulley.
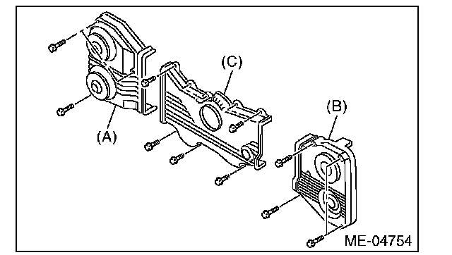
3) Remove the timing belt cover RH (A).
4) Remove the timing belt cover LH (B).
5) Remove the front timing belt cover (C).





INSTALLATION

1) Install the front timing belt cover (C).

Tightening torque:
5 Nm (0.5 kgf-m, 3.7 ft-lb)

2) Install the timing belt cover LH (B).

Tightening torque:
5 Nm (0.5 kgf-m, 3.7 ft-lb)

3) Install the timing belt cover RH (A).

Tightening torque:
5 Nm (0.5 kgf-m, 3.7 ft-lb)





4) Install the crank pulley.
5) Install the secondary air pump.

INSPECTION

Check the timing belt cover for damage.