Operation CHARM: Car repair manuals for everyone.
Manuals through 2025 now available!

Our trusted friends have launched a new website named LEMON, which has newer manuals. It also contains all the CHARM manuals.

LEMON is the spiritual successor to CHARM, I recommend you try it!

Link: lemon-manuals.la or lemon-manuals.org.ua

(Some people have issue connecting. LEMON is investigating. For now, use Firefox or change your DNS server)

Or, hide this message: temporarily or permanently

Coolant Temperature Sensor/Switch (For Computer): Testing and Inspection

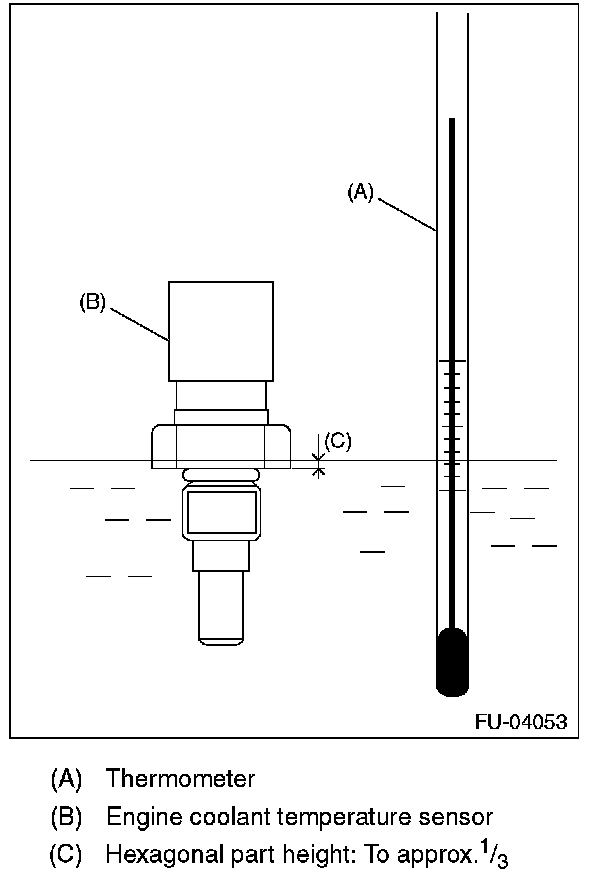
ENGINE COOLANT TEMPERATURE SENSOR

INSPECTION

1. Check that the engine coolant temperature sensor has no deformation, cracks or other damages.
2. Immerse the engine coolant temperature sensor and a thermometer in water.

CAUTION: Take care not to allow water to get into the engine coolant temperature sensor connector. Completely remove any water inside.






3. Raise water temperature gradually, measure the resistance between the engine coolant temperature sensor terminals when the temperature is 20 °C (68 °F) and 80 °C (176 °F).

NOTE: Agitate the water for even temperature distribution.