Operation CHARM: Car repair manuals for everyone.
Manuals through 2025 now available!

Our trusted friends have launched a new website named LEMON, which has newer manuals. It also contains all the CHARM manuals.

LEMON is the spiritual successor to CHARM, I recommend you try it!

Link: lemon-manuals.la or lemon-manuals.org.ua

(Some people have issue connecting. LEMON is investigating. For now, use Firefox or change your DNS server)

Or, hide this message: temporarily or permanently

Valve Clearance: Testing and Inspection

Valve Clearance

INSPECTION

1) Disconnect the ground cable from battery.





2) Remove the engine from vehicle.
3) Remove the timing belt cover RH.
4) When inspecting #1 and #3 cylinders
(1) Remove the clip (A) and the stay (B) which hold the engine harness to the rocker cover RH.





(2) Remove the ignition coil.
(3) Disconnect the PCV hose (A) and PCV hose assembly (B) from the rocker cover RH.

NOTE:
Pinch the clamp of the PCV hose (A) by fitting the cut out in the ST with the protrusion on the clamp as shown in the figure, and unlock the clamp.

ST 18353AA000 CLAMP PLIERS








(4) Remove the rocker cover RH.
5) When inspecting #2 and #4 cylinders
(1) Remove the secondary air pump.
(2) Remove the air duct B (B) from the rocker cover LH and the air duct A (A).





(3) Remove the ignition coil.
(4) Disconnect the PCV hose (A) and PCV hose assembly (B) from the rocker cover LH.

NOTE:
Pinch the clamp of the PCV hose (A) by fitting the cut out in the ST with the protrusion on the clamp as shown in the figure, and unlock the clamp.

ST 18353AA000 CLAMP PLIERS








(5) Remove the rocker cover LH.
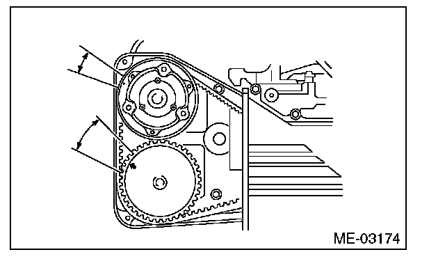
6) Turn the crank pulley clockwise until the round mark and arrow mark on the cam sprocket are set to position shown in the figure.

NOTE:
Turn the crank pulley using a socket wrench.

^ Measurement of clearance of #1 cylinder intake valve and #3 cylinder exhaust valve





^ Measurement of clearance of #2 cylinder exhaust valve and #3 cylinder intake valve





^ Measurement of clearance of #2 cylinder intake valve and #4 cylinder exhaust valve





^ Measurement of clearance of #1 cylinder exhaust valve and #4 cylinder intake valve





7) Measure the clearance of intake valve and exhaust valve using thickness gauge (A).

NOTE:
^ Insert a thickness gauge in a direction as horizontal as possible with respect to the valve lifter.
^ Lift up the vehicle, and then measure the exhaust valve clearances.
^ If the measured value is not within the inspection value, take notes of the value in order to adjust the valve clearance later on.

Valve clearance (inspection value):
Intake
0.20+0.04 -0.06 mm (0.0079+0.0016 -0.0024 in)
Exhaust
0.35±0.05 mm (0.0138±0.0020 in)





8) If necessary, adjust the valve clearance.
9) After inspection, install the related parts in the reverse order of removal.

NOTE:
^ Refer to "Camshaft" when installing the rocker cover.
^ Use a new clamp for the PCV hose (A), fit the cut out in the ST with the protrusion on the clamp as shown in the figure, and lock the clamp.

ST 18353AA000 CLAMP PLIERS








Tightening torque:
6.4 Nm (0.7 kgf-m, 4.7 ft-lb)