Operation CHARM: Car repair manuals for everyone.
Manuals through 2025 now available!

Our trusted friends have launched a new website named LEMON, which has newer manuals. It also contains all the CHARM manuals.

LEMON is the spiritual successor to CHARM, I recommend you try it!

Link: lemon-manuals.la or lemon-manuals.org.ua

(Some people have issue connecting. LEMON is investigating. For now, use Firefox or change your DNS server)

Or, hide this message: temporarily or permanently

Replacement

VDC Control Module and Hydraulic Control Unit (VDCCM&H/U)

REPLACEMENT

CAUTION:
^ Because the pressure sensor built into the H/U is easily damaged by static electricity, start the operation after performing static electricity measures.
^ Be careful not to touch the sensors in the H/U to prevent damage.
^ Because the seal of the VDCCM cannot be replaced, do not pull or peel it by lifting it up.
^ Because the screw of the H/U will become slightly worn in every replacement procedure, 5 times is the maximum number of times for replacement. If a problem is found such as not being able to torque the screw to specifications even before 5 replacement operations are performed, replace the H/U body.
^ When installing the VDCCM, always use new screws.
^ When the sealing surface of the VDCCM or H/U is dirty or damaged and it cannot be cleaned or repaired, replace with a new part.


1) Remove the VDCCM&H/U.
2) To prevent entry of foreign objects and brake fluid leakage, plug the oil pressure port of the VDCCM&H/U using a screw plug, etc.
3) Set the pump motor section of the removed VDCCM&H/U face down on a vise.

NOTE:
Before securing a part on a vise, place cushioning material such as wood blocks, aluminum plate, or cloth between the part and the vise.





4) Using TORX(R) bit E5, remove the four screws of VDCCM.

NOTE:
These screws cannot be reused.





5) Slowly pull out the VDCCM upward from the H/U.

NOTE:
To prevent damaging of coil section, remove the VDCCM straight up from H/U without twisting.

6) Make sure there is no dirt or damage on the sealing surface of the H/U.

CAUTION:
^ Do not clean the VDCCM&H/U by applying compressed air.
^ Even if damage is found on the H/U seal, do not attempt repair by filing or with a metal scraper. To remove the seal residue, always use a plastic scraper. Do not use chemical such as paint thinner, etc., to clean.


7) Position the coil of the new VDCCM to align with the H/U valve.
8) To prevent deformation of the VDCCM housing cover, hold the corner of VDCCM and install it to the H/U without tilting.
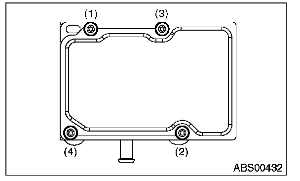
9) Using a TORX(R) bit E5, attach/tighten new screws in the order of (1) through (4).

CAUTION:
Always use new screws.

Tightening torque:
1.5 Nm (0.15 kgf-m, 1.1 ft-lb)





10) Check that there is no foreign matter in mating surface between the VDCCM&H/U.
11) Using a TORX(R) bit E5, tighten the screws in the order of (1) through (4) again.

Tightening torque:
3 Nm (0.31 kgf-m, 2.2 ft-lb)

12) Check that there is no gap in the mating surface between VDCCM&H/U.
13) Install the VDCCM&H/U to the vehicle.
14) Bleed air from the brake system.
15) Perform the selection registration operation of parameter. Scan Tool Testing and Procedures

NOTE:
^ After replacing the VDCCM, be sure to perform the selection registration operation of parameter.
^ For the selection and registration of parameter, the Subaru Select Monitor is required.
^ When the registration has not been performed, the DTC code "Parameter selection error" is detected together with the ABS/EBD/VDC warning light illumination.

16) Check the parameter to confirm that the applied models and grades of the relevant vehicle are included. Scan Tool Testing and Procedures
17) If the applied models and grades of the relevant vehicle are not included, perform the selection registration operation of parameter with the {Confirm on parameter} screen again. Scan Tool Testing and Procedures
18) Execute Clear Memory after parameter selection and registration operations because the DTC for "Parameter selection error" is memorized.