Operation CHARM: Car repair manuals for everyone.
Manuals through 2025 now available!

Our trusted friends have launched a new website named LEMON, which has newer manuals. It also contains all the CHARM manuals.

LEMON is the spiritual successor to CHARM, I recommend you try it!

Link: lemon-manuals.la or lemon-manuals.org.ua

(Some people have issue connecting. LEMON is investigating. For now, use Firefox or change your DNS server)

Or, hide this message: temporarily or permanently

Part 4

Cylinder Block (Part 4)





CONNECTING ROD

1) Check that the large or small end thrust surface is not damaged.
2) Install the connecting rod to the crankshaft, and check the thrust clearance using a thickness gauge. If it is not within the standard, replace the connecting rod.

NOTE:
^ Do not forget to install the connecting rod bearing and the connecting rod cap bearing, when installing the connecting rod to the crankshaft.
^ Measurement should be performed at a temperature of 20°C (68°F).
^ Measure the thrust clearance of each connecting rod at several points, and replace the connecting rod if there is uneven wear.

Connecting rod thrust clearance:
Standard
0.070 - 0.330 mm (0.0028 - 0.0130 in)





3) Check for bend or twist using a connecting rod aligner. If it exceeds the limit, replace the connecting rod.

Limit of bend or twist per 100 mm (3.94 in) in length:
0.10 mm (0.0039 in)





4) Inspect the connecting rod bearing for scar, peeling, seizure, melting or wear, etc.
5) Check the oil clearance on each connecting rod bearing using Plastigage(R). If it is not within the standard, replace the connecting rod bearing.

NOTE:
^ Measurement should be performed at a temperature of 20°C (68°F).
^ Measure the outer diameter of crank pin using micrometer, and select the suitable size connecting rod bearing when replacing the connecting rod bearing.





Connecting rod oil clearance:
Standard
0.017 - 0.047 mm (0.0007 - 0.0019 in)

6) Check that the connecting rod bushing is not damaged.
7) Check the clearance between piston pin and connecting rod bushing. Check the clearance between piston pin and connecting rod bushing by measuring the outer diameter of piston pin and the inner diameter of connecting rod bushing respectively.
(1) Measure the outer diameter of piston pin with a micrometer.

NOTE:
^ Measurement should be performed at a temperature of 20°C (68°F).
^ Record the measured value.





(2) Using a caliper gauge, measure the inner diameter of connecting rod bushing.

NOTE:
^ Measurement should be performed at a temperature of 20°C (68°F).
^ Record the measured value.





(3) Calculate the clearance between piston pin and connecting rod bushing.

Clearance between piston pin and connecting rod bushing:
Standard
0.004 - 0.026 mm (0.0002 - 0.0010 in)

8) If the clearance between piston pin and connecting rod bushing is not within the standard, replace the connecting rod bushing and piston pin as a set. For replacement procedure of connecting rod bushing, refer to the following.
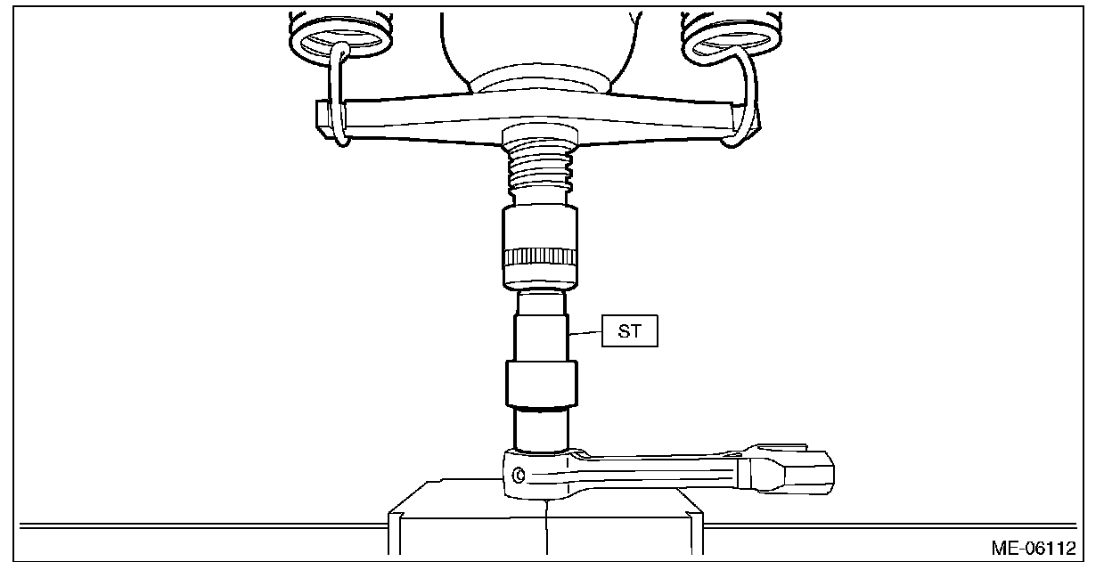
(1) Using the ST and a press, pull out the connecting rod bushing from the small end of the connecting rod.

NOTE:
The direction of ST for pulling out and for press fitting is different. Therefore, attention must be paid to the direction of usage for ST.

ST 18350AA000 CONNECTING ROD BUSHING REMOVER AND INSTALLER





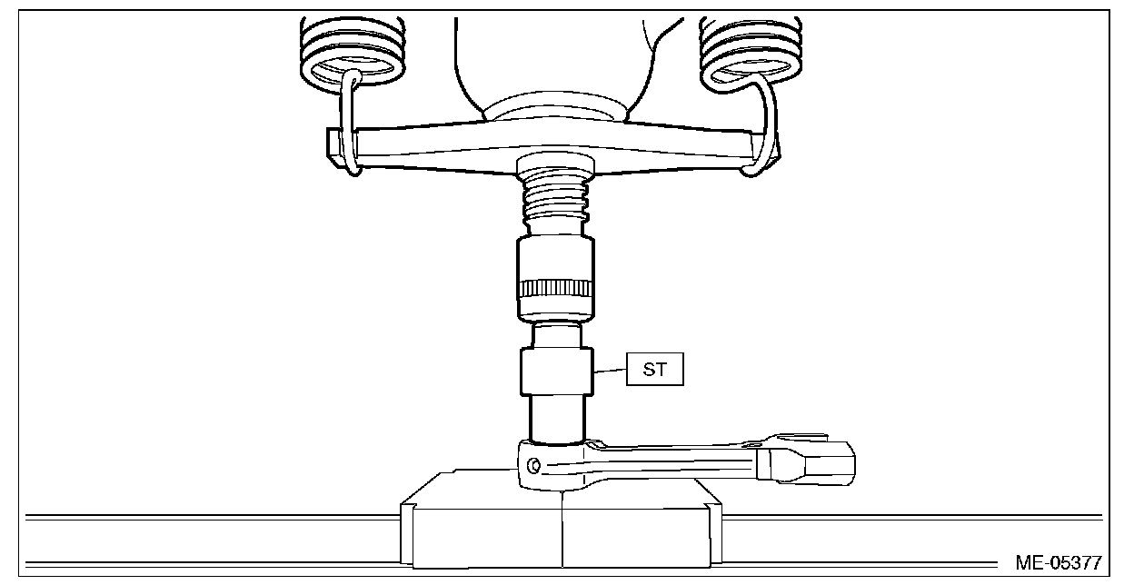
(2) Press the connecting rod bushing with ST and the press, after applying engine oil on the periphery of connecting rod bushing.

NOTE:
^ Clinch area of the connecting rod bushing is as shown in the figure.





^ The direction of ST for pulling out and for press fitting is different. Therefore, attention must be paid to the direction of usage for ST.

ST 18350AA000 CONNECTING ROD BUSHING REMOVER AND INSTALLER





(3) Make two 3 mm (0.12 in) holes in the pressed connecting rod bushing by aligning with the pre-manufactured holes provided on the small end of the connecting rod.
(4) Using a reamer, ream the inside surface of the connecting rod bushing. Insert the reamer in the connecting rod bushing, and turn slowly clockwise while pushing lightly. Bring the reamer back while rotating it clockwise.

NOTE:
^ Use a reamer with a diameter of f22.
^ Apply engine oil to the reamer.
^ If the inner surface of valve guide is damaged, the edge of reamer should be slightly ground with oil stone.
^ If the inner surface of connecting rod bushing becomes lustrous and the reamer does not chip, use a new reamer or remedy the reamer.

(5) After completion of reaming, clean the connecting rod bushing to remove chips.

CRANKSHAFT AND CRANKSHAFT BEARING

1) Clean the crankshaft completely, and check it for cracks using liquid penetrant tester.
2) Using a dial gauge, check the crankshaft bend. If it exceeds the limit, grind to correct or replace the crankshaft.

NOTE:
^ If a suitable V-block is not available, using just the #1 and #5 crankshaft bearings on cylinder block, position the crankshaft on cylinder block. Then, measure the crankshaft bend using a dial gauge.
^ Measurement should be performed at a temperature of 20°C (68°F).
^ When grinding to correct the crankshaft, refer to step 3).

Crankshaft bend limit:
0.035 mm (0.0014 in)





3) Using micrometer, check the outer diameter of crank journal and crank pin, cylindricality, out-of-roundness. If it is not within the standard, replace the connecting rod bearing or crankshaft bearing, and grind to correct or replace the crankshaft as required.
^ Measurement should be performed at a temperature of 20°C (68°F).
^ Select the suitable size connecting rod bearing or crankshaft bearing when replacing the connecting rod bearing or crankshaft bearing.
^ When grinding to correct the crank journal or crank pin, finish them to the suitable dimensions as shown in the table below according to the undersize bearing to be used.





Crank pin and crank journal:
Cylindricality
Limit
0.006 mm (0.0002 in)
Out-of-roundness
Limit
0.005 mm (0.0002 in)
Grinding limit (dia.)
Crank pin: To 47.726 mm (1.8790 in)
Crank journal: To 67.735 mm (2.6667 in)





4) Inspect the crankshaft bearing for scar, peeling, seizure, melting or wear, etc.
5) Use a thickness gauge to check the thrust clearance of crankshaft at #5 crankshaft bearing. If it is not within the standard, replace the #5 crankshaft bearing.
^ Measurement should be performed at a temperature of 20°C (68°F).
^ Select the suitable size by referring to step 3) when replacing #5 crankshaft bearing.

Crankshaft thrust clearance:
Standard
0.130 - 0.308 mm (0.00512 - 0.01213 in)





6) Check the oil clearance on each crankshaft bearing using Plastigage(R). If it is not within the standard, replace the crankshaft bearing, and grind to correct or replace the crankshaft as required.
^ Measurement should be performed at a temperature of 20°C (68°F).
^ Select the suitable size by referring to step 3) when replacing crankshaft bearing.
^ When grinding to correct the crank journal, finish it to the suitable dimensions by referring to step 3) according to the undersize bearing to be used.

Crankshaft oil clearance:
Standard
0.013 - 0.031 mm (0.00051 - 0.00122 in)