Manuals through 2025 now available!
Our trusted friends have launched a new website named LEMON, which has newer manuals. It also contains all the CHARM manuals.
LEMON is the spiritual successor to CHARM, I recommend you try it!
Link:
lemon-manuals.la or
lemon-manuals.org.ua
(Some people have issue connecting. LEMON is investigating. For now, use Firefox or change your DNS server)
Or, hide this message:
temporarily or
permanently
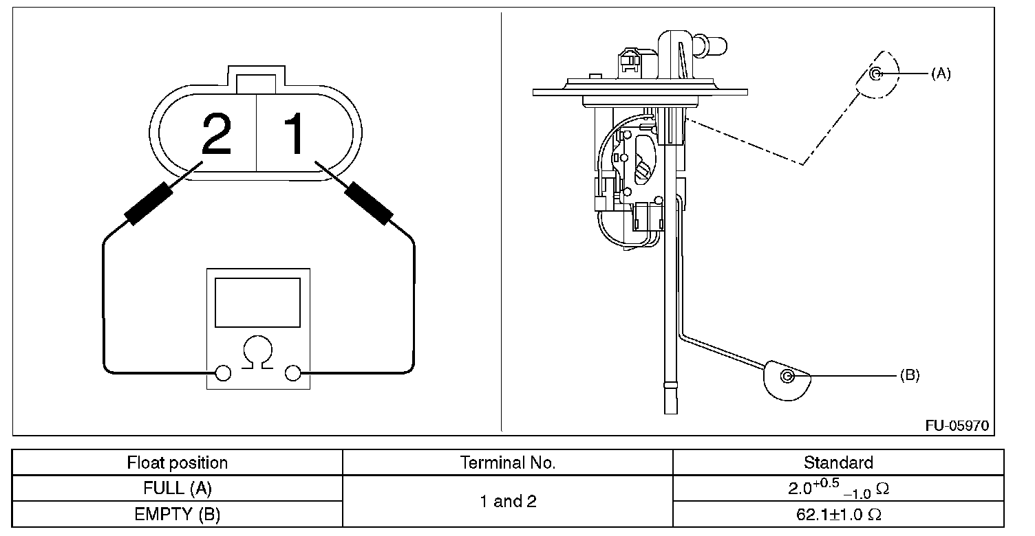
Fuel Sub Level Sensor
FUEL SUB LEVEL SENSORINSPECTION 1.
Check that the fuel sub level sensor has no damage.
2.
Measure the fuel sub level sensor float position.
3.
Measure the resistance between fuel sub level sensor terminals.