Operation CHARM: Car repair manuals for everyone.
Manuals through 2025 now available!

Our trusted friends have launched a new website named LEMON, which has newer manuals. It also contains all the CHARM manuals.

LEMON is the spiritual successor to CHARM, I recommend you try it!

Link: lemon-manuals.la or lemon-manuals.org.ua

(Some people have issue connecting. LEMON is investigating. For now, use Firefox or change your DNS server)

Or, hide this message: temporarily or permanently

Evaporative Emissions System: Service and Repair

FUEL DELIVERY AND EVAPORATION LINES

REMOVAL






WARNING: Place "NO OPEN FLAMES" signs near the working area.

CAUTION: Be careful not to spill fuel.

1. Release the fuel pressure.
2. Open the fuel filler lid and remove the fuel filler cap..
3. Remove the floor mat.
4. In the engine compartment, disconnect the fuel delivery hoses and evaporation hose.

CAUTION:
- Be careful not to spill fuel.
- Catch the fuel from hoses using a container or cloth.


1. Set the ST to the fuel pipe.
ST 42099AE000 QUICK CONNECTOR RELEASE

2. Disconnect the quick connector of the fuel delivery hose by pushing the ST in the direction of the arrow.
3. Remove the clip and disconnect the evaporation hose from the fuel pipe.






5. Remove the canister.
6. Remove the fuel tank.
7. Remove the fuel pipe assembly from vehicle.
8. Disconnect the quick connector, and disconnect the fuel delivery tube and jet pump tube from the fuel tank.

- When using ST
1. Attach ST to the pipe and push ST in the direction of arrow mark to disconnect the quick connector.
ST 42099AE000 QUICK CONNECTOR RELEASE

CAUTION:
- Be careful not to spill fuel.
- Catch the fuel from hoses using a container or cloth.
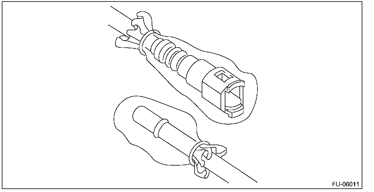
- To disconnect the connector, hold (C) shown in the figure and pull in axial direction.
- If the connector and pipe are sticking to each other, push and pull the connector with ST pushed, and then pull the connector after it starts moving freely.
- When disconnecting the connector, do not bend or twist the tube forcibly. If the tube is bent, replace with a new part.

NOTE:
Clean the pipe and quick connector, if they are covered with dust.






2. To prevent from damaging or entering foreign matter, wrap the pipes and quick connectors with plastic bag etc.

CAUTION: When reusing the retainer, do not disconnect the retainer from the connector.






- When not using ST
1. Push the retainer in the direction of the arrow, disconnect the quick connector from pipe.

CAUTION:
- Be careful not to spill fuel.
- Catch the fuel from hoses using a container or cloth.
- To disconnect the connector, hold (D) shown in the figure and pull in axial direction.
- If the connector and pipe are sticking to each other, push and pull the connector with the retainer pushed in the direction of the arrow, and then pull the connector after it starts moving freely.
- When disconnecting the connector, do not bend or twist the tube forcibly. If the tube is bent, replace with a new part.

NOTE:
Clean the pipe and quick connector, if they are covered with dust.






2. To prevent from damaging or entering foreign matter, wrap the pipes and quick connectors with plastic bag etc.

CAUTION: When reusing the retainer, do not disconnect the retainer from the pipe.






9. Remove the evaporation pipe.
1. Remove the rear mud guard RH.
2. Disconnect the evaporation hose.






3. Remove the right side rear quarter trim.
4. Remove the evaporation pipe protector.






5. Remove the evaporation pipe from vehicle.






INSTALLATION

Install in the reverse order of removal while being careful of the following.

1. EVAPORATION PIPE INSTALLATION
1. Install the evaporation pipe to the vehicle.

Tightening torque: 7.5 N.m (0.8 kgf-m, 5.5 ft-lb)






2. Install the evaporation pipe protector.

Tightening torque: 7.5 N.m (0.8 kgf-m, 5.5 ft-lb)






3. Install the right side rear quarter trim.
4. Connect the evaporation hose.






5. Install the rear mud guard RH.

2. CONNECTING THE FUEL LINE QUICK CONNECTOR

CAUTION:
- Make sure there are no damage or dust on connections. If necessary, clean seal surface of pipe.






- When reusing the retainer, make sure that neither scratches nor deformation exist on the retainer. If it is faulty, use a new part.


1. Connect the quick connector to pipe.

CAUTION:
- Make sure that the quick connector is securely connected.






- Make sure the two retainer pawls are engaged in their mating positions in the quick connector.
- Be sure to inspect tubes and their connections for any leakage of fuel.
- To connect the connector, hold (d) shown in the figure and push in axial direction.
- When connecting the connector, do not bend or twist the tube forcibly. If the tube is bent, replace with a new part.







3. EVAPORATION HOSE CONNECTION
Connect the evaporation hose to the pipe with an overlap of 15 to 20 mm (0.59 to 0.79 in).

L = 17.5 ± 2.5 mm (0.689 ± 0.098 in)