Operation CHARM: Car repair manuals for everyone.
Manuals through 2025 now available!

Our trusted friends have launched a new website named LEMON, which has newer manuals. It also contains all the CHARM manuals.

LEMON is the spiritual successor to CHARM, I recommend you try it!

Link: lemon-manuals.la or lemon-manuals.org.ua

(Some people have issue connecting. LEMON is investigating. For now, use Firefox or change your DNS server)

Or, hide this message: temporarily or permanently

Disassembly

DISASSEMBLY

To detect the real cause of trouble, inspect the following items before disassembling.
- Tooth contact and backlash between hypoid driven gear and drive pinion
- Hypoid driven gear runout on its back surface
- Total preload of drive pinion

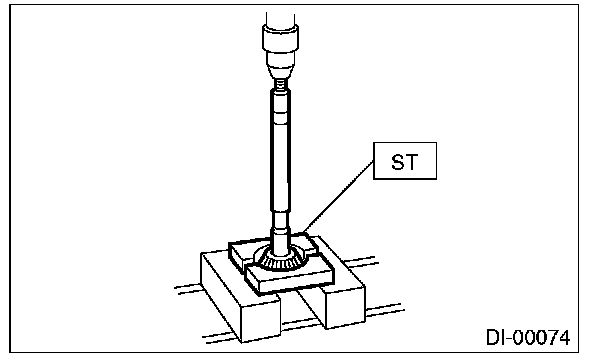
1) Set the ST on vise and install the differential assembly to ST.
ST 398217700 ATTACHMENT SET





2) Remove the drain plug and filler plug, and drain the gear oil.
3) Remove the air breather cap.

NOTE:
- Do not attempt to replace the air breather cap unless necessary.
- Whenever the air breather cap is removed, replace it with a new part.





4) Remove the bolts, and then remove the rear cover.
5) Remove the side retainer attachment bolts, set the ST to differential case, and extract the side retainers RH and LH with a puller.

NOTE:
- Side retainer shim of each side should be kept together with its mating retainer.
- Keep the side retainers separate by attaching tags or in similar ways to make it possible to identify RH and LH sides.

ST 398457700 ATTACHMENT





6) Pull out the differential case assembly from the differential carrier.

NOTE:
Be careful not to hit the teeth of hypoid driven gear against the differential carrier.





7) Remove the oil seal and O-ring from the side retainer.
8) When replacing the side bearing, remove the bearing cup from the side retainer using ST.
ST 398527700 PULLER ASSY





9) Using the ST, remove the bearing cone.

NOTE:
- Do not attempt to disassemble the parts unless necessary.
- Set the puller so that its claws catch the edge of the bearing cone.
- Never mix up the RH and LH bearing races and cones.

ST 18759AA000 PULLER ASSY





10) Remove the hypoid driven gear by loosening hypoid driven gear bolts.





11) Remove the pinion shaft lock pin from driven gear side using ST.
ST 899904100 STRAIGHT PIN REMOVER





12) Draw out the pinion mate shaft, and remove pinion mate gears, pinion mate gear washers, side gears, and thrust washers.

NOTE:
The gears and thrust washers should be marked or kept separately right and left, and front and rear.





13) Remove the self-locking nut while holding the companion flange with ST.
ST 498427200 FLANGE WRENCH





14) Extract the companion flange with a puller.





15) Press the end of drive pinion shaft by using the ST, and remove the drive pinion shaft, rear bearing cone, preload adjusting spacer and washer.

NOTE:
Hold the drive pinion so as not to drop it.

ST 398467700 DRIFT





16) Remove the rear bearing cone from drive pinion by supporting the cone with ST.

NOTE:
Place the replacer so that its center-recessed side faces the bearing cone.

ST 398517700 REPLACER





17) Remove the front oil seal from differential carrier using ST.
ST 398527700 PULLER ASSY





18) Remove the pilot bearing together with the front bearing cone and spacer using the ST.
ST 398467700 DRIFT





19) When replacing the bearings, use a brass bar to tap out the front bearing cup and rear bearing cup (in this order).