Operation CHARM: Car repair manuals for everyone.
Manuals through 2025 now available!

Our trusted friends have launched a new website named LEMON, which has newer manuals. It also contains all the CHARM manuals.

LEMON is the spiritual successor to CHARM, I recommend you try it!

Link: lemon-manuals.la or lemon-manuals.org.ua

(Some people have issue connecting. LEMON is investigating. For now, use Firefox or change your DNS server)

Or, hide this message: temporarily or permanently

Wiper and Washer Systems: Tools and Equipment

GENERAL DESCRIPTION

PREPARATION TOOL

1. SPECIAL TOOL






2. GENERAL TOOL






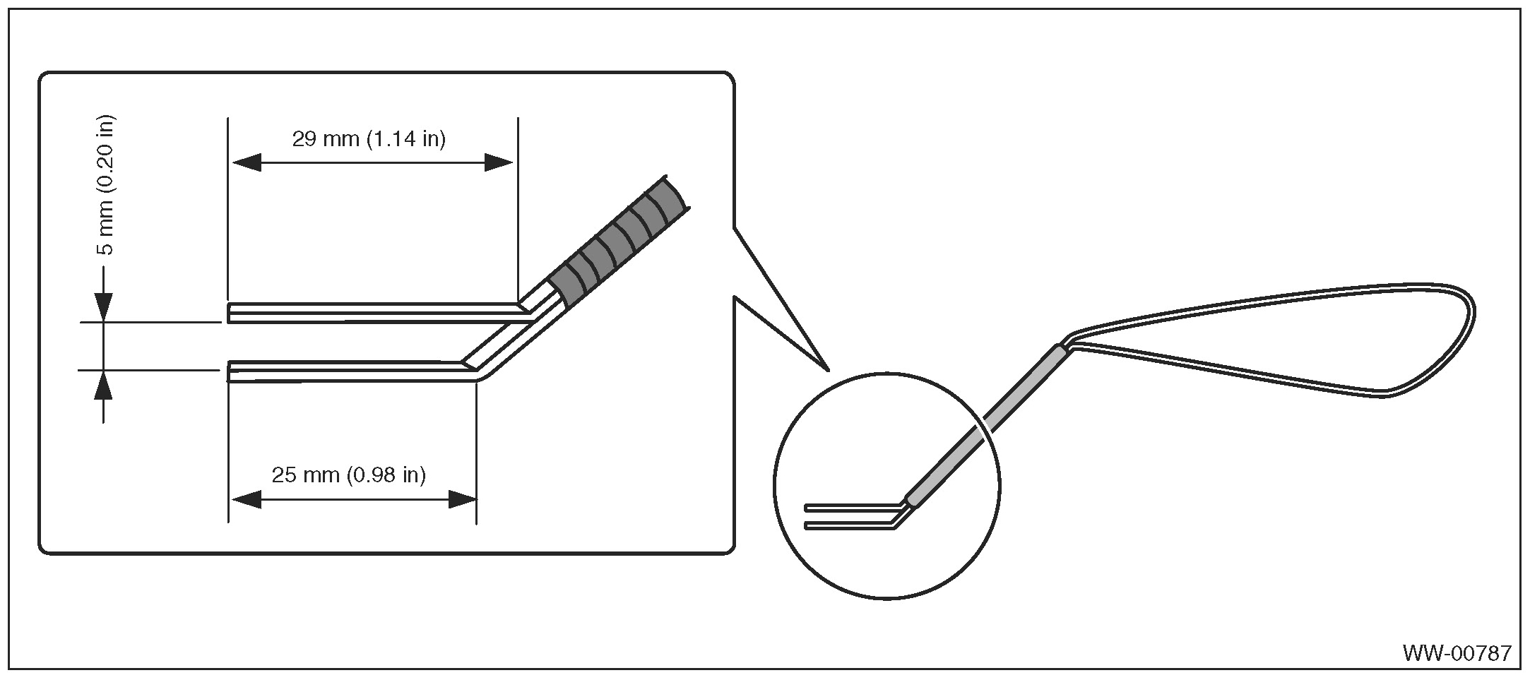
NOTE: Refer to the data described below, prepare the materials to make a front washer nozzle adjustment tool.






Materials
- Vertebra of wiper blade which is to be discarded
- Vinyl tape

Steps of making a front washer nozzle adjustment tool






1. Bend the vertebra at the position 25 mm (0.98 in) away from its end by 45°.
2. Bend the vertebra at the position 29 mm (1.14 in) away from the other end by 45°.
3. Double up the vertebra so that the longer end (29 mm (1.14 in)) comes upward.
4. Secure the vertebra with a vise (a) so that the tip clearance becomes 5 mm (0.20 in).
5. Bend the vertebra at the position approximately 90 mm (3.54 in) away from the bending point for the longer end.
6. Check that the tip clearance is 5 mm (0.20 in), and secure the vertebra with vinyl tape (b).