Operation CHARM: Car repair manuals for everyone.
Manuals through 2025 now available!

Our trusted friends have launched a new website named LEMON, which has newer manuals. It also contains all the CHARM manuals.

LEMON is the spiritual successor to CHARM, I recommend you try it!

Link: lemon-manuals.la or lemon-manuals.org.ua

(Some people have issue connecting. LEMON is investigating. For now, use Firefox or change your DNS server)

Or, hide this message: temporarily or permanently

Part 1

CYLINDER BLOCK 1








CYLINDER BLOCK 2





Cylinder Block

REMOVAL

1) Remove the engine from the vehicle.
2) Remove the intake manifold.
3) Remove the tumble generator valve assembly.
4) Remove the chain cover.
5) Remove the rocker cover.
6) Remove the cam carrier.
7) Remove the cylinder head.
8) Remove the crank sprocket.
9) Remove the engine rear hanger from cylinder block RH.





10) Remove the bolts securing the water pipe assembly and PCV connector to the cylinder block, and remove the water pipe assembly and PCV connector as a set from cylinder block.





11) Remove the O-ring from the cylinder block and PCV connector.





12) Remove the knock sensor from cylinder block LH.





13) Remove the vacuum hose from the PCV valve.





14) Remove the PCV valve from the cylinder block RH.





15) Remove the crankshaft position sensor plate with drive plate. (CVT model)
16) Remove the clutch disc and cover. (MT model)
17) Remove the crankshaft position sensor plate with flywheel. (MT model)
18) Remove the bolts securing the crankshaft position sensor holder from the cylinder block LH, and remove the crankshaft position sensor with crankshaft position sensor holder.





19) Set the cylinder block so that the oil pan is on the upper side, remove the ST1, ST2, ST3 and ST4 from cylinder block and oil pan upper.
ST1 498457000 ENGINE STAND ADAPTER RH
ST2 498457100 ENGINE STAND ADAPTER LH
ST3 18362AA020 ADAPTER
ST4 499817100 ENGINE STAND





20) Remove the thermostat cover from oil pan upper, and then remove the thermostat.





21) Remove the oil pan upper with oil pan from cylinder block.





22) Remove the O-ring from the cylinder block.





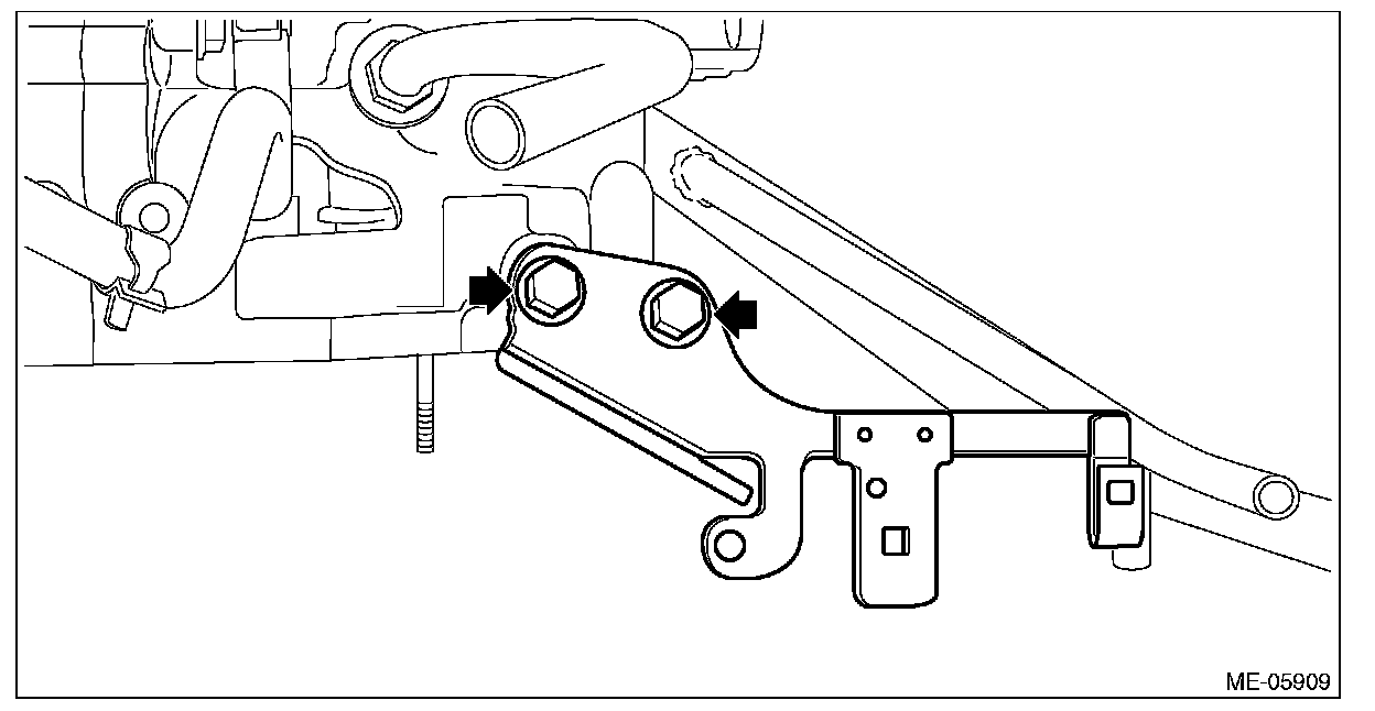
23) Install the mounting bolts for the A/C compressor and the generator bracket at the locations shown in the figure.

NOTE:
- This procedure is required to prevent the knock pin damage when the cylinder block is raised in the next step.
- Use the same length bolt for the four bolts.





24) Raise the cylinder block so that the rear oil seal is on the lower side.
25) Remove the #1 and #4 connecting rod caps and pistons from the cylinder block.

NOTE:
Mark each connecting rod cap and piston with a cylinder number.

(1) Turn the crankshaft so that the #1 connecting rod cap (A) and #4 connecting rod cap (B) is located at the position shown in the figure using ST.
ST 18252AA000 CRANKSHAFT SOCKET





(2) Using ST, loosen the #1 connecting rod cap bolt, and remove the #1 connecting rod cap bolt and #1 connecting rod cap.
ST 18270AA010 SOCKET





(3) Using ST, loosen the #4 connecting rod cap bolt, and remove the #4 connecting rod cap bolt and #4 connecting rod cap.
ST 18270AA010 SOCKET





(4) Using the ST, turn the crankshaft clockwise and separate the positions of the #1 pin (A) of crankshaft and the large end (B) of #1 connecting rod.
ST 18252AA000 CRANKSHAFT SOCKET





(5) Push the #1 connecting rod in the direction of the arrow, and remove the #1 piston with #1 connecting rod from the cylinder block.





(6) Using the ST, turn the crankshaft counterclockwise and separate the positions of the #4 pin (A) of crankshaft and the large end (B) of #4 connecting rod.
ST 18252AA000 CRANKSHAFT SOCKET





(7) Push the #4 connecting rod in the direction of the arrow, and remove the #4 piston with #4 connecting rod from the cylinder block.





26) Remove the #2 and #3 connecting rod caps and pistons from the cylinder block.

NOTE:
Mark each connecting rod cap and piston with a cylinder number.

(1) Turn the crankshaft so that the #2 connecting rod cap (A) and #3 connecting rod cap (B) is located at the position shown in the figure using ST.
ST 18252AA000 CRANKSHAFT SOCKET





(2) Using ST, loosen the #2 connecting rod cap bolt, and remove the #2 connecting rod cap bolt and #2 connecting rod cap.
ST 18270AA010 SOCKET





(3) Using ST, loosen the #3 connecting rod cap bolt, and remove the #3 connecting rod cap bolt and #3 connecting rod cap.
ST 18270AA010 SOCKET





(4) Using the ST, turn the crankshaft counterclockwise and separate the positions of the #2 pin (A) of crankshaft and the large end (B) of #2 connecting rod.
ST 18252AA000 CRANKSHAFT SOCKET





(5) Push the #2 connecting rod in the direction of the arrow, and remove the #2 piston with #2 connecting rod from the cylinder block.





(6) Using the ST, turn the crankshaft clockwise and separate the positions of the #3 pin (A) of crankshaft and the large end (B) of #3 connecting rod.
ST 18252AA000 CRANKSHAFT SOCKET





(7) Push the #3 connecting rod in the direction of the arrow, and remove the #3 piston with #3 connecting rod from the cylinder block.





27) Set the cylinder block so that the oil pan side faces upward, and remove the mounting bolts for A/C compressor and the generator bracket attached to the locations shown in the figure.





28) Set the part so that the cylinder block RH is on the upper side, and separate the cylinder block.

CAUTION:
- Place a wood board wrapped with a waste cloth to prevent the knock pin damage and to stabilize the cylinder block before work.
- Be careful not to scratch the mating surface of cylinder block during work.


(1) Remove the bolt shown in the figure.





(2) Loosen the cylinder block mounting bolts in numerical order as shown in the figure, and separate the cylinder block RH and LH.

NOTE:
Lift the cylinder block RH slightly, and confirm that the crankshaft is remaining in the cylinder block LH. If the cylinder block RH is lifted carelessly when separating, the crankshaft may stick to cylinder block RH, then fall off.





29) Remove the crankshaft from cylinder block LH, and remove the rear oil seal.
30) Remove the O-ring from the cylinder block LH.





31) Remove the crankshaft bearings from the cylinder block.

NOTE:
- Be careful not to confuse the crankshaft bearing combination.
- Press the bearing at the end opposite to locking lip (A).





32) Remove the liquid gasket from cylinder block.