Operation CHARM: Car repair manuals for everyone.
Manuals through 2025 now available!

Our trusted friends have launched a new website named LEMON, which has newer manuals. It also contains all the CHARM manuals.

LEMON is the spiritual successor to CHARM, I recommend you try it!

Link: lemon-manuals.la or lemon-manuals.org.ua

(Some people have issue connecting. LEMON is investigating. For now, use Firefox or change your DNS server)

Or, hide this message: temporarily or permanently

Evaporative Emissions System: Service and Repair

Fuel Delivery and Evaporation Lines

REMOVAL






WARNING: Place "NO OPEN FLAMES" signs near the working area.

CAUTION: Be careful not to spill fuel.


1. Release the fuel pressure. Service and Repair
2. Open the fuel filler lid and remove the fuel filler cap.
3. Remove the floor mat.
4. In the engine compartment, disconnect the fuel delivery hoses and evaporation hose.

CAUTION:
- Be careful not to spill fuel.
- Catch the fuel from hoses using a container or cloth.

1. Set the ST to the fuel pipe.
ST 42099AE000 QUICK CONNECTOR RELEASE
2. Disconnect the quick connector of the fuel delivery hose by pushing the ST in the direction of the arrow.
3. Remove the clip and disconnect the evaporation hose from the fuel pipe.






5. Remove the fuel tank.
6. Disconnect the quick connector, and remove the fuel delivery tube and jet pump tube from the fuel tank.

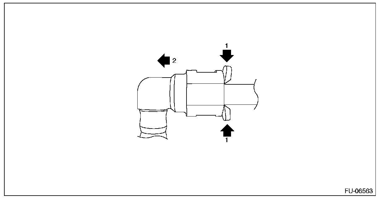
NOTE: Disconnect the quick connector as shown in the figure.






7. Disconnect the quick connector and remove the purge pipe.

NOTE: Disconnect the quick connector as shown in the figure.










8. Remove the fuel pipe assembly from vehicle.

INSTALLATION
Install in the reverse order of removal while being careful of the following.

1. INSTALLING THE EVAPORATION LINE QUICK CONNECTOR

CAUTION:
- Check that there is no damage or dust on the quick connector. If necessary, clean the seal surface of the pipe.
- Make sure that the quick connector is securely connected.

NOTE:
Connect the quick connector as shown in the figure.






2. CONNECTING THE FUEL LINE QUICK CONNECTOR

CAUTION:
- Check that there is no damage or dust on the quick connector. If necessary, clean the seal surface of the pipe.
- When connecting the quick connector, make sure to insert the pipe all the way in before locking the slider.
- When it is difficult to lock the slider, check that the pipe is fully inserted.
- Make sure that the quick connector is securely connected.






3. EVAPORATION HOSE CONNECTION

Connect the evaporation hose by inserting it to the pipe until the hose reaches the spool or bump.

NOTE: If there is no spool nor bump, connect the evaporation hose by inserting it at 28 mm (1.1 in) to the pipe.